Item #1006360534 1006358187
Model #65133 65135
USE AND CARE GUIDE
3-LIGHT LINEAR CHANDELIER
THANK YOU
We appreciate the trust and confidence you have placed in Hampton Bay through the purchase of this light fixture. We strive to continually create quality products designed to enhance your home. Visit us online to see our full line of products available for your home improvement needs.
Thank you for choosing Hampton Bay!
Safety Information
IMPORTANT SAFETY INSTRUCTIONS
Review these basic electrical guidelines before you begin this installation.
- Use tools with insulated handles and ladders made of wood or fiberglass.
- Keep dry-chemical fire extinguishers in the kitchen, basement, and workshop.
- Never disable grounding devices. Ensure all appliances that require grounding are properly grounded.
- Meet or exceed all electrical code requirements that cover the work you are doing.
- Always work with enough light to see what you are doing. It is easy to make a mistake when you work in dim light.
- When in doubt about the safety of any electrical repair or test, call in a professional.
WARNING: Before touching any wire, use a voltage tester to ensure it is not live.
WARNING: When you check for voltage in a receptacle, check both outlets as each may be controlled by a separate wiring circuit.
WARNING: Before working on a circuit, go to the main service panel and remove the fuse or trip the breaker that controls the circuit.
WARNING: When replacing fuses, turn off the main power first. Make sure your hands and feet are dry and place one hand behind your back to prevent electricity from making a complete circuit through your chest. Touch a plug fuse only by its insulated rim. Remove cartridge fuses with a fuse impeller.
WARNING: Consult a qualified electrician to ensure the correct branch circuit conductor.
CAUTION: Changes or modifications to this unit not expressly approved by the party responsible for compliance could void the user’s authority to operate the equipment.
Warranty
3-YEAR LIMITED WARRANTY
The manufacturer warrants this lighting fixture to be free from defects in materials and workmanship for a period of three (3) years from the date of purchase. If within this period the product is found to be defective in material or workmanship, the product must be returned, with a copy of the bill of sale as proof of purchase, to the original place of purchase. The manufacturer will, at its option, repair, replace, or refund the purchase price to the original purchaser or consumer. This warranty does not cover light bulbs or the fixture becoming damaged due to misuse, accidental damage, improper handling, and/or installation, and specially excludes liability for direct, incidental, or consequential damages. As some provinces do not allow exclusions or limitations on an implied warranty, the above exclusions and limitations may not apply. This warranty gives you specific rights and you may also have other rights that vary from province to province.
Contact the Customer Service Team at 1-855-HD-HAMPTON or visit www.HAMPTONBAY.com.
Pre-Installation
PLANNING INSTALLATION
Compare all parts with the Hardware Included and Package Contents sections. If any part appears missing or damaged, do not install this product and contact the Customer Service team at 1-855-HD-HAMPTON.
TOOLS REQUIRED

HARDWARE INCLUDED
NOTE: Hardware not shown to actual size.

| Part | Description | Quantity |
| AA | Mounting bracket | 1 |
| BB | Wood screw | 2 |
| CC | Wire connector | 3 |
| DD | Outlet box screw | 2 |
| EE | Butterfly screw | 2 |
| FF | Reinforcing plate | 1 |
| GG | Wall anchor | 2 |
Pre-Installation (continued)
PACKAGE CONTENTS

| Part | Description | Quantity |
| A | Canopy | 1 |
| B | Decorative nut | 2 |
| C | Swivels | 2 |
| D | Rod | 6 |
| E | Ring | 3 |
| F | Decorative Ring | 3 |
| G | Glass shade | 3 |
| H | Socket ring | 3 |
| I | Medium base bulb (not included) | 3 |
Installation
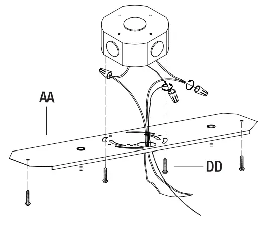
Installing the mounting strip
- Make sure the power is off.
- Pull the supply wires out of the outlet box.
- Install the mounting screws on the mounting bracket (AA) so they protrude away from the outlet box.
- Secure the mounting bracket (M) to the outlet box using the outlet box screws (DD).

Making the electrical connections
- Attach the ground wire from the outlet box to the ground screw on the mounting crossbar, which is green and marked with “GND”.
- Connect the negative wire (white) from the fixture to the negative wire from the supply circuit, the positive wire (black) from the fixture to the positive wire from the supply circuit, and the ground wire (bare) from the fixture to the ground wire from the supply circuit.
- Secure all connections with the wire connectors (CC) and wrap the electrical tape (not included) around the wire connectors (CC).
- Push all excess wire and wire connections back into the outlet box.

Attaching the mounting bracket
- Using an electrical drill (not included), drill holes into the ceiling for anchors (GG).
- Tap anchors (GG) with a hammer (not included) until the anchors (GG) are flush with the wall.
- Place wood screws (BB) through the holes in the mounting bracket (AA).
- Screw wood screws (BB) into anchors (GG) to secure the mounting bracket (AA) to the ceiling

Installation (continued)
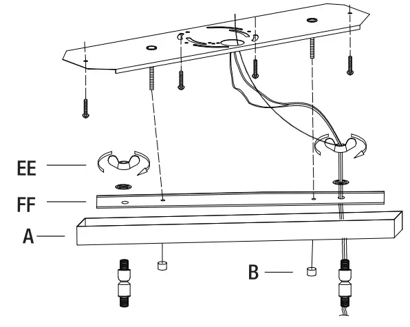
Attaching the canopy
- Turn the buttery screws (EE) clockwise to secure the reinforcing plate (FF) to the canopy (A)
- Align the screws from the mounting bracket (AA) with the holes in the canopy (A) and secure them in place with the decorative nuts (B)
Attaching the rods
- Twist top rod (D) clockwise into the swivels (C).
- Twist other rods (D) into each other, working from the top down until the bottom rod (D) is secured to the frame of the fixture

Installing the shade and lightbulb
- Place decorative ring (F) over glass shade (G) so it rests at the bottom of the glass.
- Align the glass shade (G) and decorative ring (F) with the ring (E) and secure it to the ring (E) using the socket ring (H)
- Install a medium base (E26), 60-watt maximum light bulb (I) into the socket.

Care and Cleaning
WARNING: Before cleaning the fixture, disconnect the electrical power to the fixture by turning off the circuit breaker or removing the fuse at the fuse box.
- Use a dry or damp, clean cloth to wipe the surface of the fixture. Do not use abrasive cleaners or chemical solvents.
- Allow the fixture to dry completely before power is restored.
Troubleshooting
| Problem | Possible Cause | Solution |
| The light will not illuminate. | The power is off. | Ensure the power supply is on. |
| There is a faulty wire connection. | Check the wiring. Contact a qualified and licensed electrician if you are not comfortable troubleshooting wiring issues. | |
| There is a faulty switch. | Test or replace the switch. | |
| The bulb is burned out. | Replace the bulb. | |
| The fuse blows or the circuit breaker trips when the light is illuminated. | There are crossed wires, or the power wire is not properly grounded. | Check the wire connections. |
Questions, problems, missing parts?
Before returning to the store, call Home Decorators Collection Customer Service
8 a.m. – 7 p.m., EST, Monday – Friday, 9 a.m.- 6 p.m., EST, Saturday
1-855-HD-HAMPTON
HAMPTONBAY.COM
Retain this manual for future use.

















