HDP00705WW Adelaide
4 Light Wood Bead Chandelier
User Guide
HDP00705WW Adelaide 4 Light Wood Bead Chandelier
THANK YOU
We appreciate the trust and confidence you have placed in Hampton Bay through the purchase of this light fixture. We strive to continually create quality products designed to enhance your home. Visit us online to see our full line of products available for your home improvement needs.
Thank you for choosing Hampton Bay!
Safety Information
- Consult a qualified electrician with any electrical questions you may have.
IMPORTANT: Inspect the wire insulation for any cuts, abrasions, or exposed copper that may have occurred during shipping. If there is a defect in the wire, do not continue the assembly process. Please call our Customer Service Team at 1-855-HD-HAMPTON.
Warranty
3-YEAR LIMITED WARRANTY
WHAT IS COVERED
The manufacturer warrants this lighting fixture to be free from defects in the materials and workmanship for a period of three (3) years from the date of purchase. This warranty applies only to the original consumer purchaser and only to products used in normal use. If this product is found to be defective, the manufacturer’s only obligation, and your exclusive remedy, is the repair or replacement of the product at the manufacturer’s discretion, provided that the product has not been damaged through misuse, abuse, accident, modifications, alterations, neglect or mishandling. This warranty shall not apply to any product that is found to have been improperly installed, assembled, or used in any way not in accordance with the instructions supplied with the product. This warranty shall not apply to a failure of the product as a result of an accident, misuse, abuse, negligence, alteration, faulty installation, or any other failure not relating to faulty material or workmanship.
WHAT IS NOT COVERED
This warranty shall not apply to the finish on any portion of the product due to weathering, as this is considered normal wear. The manufacturer does not warrant and specifically disclaims any warranty, whether expressed or implied, other than the warranty contained herein. The manufacturer specifically disclaims any liability and shall not be liable for any consequential or incidental loss or damage, including but not limited to, any labor or expense costs involved in the replacement or repair of the product.
Contact the Customer Service Team at 1-855-HD-HAMPTON or visit www.HamptonBay.com.
Pre-Installation
PLANNING INSTALLATION
Read all instructions before assembly.
To avoid damaging this product, assemble it on a soft, non-abrasive surface such as carpet or cardboard. Inspect each part for defects that may have occurred during shipping. Keep your receipt and these instructions for proof of purchase.
NOTE: This light fixture requires the use of four 120V, 60Hz, 60-Watt max., candelabra type B bulbs (not included).
Do not exceed the recommended wattage.
TOOLS REQUIRED
HARDWARE INCLUDED
NOTE: Hardware not shown to actual size.

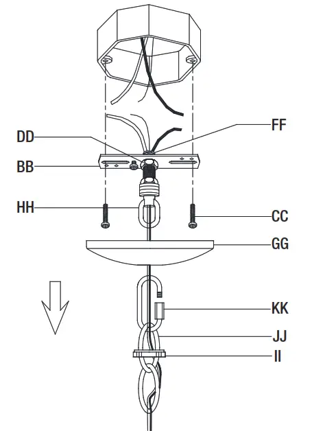
| Part | Description | Quantity |
| AA | Wire nut | 3 |
| BB | Crossbar | 1 |
| CC | Outlet box screw | 2 |
| DD | Lock nut | 2 |
| EE | Ground screw | 1 |
| FF | Nipple | 1 |
| GG | Canopy | 1 |
| HI-I | Screw collar loop | 1 |
| II | Screw collar nut | 1 |
| JJ | Chain | 1 |
| KK | Quick link | 2 |
PACKAGE CONTENTS

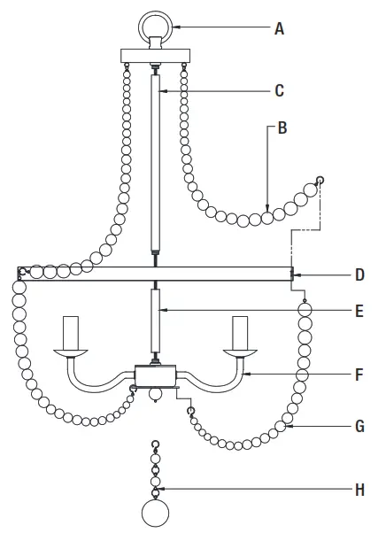
| Part | Description | Quantity |
| A | Column assembly | 1 |
| B | Upper wood bead strings | 16 |
| C | Upper pole | 1 |
| D | Metal ring | 1 |
| E | Lower pole | 1 |
| F | Fixture body | 1 |
| G | Lower wood bead strings | 22 |
| H | Lower wood ball | 1 |
Assembly
Assembling the light fixture
- Carefully unpack the fixture and lay out all parts on a clean surface.
- Screw the lower pole (E) to the top of the fixture body (F).
- Screw the metal ring (D) to the top of the lower pole (E).
- Screw the upper pole (C) to the top of the metal ring (D).
- Screw the column assembly (A) to the top of the upper pole (C).
- Attach the upper wood bead strings (B) to the metal ring (D) as shown.
- Attach the lower wood bead strings (G) to the metal ring (D) and bottom of the fixture body (F) as shown.
- Attach the lower wood ball (H) to the bottom of the fixture body (F).

Preparing the light fixture to hang
- Attach the quick link (KK) to one end link of the chain (JJ) and attach the quick link (KK) to the chain loop.
NOTE: The quick link (KK) must be fully threaded closed. - Remove chain links from the chain (JJ) in order to achieve the desired length for hanging the light fixture.
- Thread the fixture and ground wires up through every link in the chain (JJ).

To open the chain link: Use a pair of pliers and a screwdriver as shown above to open a chain link. Wrap the jaws of the pliers with a cloth to protect the finish.
Installation
Installing the crossbar
DANGER: Ensure the power is off at the main fuse box prior to beginning installation.
- Turn off the switch at the wall.
- Turn the power off at the main fuse box.
- Install the crossbar (BB) with nipple (FF), lock nuts (DD), and screw collar loop (HH) to the junction box using two outlet box screws (CC).
- Unscrew the screw collar nut (II) from the screw collar loop (HH).
- Slide the screw collar nut (II) and then the canopy (GG) onto the end of the chain (JJ).
- Attach the quick link (KK) to the end of the chain (JJ) and attach the quick link (KK) to the screw collar loop (HH).
NOTE: The quick link (KK) must be fully threaded closed.- Insert the fixture wires up through the nipple (FF).

Connecting the wires
- Install the fixture bare copper ground wire (1) under the ground screw (EE) on the crossbar (BB).
- Connect the fixture bare copper ground wire (1) to the green (or bare, or green & yellow) supply ground wire (2) in the junction box using a wire nut (AA).
- Connect the ribbed fixture wire (3) to the white supply wire (4) in the junction box using a wire nut (AA).
- Connect the smooth fixture wire (5) to the black (or red, or blue) supply wire (6) in the junction box using a wire nut (AA).


Hanging the light fixture
- Push all excess wires into the junction box.
- Raise the canopy (GG) to the ceiling and secure it in place by screwing the screw collar nut (II) onto the screw collar loop (HH).

Installing the bulbs
- Prior to installing the bulbs, inspect sockets for silica packets. If packets are present, then remove them and throw them away. Do not expose them to children or pets.
Install four 120V, 60Hz, 60-Watt candelabra type B bulbs (not included) into the sockets of the light fixture.
Care and Cleaning
- Clean the light fixture with a soft, dry cloth. Do not use any cleaners with chemicals, solvents, or harsh abrasives.
Troubleshooting
| Problem | Possible Cause | Solution |
| The bulb will not light. | The bulb is burned out. | Replace the light bulb. |
| The power is off. | Ensure that the power supply is turned on. | |
| There is a faulty wire connection. | Check the wiring. | |
| The circuit breaker is off. | Ensure that the circuit breaker is set in the on position. | |
| The fuse blows or a circuit breaker trips when the light is turned on. | There is an exposed wire. There are too many items on one circuit. | Discontinue the use of the light fixture. Contact a qualified electrician or call the Customer Service Team at 1-855-1-1D-HAMPTON. Unplug other items on the circuit. |
Please contact 1-855-HD-HAMPTON for further assistance.
Questions, problems, missing parts? Before returning to the store,
call Hampton Bay Customer Service
8 a.m. – 7 p.m., EST, Monday – Friday, 9 a.m. – 6 p.m., EST, Saturday
1-855-HD-HAMPTON
HAMPTONBAY.COM
Retain this manual for future use.


























