
INSTALLATION GUIDE
Arlo™ Single Lever Basin Faucet
KBF-1201
www.kraususa.com I Toll Free: 1.800.775.0703 I © 2019 Kraus USA Inc. I REV. APR 08, 2021
Congratulations on the purchase of your new
Kraus plumbing Fxture!
Please keep the box and packaging materials until your product is completely installed. If you have any questions, require technical assistance, or have any problems with your product:
DO NOT RETURN TO STORE
Please contact our Customer Service Team
1-800-775-0703 / [email protected]
Have the model number available, and retain a copy of your receipt with purchase date for reference.
If for any reason this product does not meet your expectations, please be sure to repack this product in the original box and packaging material to avoid damage during transit.
Prior to Installation:
- Make sure you have all necessary parts by checking the diagram and parts list. If any part is missing or damaged, please contact Kraus Customer Service at 800-7750703 for a replacement
- Turn off the hot and cold water lines at the angle stops and turn on the old faucet to release any built-up pressure
- Pre-drilled countertop hole size requirement: 1-3/8”(min)
- Max countertop thickness: 2 5/8”
Tools you will need:

Diagram and Parts List

| A. Faucet Body | E. Aerator Key | I. Deck plate & Base plate |
| B. Waterlines | F. Hex Wrench | J. Drain |
| C. Flange & Washer | G. Metal Washer | K. Spanner Key |
| D. Aerator | H. Nut |
Faucet Dimension

Installer Tip:
Shut off main water supply before installing new faucet
Step 1: Remove washer and lock nut

Shut off the water supply. Remove the old faucet. Clean the mounting surface.
WITH FLANGE: Remove the metal washer (G) and lock nut (H) from the faucet (A) as shown in figure a.
WITH DECK PLATE: Remove the metal washer (G), the flange (C) and nut (H) from the faucet (A) as shown in figure b.
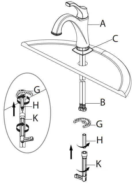
Step 2.1: Install faucet (with deck plate)

Step 2.2: Install faucet (with flange)

Before installation, ensure that the flange (C) is placed on the bottom of the faucet (A). Place the faucet (A) through the mounting holes in the sink until the faucet (A) sets on top of the sink. Secure the faucet (A) to the sink using the washer (G) and lock nut (H) provided. Tighten lock nut (H) with spanner key (K) provided. Ensure the washer (G) and hoses (B) are no interference.
Step 3: Connect waterlines to main valve

Attach waterlines(B) to angle stops and tighten until snug. Turn on angles stops and check for leaks (DO NOT TURN FAUCET ON)
NOTE: Please make sure filter washers are installed before connecting to the main valve.
Step 4: Install drain
Remove the waste stopper (1) and drain flange (2) from the drain body (5). Screw the nut (4) all the way down, and push the concave washer (3) down.

Apply silicone sealant (not included) under the drain flange(1) and place the drain flange (1)into the drain hole of the sink. From underneath the sink, screw the drain body (4) onto the drain flange (1). Ensure that the opening (a) for the ball rod on the drain body (4) faces towards the rear of the sink. Tighten the concave washer (2) and nut (3) on the drain body (4). Do not overtighten.
Step 4: Install drain

Insert the waste stopper (1) into the drain hole in the sink. Remove the strap (6) and clip (5) from the ball rod (3). Remove the ball nut (4). Insert the ball rod (3) into the drain body (2) and through the hole of the stopper (1). See Insert 1. For easier removal and cleaning, rotate the stopper (1) 90 degrees so that the ball rod (3) does not go through the hole in the stopper (1).See Insert 2. Secure the ball nut (4) against the hole in the drain body (2) and tighten the ball nut (4) onto the threaded end. Do not overtighten.
Insert the lift rod (2) through the faucet (1) and down into the strap (3).Tighten the thumb screw (4).
Step 4: Install drain
![]() | Attach the ball rod (1) to the strap (3) using the clip (2). |
![]() | Loosen the thumb screw (3) on the strap (2). Push down on the lift rod (1) until the stopper is in the open position. Retighten the thumb screw (3). |
Step 5: Flush faucet
After installing faucet, remove aerator (D) with included aerator key (E). Turn water on for 30 seconds to remove any debris. Reassemble aerator (D).
Replacement Parts
| Replacement Parts List | Finish / Color | Part # |
| 1. Cover Button | GR, BL* | KP27002 |
| 2. Set Screw | KP27001 | |
| 3. Handle | CH, SFS, ORB, MB, BG, SFSB* | KP27046 |
| 4. Cap | CH, SFS, ORB, MB, BG, SFSB* | KP27048 |
| 5. Bonnet Nut | KP27049 | |
| 6. Screw | KP27047 | |
| 7. Cartridge | KP27050 | |
| 8. Aerator | KP27051 | |
| 9. Aerator Key | KP27052 | |
| 10. Flange & Washer | CH, SFS, ORB, MB, BG, SFSB* | KP27053 |
| 11. Metal Washer | KP27198 | |
| 12. Nut | KP27055 | |
| 13. Spanner Key | KP27144 | |
| 14. Deck Plate & Base Plate | CH, SFS, ORB, MB, BG, SFSB* | KP27056 |
| 15. lift rod knob & lift rod | CH, SFS, ORB, MB, BG, SFSB* | KP27057 |
| 16. Drain | CH, SFS, ORB, MB, BG, SFSB* | KP27019 |
| 17. Hex Wrench | KP27020 | |
| 18. Filter Washer | KP27167 |
*Denotes faucet component color options:
CH – Polished Chrome
SFS – Spot Free Stainless Steel
ORB – Oil Rubbed Bronze
MB – Matte Black
BG – Brushed Gold
SFSB – Spot Free Black Stainless
GR – Grey
BL – Black
Troubleshooting
If you have followed the instructions carefully and your faucet still does not work properly, take the following corrective steps:
PRO B L E M | C A U S E | A C T I O N |
| Leakage under the handle | Bonnet nut (5) has come loose | Remove the cover button (1). Loosen set screw (2) with hex wrench (17). Remove the handle (3). Unscrew cap (4) (by hand only). Tighten bonnet nut (5) with an adjustable wrench |
| Aerator drips or has inconsistent water ow pattern | Aerator (8) is dirty or not seated properly | Unscrew aerator (8) with aerator wrench (9) and clean out debris |
| Water will not shut o completely | Cartridge may need to be adjusted or replaced | Remove the cover button (1). Loosen set screw (2) with hex wrench (17). Remove the handle (3). Unscrew cap (4) (by hand only). Tighten bonnet nut (5) with an adjustable wrench. Remove the cartridge (7). Check for cracks |
| There is leaking from the sink drain at the base of the sink. | The sink has a rough or irregular surface. | Apply additional silicone sealant to the beveled side ofand test for leaks |
| water. | hose connectors is dirty. | water valve and unscrew the hose connectors from water supply lines. Clean the screen in the water lines with hot water, removing any debris or calcium build up. |
Care & Maintenance

*To keep the product clean & shining, follow the steps below:
- Rinse with clean water & dry with a soft cloth
- Do not clean with soaps, acid, polish, abrasives, or harsh cleaners
- Do not use cloth with a coarse surface
- Unscrew the aerator and clean when necessary
*This installation manual is subject to change without further notice.
Codes/Standards Applicable:

Faucet Warranty
Kraus products are manufactured and tested to the highest quality standards by Kraus USA Inc. (“Kraus”). Kraus extends this warranty to the original purchaser for personal household use of the “Faucet” in its original location. The warranty is non-transferable. Kraus warrants the structure and finish of the product to be free from defects in material and workmanship under normal usage for the lifetime of the product. The warranty commences from the initial date of purchase by the owner or trade professional, from an authorized Kraus dealer, through the lifetime of the original owner or end-user.
Kraus warrants the mechanical components such as but not limited to sprayhead assembly (includes engine, aerators, structure, restrictors, back flow preventers, sprayer hoses, braided supply line hoses which encompasses nylon, silicon and stainless steel, etc) of the product to be free from defects in material and workmanship
under normal usage for a period of one (1) year. The warranty commences from the initial date of purchase by the owner or trade professional, from an authorized Kraus dealer, through the one (1) year term of the original owner or end-user.
Kraus warrants the mechanical component (cartridge) of the product to be free from defects in material and workmanship under normal usage for a period of five (5) years. The warranty commences from the initial date of purchase by the owner or trade professional, from an authorized Kraus dealer, through the five (5) year term of the original owner or end-user.
Any product reported to the authorized dealer or to Kraus as being defective within the warranty period will be repaired or replaced with a product of equal value at the option of Kraus. This warranty extends to the original owner or end-user and is not transferable to a subsequent owner.
Restrictions
This warranty does not cover antediluvian, discontinued, or display products, whether such items are purchased at discount outlets, unauthorized dealers, and/or sold on clearance.
This warranty does not cover instances of negligence, misuse, abuse, improper installation, carelessness, accident, hard water or mineral deposits, exposure to corrosive materials, misapplication, damages caused by improper maintenance, alteration of the product, or failure to follow care or installation instructions enclosed with your product. Avoid using abrasive cleaners such as powders, bleach, ammonia, alcohol, or chlorine. Avoid using abrasive pads, steel wool, or wire brushes, as these will damage and wear down the finish.This warranty does not apply to Products that have not been installed or operated in accordance with instructions supplied by Kraus and all applicable rules, regulations, and legislation pertaining to such installations.
This warranty does not apply unless the Kraus product is installed by a fully insured and licensed trade professional. Kraus insists that such professionals have experience in the installation of bathroom and kitchen manufactured goods.
This warranty does not cover labor charges or costs of removal and reinstallation of said product. This warranty does not allow recovery of incidental or consequential damages, such as loss of use, delay, property damage, or other consequential damages, and Kraus accepts no liability for such damages. This warranty does not cover Marine or Outdoor Installation.
Except as otherwise provided above, Kraus makes no warranties, expressed or implied, including warranties of merchantability and fitness for a particular purpose, or compliance with any code.
Shipping charges will be covered for the first (1) year of the warranted replacement part or product (HI, AK, and
Puerto Rico shipping charges may apply). International shipping fees are not included.
Commercial Warranty
Kraus extends the above warranty for a period of one (1) year to purchasers of products for industrial, commercial, and business use.
All incidental or consequential damages are specifically excluded. No additional warranties, express or implied, are given, including but not limited to any implied warranty of merchantability or fitness for a particular purpose. Some states do not allow the exclusion or limitation of incidental or consequential damages or imitations on how long an implied warranty lasts, so the above limitations or exclusions may not apply to you. This warranty gives you specific legal rights, and you may also have other rights which vary from state to state.
If you are a homeowner please contact a Kraus Customer Service Representative at:
Kraus USA, Inc.
12 Harbor Park Drive
Port Washington, NY 11050
Toll-free 800-775-0703
[email protected]
If you are a plumbing contractor or trade professional please contact a Kraus
Pro Representative at:
Kraus USA, Inc.
12 Harbor Park Drive
Port Washington, NY 11050
516-801-8955
[email protected]
If you are an Authorized Partner please contact a Partner Support Representative at:
Kraus USA, Inc.
12 Harbor Park Drive
Port Washington, NY 11050
516-801-8954
[email protected]
In requesting warranty service, please be ready to provide:
- Proof of purchase.
- A description of the problem.
Download the Kraus Care & Maintenance Guide at:
http://www.kraususa.com/maintenance
IMPORTANT
Register Your Kraus Product
Activate Your Warranty
Access Premium Customer Support
Get Product Information
REGISTER TODAY
http://www.kraususa.com/registration























