
INSTALLATION GUIDE
Single Handle Filtration Kitchen Faucet
KFF-1610
Congratulations on the purchase of your new Kraus plumbing fixture!
Please keep the box and packaging materials until your product is completely installed. If you have any questions, require technical assistance, or have any problems with your product:
DO NOT RETURN TO THE STORE
Please contact our Customer Service Team
1-800-775-0703 / [email protected] Have the model number available and retain a copy of your receipt with the purchase date for reference.
If for any reason this product does not meet your expectations, please be sure to repack this product in the original box and packaging material to avoid damage during transit.
Prior to Installation:
- Make sure you have all the necessary parts by checking the diagram and parts list. If any part is missing or damaged, please contact Kraus Customer Service at 800-7750703 for a replacement
- Turn off the hot and cold water lines at the angle stops and turn on the old faucet to release any built-up pressure
- Pre-drilled countertop hole size requirement: 1-3/8”(min)
- Max countertop thickness: 3-3/8”
Tools you will need:

Diagram and Parts List

| A. Spray Head B. Faucet Body C. Rubber Washer D. Metal Washer E. Mounting Nut F. Screws | G. Weight H. Weight Clip I. Quick Connector J. 3/8” to 1/4” Filter Adapter K. 2.5mm Hex Wrench |
Faucet Dimension

Installer Tip:
Shut off the main water supply before installing a new faucet
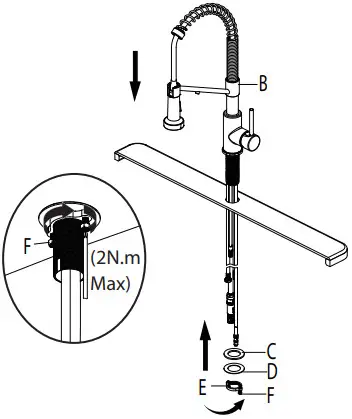
Step 1: Installing the faucet
Shut o water supply. Place faucet (B) through the hole in the countertop.
Secure the faucet (B) to the countertop using the rubber washer (C), metal washer (D), and mounting nut (E) provided. Tighten screws(F).
Step 2: Securing the faucet assembly

Push the quick connector (I) firmly upward and attach it to the receiving block (a). Pull down moderately to ensure the connection has been made.
Step 3: Securing the faucet assembly
Install the weight clip (H) at the point of the hose marking “weight here”. Insert the weight (G) onto the weight clip (H) by sliding it down onto the weight clip (H).
Step 4: Connect waterlines to the main valve

Attach waterlines to angle stops and tighten until snug. Turn on angles stops and check for leaks (DO NOT TURN FAUCET ON)
NOTE please make sure filter washers are installed before connecting to the main valve.
Connect the filter water inlet pipe (b) into the end of the filtration manifold (not including).
Pull moderately to ensure the connection has been made.
NOTE: 3/8″ typical connection attached. 1/4″ connector/reducer included in the box for A-typical connections.
Step 5: Flushing and checking for leaks
Unfiltered Water Function
Pull the hose assembly out of the spout and remove the spray head (A) by unscrewing it from the hose in a counterclockwise direction. Be sure to hold the end of the hose down into the sink and turn the faucet to the warm position where it mixes hot and cold water.
Pulling the handle towards yourself will turn the water too hot. Pushing the handle away from yourself will turn the water to cold.
Flush the water lines for one minute. This flushes away any debris that could cause damage to internal parts. Check for leaks.
Re-tighten any connections if necessary, but do not overtighten. Reinstall the spray head (A) by hand tightening it back onto the spray hose in a clockwise direction.
NOTE: Please make sure the washer is installed attaching the spray head to a hose.
Filtered Cold Water Function
Make sure the faucet is closed and do not open the handle outward, as shown in Fig 1.
Maintain the state of Fig 1, pulling the handle towards yourself will activate the filtered water, as shown in Fig 2.
Flush the water lines for one minute. This flushes away any debris that could cause damage to internal parts. Check for leaks.
Maintain the state of Fig 1, pushing the handle away from yourself will turn off the filtered water, as shown in Fig 2.
Replacement Parts
| Replacement Parts List | Finish / Color | Part # |
| 1. Sprayer Head | CH, SFS, MB, SFACB* | KP27216 |
| 2. Washer | KP27208 | |
| 3. Inverter | GRCH, GRSFS, BLMB,BLSFACB* | KP27245 |
| 4. Sprayer Hose | CH, SFS, MB, SFACB* | KP27247 |
| 5. Spring Assembly | KP27220 | |
| 6. Cartridge | KP27234 | |
| 7. Bonnet Nut | CH, SFS, MB, SFACB* | KP27235 |
| 8. Cap | CH, SFS, MB, SFACB* | KP27081 |
| 9. Handle | KP27072 | |
| 10. Set Screw | GR, BL* | KP27001 |
| 11. Index | KP27002 | |
| 12. Block | KP27073 | |
| 13. O-ring | KP27092 | |
| 14. Filter Washer | KP27167 | |
| 15. Rubber & Metal Washer | KP27028 | |
| 16. Mounting Nut & Screw | KP27079 | |
| 17. Weight & Clip Assembly | KP27236 | |
| 18.1.8GPM Flow Restrictor | WHITE | KP27074-WH |
| 19. Quick Connector Assembly | KP27090 | |
| 20. Connector | KP27237 | |
| 21. Hex Wrench | KP27020 | |
*Denotes faucet component color options: CH- Polished Chrome; SFS – Spot Free Stainless Steel; MB – Matte Black; SFACB – Spot Free Antique Champagne Bronze; GR – Grey; BL – Black; Black hose w/ Matte Black connector (BLMB); Gray hose with Spot-Free Stainless connector (GRSFS); Gray hose with Polished Chrome connector (GRCH)
Troubleshooting
If you have followed the instructions carefully and your faucet still does not work properly, take the following corrective steps:
| PROBLEM | C AUS E | A CTI ON |
| Leakage under the handle | Bonnet nut (7) has come loose | Remove the index (11). Loosen set screw (10) with hex wrench (21). Remove the handle (9). Unscrew cap (8) (by hand only). Tighten bonnet nut (7) with an adjustable wrench |
| The aerator has an irregular or reduced water flow | The aerator is dirty or mis-fitted | Remove the aerator and check for debris. Ensure that the rubber washer is properly installed. |
| Water will not shut off completely | The cartridge may need to be adjusted or replaced | Hot Water Cold Water Remove the index (11). Loosen set screw (10) with hex wrench (21). Remove the handle (9). Unscrew cap (8) (by hand only). Tighten bonnet nut (7) with an adjustable wrench. Remove the cartridge (6). Check for cracks |
| There is leaking from the sink drain at the base of the sink. | The sink has a rough or irregular surface. | Apply additional silicone sealant to the beveled side of the drain flange. Retighten and test for leaks |
| Close There is a low flow of water. | The filter washer in the The hose connectors are dirty. | Push Turn off the water supply at the water valve and unscrew the hose connectors from the water supply lines. Clean the filter washer in the water lines with hot water, removing any debris or calcium build-up |
Care & Maintenance
*To keep the product clean & shining, follow the steps below:
- Rinse with clean water & dry with a soft cloth

- .Do not clean with soaps, acid, polish, abrasives, or harsh cleaners
- Do not use a cloth with a coarse surface
- Unscrew the aerator and clean when necessary
*This installation manual is subject to change without further notice.
Codes/Standards Applicable:

Faucet Warranty
Kraus products are manufactured and tested to the highest quality standards by Kraus USA Inc. (“Kraus”).
Kraus extends this warranty to the original purchaser for personal household use of the “Faucet” in its original location.
The warranty is non-transferable.
Kraus warrants the structure and finish of the product to be free from defects in material and workmanship under normal usage for the lifetime of the product. The warranty commences from the initial date of purchase by the owner or trade professional, from an authorized Kraus dealer, through the lifetime of the original owner or end-user.
Kraus warrants the mechanical components such as but not limited to sprayhead assembly (includes engine, aerators, structure, restrictors, back flow preventers, sprayer hoses, braided supply line hoses which encompasses nylon, silicon,e, and stainless steel, etc) of the product to be free from defects in material and workmanship under normal usage for a period of one (1) year. The warranty commences from the initial date of purchase by the owner or trade professional, from an authorized Kraus dealer, through the one (1) year term of the original owner or end-user.
Kraus warrants the mechanical component (cartridge) of the product to be free from defects in material and workmanship under normal usage for a period of five (5) years. The warranty commences from the initial date of purchase by the owner or trade professional, from an authorized Kraus dealer, through the five (5) year term of the original owner or end-user.
Kraus warrants all electronic parts other than batteries to be free from defects in material and workmanship for a period of two (2) years. The warranty commences from the initial date of purchase by the owner or trade professional, from an authorized Kraus dealer, through the two (2) year term of the original owner or end-user. No warranty is provided on batteries.
Any product reported to the authorized dealer or to Kraus as being defective within the warranty period will be repaired or replaced with a product of equal value at the option of Kraus. This warranty extends to the original owner or end-user and is not transferable to a subsequent owner.
Restrictions
This warranty does not cover antediluvian, discontinued, or display products, whether such items are purchased at discount outlets, unauthorized dealers, and/or sold on clearance.
This warranty does not cover instances of negligence, misuse, abuse, improper installation, carelessness, accident, hard water or mineral deposits, exposure to corrosive materials, misapplication, damages caused by improper maintenance, alteration of the product, or failure to follow care or installation instructions enclosed with your product. Avoid using abrasive cleaners such as powders, bleach, ammonia, alcohol, or chlorine. Avoid using abrasive pads, steel wool, or wire brushes, as these will damage and wear down the finish.
This warranty does not apply to Products that have not been installed or operated in accordance with instructions supplied by Kraus and all applicable rules, regulations, and legislation pertaining to such installations.
This warranty does not apply unless the Kraus product is installed by a fully insured and licensed trade professional.
Kraus insists that such professionals have experience in the installation of bathroom and kitchen manufactured goods.
This warranty does not cover labor charges or costs of removal and reinstallation of said product. This warranty does not allow recoveries of incidental or consequential damages, such as loss of use, delay, property damage, or other consequential damages, and Kraus accepts no liability for such damages.
This warranty does not cover Marine or Outdoor Installation.
Except as otherwise provided above, Kraus makes no warranties, expressed or implied, including warranties of merchantability and fitness for a particular purpose, or compliance with any code.
Shipping charges will be covered for the first (1) year of the warranted replacement part or product (HI, AK and Puerto Rico shipping charges may apply). International shipping fees are not included.
Commercial Warranty
Kraus extends the above warranty for a period of one (1) year to purchasers of products for industrial, commercial, and business use.
All incidental or consequential damages are specifically excluded. No additional warranties, express or implied, are given, including but not limited to any implied warranty of merchantability or fitness for a particular purpose.
Some states do not allow the exclusion or limitation of incidental or consequential damages or limitations on how long an implied warranty lasts, so the above limitations or exclusions may not apply to you. This warranty gives you specific legal rights, and you may also have other rights which vary from state to state.
If you are a homeowner please contact a Kraus Customer Service Representative at:
Kraus USA, Inc.
12 Harbor Park Drive
Port Washington, NY 11050
Toll-free 800-775-0703
[email protected]
If you are a plumbing contractor or trade professional please contact a Kraus
Pro Representative at:
Kraus USA, Inc.
12 Harbor Park Drive
Port Washington, NY 11050
516-801-8955
[email protected]
If you are an Authorized Partner please contact a Partner Support Representative at:
Kraus USA, Inc.
12 Harbor Park Drive
Port Washington, NY 11050
516-801-8954
[email protected]
In requesting warranty service, please be ready to provide:
- Proof of purchase.
- A description of the problem.
Download the Kraus Care & Maintenance Guide at:
http://www.kraususa.com/maintenance
IMPORTANT
Register Your Kraus Product
Activate Your Warranty
Access Premium Customer Support
Get Product Information
REGISTER TODAY
http://www.kraususa.com/registration

www.kraususa.com
Toll-Free: 1.800.775.0703
© 2019 Kraus USA Inc.
REV. APR 08, 2021




















