Kraus KSF-1610 Bolden Single Handle Pull Down Kitchen Faucet
Prior to Installation:
- Make sure you have all the necessary parts by checking the diagram and parts list. If any part is missing or damaged, please contact Kraus Customer Service at 800-775-0703 for a replacement
- Turn off the hot and cold water lines at the angle stops and turn on the old faucet to release any built-up pressure
- Pre-drilled countertop hole size requirement:
- 1-3/8”(min) Max countertop thickness: 3 3/8”
Tools you will need:
Diagram and Parts List
- Spray Head
- Faucet Body
- Washers
- Mounting Nut
- Weight
- Weight Clip
- Quick Connector
- Sensor Control Box
- Battery Pack
- Battery Pack J2. Screw
- . Anchor
- Battery
- 2.5mm Hex Wrench
Faucet Dimension
Installer Tip:
Shut off the water supply. Insert faucet body (B) through the hole in the sink.
Step 2: Securing the faucet assembly
Install the washers (C) onto the threaded mounting shank.
Thread the mounting nut (D) onto the mounting shank. Lock the mounting nut (D) into position by tightening the screws (E). Do not overtighten.
Step 3: Installing the sensor control box
Install the data cable (1) to the control box connection (2). Ensure the arrows on the data cable and control box connection are aligned to one another to ensure proper installation. Ensure they are tightly connected by firmly pushing together. Secure the connection by hand tightening the nut (3) in a clockwise direction onto the threaded sensor cable.
Step 4: Installing the sensor control box
Connect the hose (1& 2) to the connector (3 & 4) on the control box (5). Push firmly together until they snap into place.
Step 5: Securing the faucet assembly
Step 6: Installing the battery pack
NOTE: When the sensor flashes 10 times continuously and slowly, the batteries have lost their charge. Replace the batteries (3).
Step 7: Installing the battery pack
NOTE: After installing the battery pack, the light on the sensor will flash and the faucet will sound when you move your hand in the sensor area. If not, check to ensure the batteries are installed correctly.
Step 8: Connect waterlines to the main valve
Attach waterlines to angle stops -and tighten until snug. Turn on angles stops and check for leaks (DO NOT TURN FAUCET ON)
NOTE: Please make sure filter washers are installed before connecting to the main valve.
Step 9: Flush faucet
Flushing and checking for leaks: After the installation is complete, unscrew and remove the spray head in order to flush the line. Turn on the water supply and allow both hot and cold water to run for at least one minute each. This flushes away any debris that could cause damage to internal parts. Check for leaks. Re-attach the spray head. Do not lose the gasket (1) in the hose.
NOTE: Please make sure the washer is installed attaching spray head to the hose.
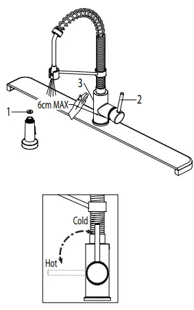
Operating the sensor: Turn the handle (2) away from the faucet to the full-on position. Turn the water on by activating the sensor (3) by waving your hand within 6cm of the sensor. Move handle towards you and away from you, the water flow pattern can be switched from hot water to cold water. If the sensor does not work, then you can refer to the troubleshooting. If you want to use the faucet without the sensor feature, then you can refer to troubleshooting 5. Then, turning on the water can be done by moving the handle away from the faucet to the full-on position.
Note: The sensor is active only when the handle is in the ON position. As a water-saving feature, the water will turn off automatically after 3 minutes of continuous flow.
Replacement Parts
- Denotes spray hose assembly color options: Spray hose assembly color options: Black hose w/ Matte Black connector (BLMB); Gray hose with Spot-Free Stainless connector (GRSFS);Black hose with Spot-Free Antique Champagne Bronze (BLSFACB);
- Denotes faucet component color options: SFS – Spot Free Stainless Steel; MB – Matte Black; SFACB – Spot Free Antique Champagne Bronze; GR – Grey; BL – Black
Troubleshooting
If you have followed the instructions carefully and your faucet still does not work properly, take the following corrective steps:
Problem 1: Water will not shut off when turning the handle to the OFF position.
Problem 2: The light on the sensor is flashing continuously.
If the handle is closed, turn the handle to the on position and move your hand in the sensor area. If the sensor flashes 10 times continuously and slowly, then replace the 4 “AA” batteries.
Problem 3: There is a low flow of water or LED indicator in the faucet body is not functioning.
- This could indicate that the washer in the control box is dirty or damaged. Remove the hose and unscrew the connector. Take out the washer from the control box. Clear the washer or replace the washer. Reassemble the connector and hose.
- The filter washer (17) in the hose connectors is dirty. Turn off the water supply at water valve and unscrew the hose connectors from water supply lines. Clean the filter washer in the water lines with hot water, removing any debris or calcium buildup.
Problem 4: The sensor is not activating the water flow.
Problem 5: The function of the switch button.
Care & Maintenance
To keep the product clean & shining, follow the steps below:
- Rinse with clean water & dry with a soft cloth
- Do not clean with soaps, acid, polish, abrasives, or harsh cleaners
- Do not use a cloth with a coarse surface
- Unscrew the aerator and clean when necessary *This installation manual is subject to change without further notice.
Codes Standards Applicable:
Faucet Warranty
Kraus products are manufactured and tested to the highest quality standards by Kraus USA Inc. (”Kraus”). Kraus extends this warranty to the original purchaser for personal household use of the “Faucet” in its original location. The warranty is non-transferable. Kraus warrants the structure and finish of the product to be free from defects in material and workmanship under normal usage for the lifetime of the product. The warranty commences from the initial date of purchase by the owner or trade professional, from an authorized Kraus dealer, through the lifetime of the original owner or end-user. Kraus warrants the mechanical components such as but not limited to sprayhead assembly (includes engine, aerators, structure, restrictors, back flow preventers, sprayer hoses, braided supply line hoses which encompasses nylon,silicone and stainless steel, etc) of the product to be free from defects in material and workmanship under normal usage for a period of one (1) year. The warranty commences from the initial date of purchase by the owner or trade professional, from an authorized Kraus dealer, through the one (1) year term of the original owner or end-user.
Kraus warrants the mechanical component (cartridge) of the product to be free from defects in material and workmanship under normal usage for a period of five (5) years. The warranty commences from the initial date of purchase by the owner or trade professional, from an authorized Kraus dealer, through the five (5) years term of the original owner or end-user. Kraus warrants all electronic parts other than batteries to be free from defects in material and workmanship for a period of two (2) years. The warranty commences from the initial date of purchase by the owner or trade professional, from an authorized Kraus dealer, through the two (2) year term of the original owner or end-user. No warranty is provided on batteries. Any product reported to the authorized dealer or to Kraus as being defective within the warranty period will be repaired or replaced with a product of equal value at the option of Kraus. This warranty extends to the original owner or end-user and is not transferable to a subsequent owner.
Restrictions
This warranty does not cover antediluvian, discontinued, or display products, whether such items are purchased at discount outlets, unauthorized dealers, and/or sold on clearance.
This warranty does not cover instances of negligence, misuse, abuse, improper installation, carelessness, accident, hard water or mineral deposits, exposure to corrosive materials, misapplication, damages caused by improper maintenance, alteration of the product, or failure to follow care or installation instructions enclosed with your product. Avoid using abrasive cleaners such as powders, bleach, ammonia, alcohol, or chlorine. Avoid using abrasive pads, steel wool, or wire brushes, as these will damage and wear down the finish. This warranty does not apply to Products that have not been installed or operated in accordance with instructions supplied by Kraus and all applicable rules, regulations, and legislation pertaining to such installations. This warranty does not apply unless the Kraus product is installed by a fully insured and licensed trade professional. Kraus insists that such professionals have experience in the installation of bathroom and kitchen manufactured goods. This warranty does not cover labor charges or costs of removal and reinstallation of said product. This warranty does not allow recovery of incidental or consequential damages, such as loss of use, delay, property damage, or other consequential damages, and Kraus accepts no liability for such damages.
This warranty does not cover Marine or Outdoor Installation.
Except as otherwise provided above, Kraus makes no warranties, expressed or implied, including warranties of merchantability and fitness for a particular purpose, or compliance with any code. Shipping charges will be covered foe the first (1) year of the warranted replacement part or product (HI, AK, and Puerto Rico shipping charges may apply). International shipping fees are not included. Commercial Warranty-Kraus extends the above warranty for a period of one (1) year to purchasers of products for industrial, commercial, and business use. All incidental or consequential damages are specifically excluded. No additional warranties, express or implied, are given, including but not limited to any implied warranty of merchantability or fitness for a particular purpose. Some states do not allow the exclusion or limitation of incidental or consequential damages or limitations on how long an implied warranty lasts, so the above limitations or exclusions may not apply to you. This warranty gives you specific legal rights, and you may also have other rights which vary from state to state.
If you are a homeowner please contact a Kraus Customer Service Representative at:
Kraus USA, Inc.
12 Harbor Park Drive
Port Washington, NY 11050
Toll-free 800-775-0703
[email protected]
If you are a plumbing contractor or trade professional please contact a Kraus Pro Representative at:
Kraus USA, Inc.
12 Harbor Park Drive
Port Washington, NY 11050
516-801-8955
[email protected]
If you are an Authorized Partner please contact a Partner Support Representative at: Kraus USA, Inc.
12 Harbor Park Drive
Port Washington, NY 11050
516-801-8954
[email protected]
In requesting warranty service, please be ready to provide:
IMPORTANT
Register Your Kraus Product Activate Your Warranty Access Premium Customer Support Get Product Information http://www.kraususa.com/registration





















