
INSTALLATION MANUAL
Oren™ Single Handle Kitchen Faucet
KPF-2252
www.kraususa.com
Toll-Free: 1.800.775.0703
© 2018 Kraus USA Inc.
REV. April 1, 2021
Congratulations on the purchase of your new Kraus plumbing fixture!
Please keep the box and packaging materials until your product is completely installed. If you have any questions, require technical assistance or have any problems with your product:
DO NOT RETURN TO THE STORE
Please contact our Customer Service Team at 1-800-775-0703 / [email protected]
Have the model number available and retain a copy of your receipt with the purchase date for reference.
If for any reason this product does not meet your expectations, please be sure to repack this product in the original box and packaging material to avoid damage during transit.
Prior to Installation:
- Make sure you have all the necessary parts by checking the diagram and parts list. If any part is missing or damaged, please contact Kraus Customer Service at 800-775-0703 for a replacement.
- Turn off the hot and cold water supply at the angle stops and turn on the old faucet to release any built-up pressure. Remove existing faucet. Clean sink or countertop to remove any debris, plumber’s putty, or silicone.
- Flush angle stops to release any debris prior to installation.
- Pre-drilled hole size requirement: 1 3/8″ (min) – 1 1/2″ (max)
- Max countertop thickness: 1 3/8″
- 1, 2 or 3 hole installation
For technical assistance or replacement parts, please contact Kraus Customer Service and one of our representatives will be happy to help: Toll-Free: 800-775-0703 or [email protected]
Tools Required

Diagram and Parts List

- Spray Head
- Faucet Body
- Mounting Hardware
A. Rubber & Metal Washer
B. Mounting Nut
C. Mounting Screws - Quick Connector
- Hot & Cold Waterlines
- Spray hose
- Weight
- Hex Wrench
Faucet Dimensions

Installer Tip:
Shut off the main water supply before installing a new faucet.
Step 1A. Faucet installation – with deck plate
For three-hole installation: a Deck plate, base plate (see below), and silicone sealant (optional) are required.
Note: optional deck plate not included
Step 1B. Faucet installation – without deck plate
For single-hole installation: Deck plate, base plate and silicone sealant are NOT required.
Step 2. Install faucet and mounting hardware
Insert faucet body (2) into hole in countertop or deck plate assembly. Install mounting hardware (3A, B &C) from underneath the countertop.
Step 3. Secure mounting hardware
Adjust the direction of the faucet body (2) so that the faucet is facing straight. Tighten mounting nut (3B) until snug. Tighten mounting screws (3C) to nut with a Phillips screwdriver until snug.
Step 4. Attach spray hose and counterweight
Connect spray hose (6) to quick connector (4) attached to supply line. Install weight (7) on lowest vertical point on spray hose (6).
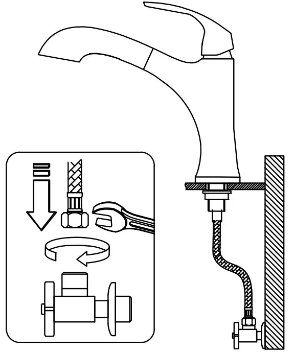
Step 5. Connect waterlines
Connect waterlines (5) to angle stops. Tighten both ends of waterlines with a wrench until snug. Turn on hot and cold angle stops and check for leaks.
NOTE: Please make sure filter washers are installed before connecting to the main valve.
Step 6. Flush spray hose
Remove spray head (1) from spray hose (6). Hold the tip of spray hose (6). Turn the faucet on and let the water run for 60 seconds to flush any debris.
Step 7. Check for leaks
Check for leaks at the connections. Retighten if necessary.
Replacement Parts

*Denotes faucet component color options:
SFS – Spot Free Stainless Steel
MB – Matte Black
CH – Chrome
| Replacement Parts List | Finish/Color | Part # |
| 1. Metal Handle | CH,SFS,MB* | KP06002 |
| 2. Set Screw | KP06055 | |
| 3. Handle Button | CH,SFS,MB* | KP06030 |
| 4. Cartridge Cover | CH,SFS,MB* | KP06020 |
| 5. Locking Nut | KP06018 | |
| 6. Cartridge | KP06100 | |
| 7. Spray Hose | CH,SFS,MIr | KP06097 |
| 8. Hose Guide | KP06045 | |
| 9. Spray Head | CH,SFS,ME• | KP06090 |
| 10. Check Valve | KP06104 | |
| 11. Quick Connector | KP06108 | |
| 12. Rubber Washer | KP06041 | |
| 13. Metal Washer | KP06028 | |
| 14. Mounting Nut | KP06067 | |
| 15. Mounting Screws | KP06068 | |
| 16. Protective Sleeve | KP06057 | |
| 17. Hot & Cold Waterlines | KP06095 | |
| 18. Weight | KP06015 | |
| 19. Hex Wrench | KP06050 | |
| 20. Mounting Hardware Kit (includes KP06041, KP06028, KP06067, KP06068) | KP06200 | |
| 21. Filter Washers | KP06185 |
Troubleshooting
If you have followed the instructions carefully and your faucet still does not work properly, take the following corrective steps:
| PROBLEM | CAUSE | ACTION |
| Leakage under faucet handle | The locking nut has come loose or the cartridge needs to be reseated. | Remove button located at top of the handle. Loosen the set screw with a hex wrench. Remove handle and unscrew cartridge cover by hand. Tighten locking nut with an adjustable wrench. |
| Water does not shut off completely | The cartridge may need to be adjusted or replaced. | Remove button located at top of the handle. Loosen the set screw with a hex wrench. Remove handle and unscrew cartridge cover by hand. Unscrew the locking nut with an adjustable wrench. Remove ceramic disc cartridge. Check for cracks, and if the O-ring is seated correctly. Reseat cartridge. |
| Leaking between the spray head and the hose | The spray head may be loose or the washer is not seated correctly in the hose connection. | Tighten spray head by hand until snug. Make sure the washer is seated correctly. |
| The hose does not retract | Weight may be installed incorrectly. | Readjust weight on the hose. |
| Low flow | The aerator may be clogged | Unscrew the aerator with the aerator key. Hold the tip of the spray head and turn on the water to flush debris. |
Care & Maintenance
To keep the product clean & shining, follow the steps below:
- Rinse with clean water & dry with a soft cloth
- Do not clean with soaps, acid, polish, abrasives, or harsh cleaners
- Do not use a cloth with a coarse surface
- Unscrew the aerator and clean when necessary
This installation manual is subject to change without further notice.
Maintenance – Cartridge Replacement
| Step 1: Remove the button located at the top of the handle. Loosen the set screw with a hex wrench. Remove the handle and unscrew the cartridge cover by hand. | ![]() |
| Step 2: Unscrew the locking nut with an adjustable wrench. Remove ceramic disc cartridge. | ![]() |
| Step 3: Place the new cartridge in the handle seat. Secure the cartridge with the locking nut and assemble the handle. | ![]() |
Codes/Standards Applicable:
FAUCET WARRANTY
Kraus products are manufactured and tested to the highest quality standards by Kraus USA Inc. (“Kraus”).
Kraus extends this warranty to the original purchaser for personal household use of the “Faucet” in its original location. The warranty is non-transferable.
Kraus warrants the structure and finish of the product to be free from defects in material and workmanship under normal usage for the lifetime of the product. The warranty commences from the initial date of purchase by the owner or trade professional, from an authorized Kraus dealer, through the lifetime of the original owner or end-user.
Kraus warrants the mechanical components such as but not limited to sprayed assembly (includes engine, aerators, structure, restrictors, backflow preventers, sprayer hoses, braided supply line hoses which encompasses nylon, silicone and stainless steel,etc) of the product to be free from defects in material and workmanship under normal usage for a period of one (1) year. The warranty commences from the initial date of purchase by the owner or trade professional, from an authorized Kraus dealer, through the one (1) year term of the original owner or end-user.
Kraus warrants the mechanical component (cartridge) of the product to be free from defects in material and workmanship under normal usage for a period of five (5) years. The warranty commences from the initial date of purchase by the owner or trade professional, from an authorized Kraus dealer, through the five (5) year term of the original owner or end-user.
Any product reported to the authorized dealer or to Kraus as being defective within the warranty period will be repaired or replaced with a product of equal value at the option of Kraus. This warranty extends to the original owner or end-user, and is not transferable to a subsequent owner.
RESTRICTIONS
This warranty does not cover antediluvian, discontinued, or display products, whether such items are purchased at discount outlets, unauthorized dealers, and/or sold on clearance.
This warranty does not cover instances of negligence, misuse, abuse, improper installation, carelessness, accident, hard water or mineral deposits, exposure to corrosive materials, misapplication, damages caused by improper maintenance, alteration of the product, or failure to follow care or installation instructions enclosed with your product. Avoid using abrasive cleaners such as powders, bleach, ammonia, alcohol, or chlorine. Avoid using abrasive pads, steel wool, or wire brushes, as these will damage and wear down the finish.
This warranty does not apply to Products that have not been installed or operated in accordance with instructions supplied by Kraus and all applicable rules, regulations, and legislation pertaining to such installations.
This warranty does not apply unless the Kraus product is installed by a fully insured and licensed trade professional. Kraus insists that such professionals have experience in the installation of bathroom and kitchen manufactured goods.
This warranty does not cover labor charges or costs of removal and reinstallation of said product. This warranty does not allow recoveries of incidental or consequential damages, such as loss of use, delay, property damage, or other consequential damages, and Kraus accepts no liability for such damages.
This warranty does not cover Marine or Outdoor Installation.
Except as otherwise provided above, Kraus makes no warranties, expressed or implied, including warranties of merchantability and fitness for a particular purpose, or compliance with any code.
Shipping charges will be covered for the first (1) year of the warranted replacement part or product (HI, AK and Puerto Rico shipping charges may apply). International shipping fees are not included.
COMMERCIAL WARRANTY
Kraus extends the above warranty for a period of one (1) year to purchasers of products for industrial, commercial, and business use.
All incidental or consequential damages are specifically excluded. No additional warranties, express or implied, are given, including but not limited to any implied warranty of merchantability or fitness for a particular purpose.
Some states do not allow the exclusion or limitation of incidental or consequential damages or limitations on how long an implied warranty lasts, so the above limitations or exclusions may not apply to you.
This warranty gives you specific legal rights, and you may also have other rights which vary from state to state.
KRAUS USA has the right to change, modify, and/or update the warranty policy at any time. For the latest, most up to date comprehensive warranty, go to www.kraususa.com/warranty
If you are a homeowner please contact a Kraus Customer Service Representative at:
Kraus USA, Inc.
12 Harbor Park Drive
Port Washington, NY 11050
Toll-free 800-775-0703
[email protected]
If you are a plumbing contractor or trade professional please contact a Kraus Pro Representative at:
Kraus USA, Inc.
12 Harbor Park Drive
Port Washington, NY 11050
516-801-8955
[email protected]
If you are an Authorized Partner please contact a Partner Support Representative at:
Kraus USA, Inc.
12 Harbor Park Drive
Port Washington, NY 11050
516-801-8954
[email protected]
In requesting warranty service, please be ready to provide:
- Proof of purchase.
- A description of the problem.
Download the Kraus Care & Maintenance Guide at: http://www.kraususa.com/maintenance
IMPORTANT
Register Your Kraus Product
Activate Your Warranty Access Premium Customer Support
Get Product Information
REGISTER TODAY
http://www.kraususa.com/registration![]()

www.kraususa.com






















