
INSTALLATION GUIDE
Ramus™ Single Handle Basin Faucet
KBF-1221
Congratulations on the purchase of your new Kraus plumbing fixture!
Please keep the box and packaging materials until your product is completely installed. If you have any questions, require technical assistance, or have any problems with your product:
DO NOT RETURN TO STORE
Please contact our Customer Service Team1-800-775-0703 / [email protected]
Have the model number available, and retain a copy of your receipt with the purchase date for reference.
If for any reason this product does not meet your expectations, please be sure to repack this product in the original box and packaging material to avoid damage during transit.
Prior to Installation:
- Make sure you have all the necessary parts by checking the diagram and parts list. If any part is missing or damaged, please contact Kraus Customer Service at 800-7750703 for a replacement
- Turn off the hot and cold water lines at the angle stops and turn on the old faucet to release any built-up pressure
- Pre-drilled countertop hole size requirement: 1-3/8”(min)
- Max countertop thickness: 2 5/8”
Tools you will need:

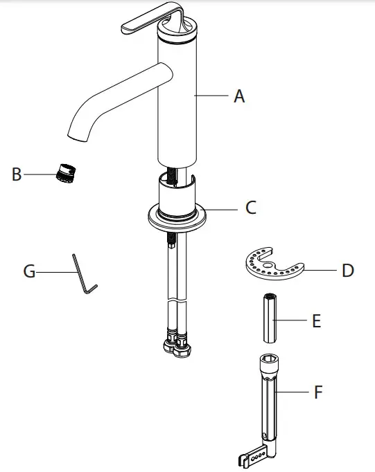
Diagram and Parts List
A. Faucet Body
B. Aerator
C. Flange
D. Metal Washer
E. Lock Nut
F. Spanner Key
G. Hex Wrench
Diagram and Parts List-Lift Rod Drain
| a. Waste Stopper b. Drain Flange c. Rubber Washer d. Concave Washer e. Metal Washer | f. Mounting Nut g. Tail Pipe h. Top Hat Washer i. Drain Off Pole j. Washer | k. Retaining Nut l. Clip m. Extender Rod n. Thumb Screw o. Lift Rod |
Faucet Dimension

Installer Tip:
Shut off the main water supply before installing a new faucet
Drain Dimension

Installer Tip:
Shut off the main water supply before installing a new faucet
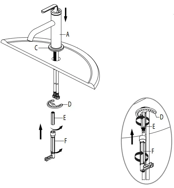
Step 1: Remove lock nut
Shut off the water supply.
Remove the locknut (E) from the faucet (A).
Step 2: Installing the faucet
Before installation, ensure that the flange (C)
is placed on the bottom of the new faucet (A).
Place faucet (A) through the hole in the sink.
Secure the faucet (A) to the sink using the metal washer (D) and locknut (E) provided.
Tighten locknut (E) with spanner key (F) provided. Ensure the metal washer (D) and hoses are no interference.
Step 3: Connect waterlines to the main valve
Attach waterlines to angle stops and tighten until snug. Turn on angles stops and check for leaks (DO NOT TURN FAUCET ON)
NOTE: Please make sure filter washers are installed before connecting to the main valve.
Step 4A: Installing the drain

Remove waste stopper (a) and drain flange (b) from the tailpipe (g). Remove concave washer (d), metal washer (e) and mounting nut (f)
from drain flange (b).
Step 4B: Installing the drain
Insert drain flange (b) through drain hole with rubber washer (c) attached. From underneath, place concave (d) and metal washer (e) on drain flange. Secure with mounting nut (f). Thread tailpipe (g) onto drain (b) and hand tightens.
Step 4C: Installing the drain
Insert waste stopper (a) into drain flange.
Remove extender rod (m) and clip (I) from drain off pole (i). Remove nut (k). Insert drain off pole (i) into drain pole opening of tailpipe (g). See insert 1. Secure nut (k) to drain off pole opening of tailpipe (g).
Step 4D: Installing the drain

Insert lift rod (o) through the spout and connect with extender rod (m). Tighten thumbscrew (n).
Step 4E: Installing the drain

Attach drain off pole (i) to extender rod (m) with clip (I).
Step 4F: Installing the drain![]()
Loosen thumbscrew (n) on extender rod (m).
Push down on lift rod (o) until the stopper is in the open position. Retighten thumb screw (n).
Step 5: Flush faucet
After installing the faucet, remove the aerator (B) with a coin. Turn water on for 30 seconds to remove any debris.
Reassemble aerator (B).
Replacement Parts

| Replacement Parts List | Finish / Color | Part # |
| 1. Cover Button | GR, BL* | KP27159 |
| 2. Set Screw | KP27158 | |
| 3. Handle | SFS, MB, GM, BG, SFSB* | KP27157 |
| 4. Cap & O-ring | SFS, MB, GM, BG, SFSB* | KP27160 |
| 5. Bonnet Nut | KP27161 | |
| 6. Cartridge | KP27162 | |
| 7. Aerator | KP27163 | |
| 8. Flange | SFS, MB, GM, BG, SFSB* | KP27206 |
| 9. Metal Washer & Nut | KP27225 | |
| 10. Spanner Key | KP27144 | |
| 11. Hex Wrench | KP27166 | |
| 12. Lift Rod | SFS, MB, GM, BG, SFSB* | KP27165 |
| 13. Drain Assemble | SFS, MB, GM, BG, SFSB* | KP27019 |
| 14. Filter Washer | KP27167 | |
*Denotes faucet component color options:
SFS – Spot Free Stainless Steel
MB – Matte Black
GM – Gunmetal
BG – Brushed Gold
SFSB – Spot Free Black Stainless
GR – Grey
BL – Black
Troubleshooting
If you have followed the instructions carefully and your faucet still does not work properly, take the following corrective steps:
| PROBLEM | CAUSE | ACTION |
| Leakage under the handle | Bonnet nut (5) has come loose | Remove the cover button (1). Loosen set screw (2) with hex wrench (11). Remove the handle (3). Unscrew cap (4) (by hand only). Tighten bonnet nut (5) with an adjustable wrench |
| Aerator drips or has an inconsistent water flow pattern | Aerator (7) Is dirty or not seated properly | Unscrew aerator (7) with a coin and clean out debris |
| Water will not shut off completely | The cartridge may need to be adjusted or replaced | |
| Remove the cover button (1). Loosen set screw (2) with hex wrench (11). Remove the handle (3). Unscrew cap (4) (by hand only). Tighten bonnet nut (5) with an adjustable wrench. Remove the cartridge (6). Check for cracks | ||
| There is leaking from the sink drain at the base of the sink. | The sink has a rough or irregular surface. | |
| Apply additional silicone sealant to the beveled side of the drain flange. Retighten and test for leaks | ||
| There is a low flow of water. | The filter washer in the hose connectors is dirty | Turn off the water supply at the water valve and unscrew the hose connectors from the water supply lines. Clean the filter washer in the water lines with hot water, removing any debris or calcium build-up |
Care & Maintenance
*To keep the product clean & shining, follow the steps below:
- Rinse with clean water & dry with a soft cloth

- Do not clean with soaps, acid, polish, abrasives, or harsh cleaners
- Do not use a cloth with a coarse surface
- Unscrew the aerator and clean when necessary
*This installation manual is subject to change without further notice.
Codes/Standards Applicable:

Faucet Warranty
Kraus products are manufactured and tested to the highest quality standards by Kraus USA Inc. (”Kraus”).
Kraus extends this warranty to the original purchaser for personal household use of the “Faucet” in its original location.
The warranty is non-transferable.
Kraus warrants the structure and finish of the product to be free from defects in material and workmanship under normal usage for the lifetime of the product. The warranty commences from the initial date of purchase by the owner or trade professional, from an authorized Kraus dealer, through the lifetime of the original owner or end-user.
Kraus warrants the mechanical components such as but not limited to sprayhead assembly (includes engine, aerators, structure, restrictors, back flow preventers, sprayer hoses, braided supply line hoses which encompasses nylon,silicon,e and stainless steel, etc) of the product to be free from defects in material and workmanship under normal usage for a period of one (1) year. The warranty commences from the initial date of purchase by the owner or trade professional, from an authorized Kraus dealer, through the one (1) year term of the original owner or end-user.
Kraus warrants the mechanical component (cartridge) of the product to be free from defects in material and workmanship under normal usage for a period of five (5) years. The warranty commences from the initial date of purchase by the owner or trade professional, from an authorized Kraus dealer, through the five (5) years term of the original owner or end-user.
Any product reported to the authorized dealer or to Kraus as being defective within the warranty period will be repaired or replaced with a product of equal value at the option of Kraus. This warranty extends to the original owner or end-user and is not transferable to a subsequent owner.
Restrictions
This warranty does not cover antediluvian, discontinued, or display products, whether such items are purchased at discount outlets, unauthorized dealers, and/or sold on clearance.
This warranty does not cover instances of negligence, misuse, abuse, improper installation, carelessness, accident, hard water or mineral deposits, exposure to corrosive materials, misapplication, damages caused by improper maintenance, alteration of the product, or failure to follow care or installation instructions enclosed with your product. Avoid using abrasive cleaners such as powders, bleach, ammonia, alcohol, or chlorine. Avoid using abrasive pads, steel wool, or wire brushes, as these will damage and wear down the finish.
This warranty does not apply to Products that have not been installed or operated in accordance with instructions supplied by Kraus and all applicable rules, regulations, and legislation pertaining to such installations.
This warranty does not apply unless the Kraus product is installed by a fully insured and licensed trade professional.
Kraus insists that such professionals have experience in the installation of bathroom and kitchen manufactured goods.
This warranty does not cover labor charges or costs of removal and reinstallation of said product. This warranty does not allow recoveries of incidental or consequential damages, such as loss of use, delay, property damage, or other consequential damages, and Kraus accepts no liability for such damages.
This warranty does not cover Marine or Outdoor Installation.
Except as otherwise provided above, Kraus makes no warranties, expressed or implied, including warranties of merchantability and fitness for a particular purpose, or compliance with any code.
Shipping charges will be covered for the first (1) year of the warranted replacement part or product (HI, AK, and Puerto Rico shipping charges may apply). International shipping fees are not included.
Commercial Warranty
Kraus extends the above warranty for a period of one (1) year to purchasers of products for industrial, commercial, and business use.
All incidental or consequential damages are specifically excluded. No additional warranties, express or implied, are given, including but not limited to any implied warranty of merchantability or fitness for a particular purpose.
Some states do not allow the exclusion or limitation of incidental or consequential damages or limitations on how long an implied warranty lasts, so the above limitations or exclusions may not apply to you. This warranty gives you specific legal rights, and you may also have other rights which vary from state to state.
If you are a homeowner please contact a Kraus Customer Service Representative at:
Kraus USA, Inc.
12 Harbor Park Drive
Port Washington, NY 11050
Toll-free 800-775-0703
[email protected]
If you are a plumbing contractor or trade professional please contact a Kraus
Pro Representative at:
Kraus USA, Inc.
12 Harbor Park Drive
Port Washington, NY 11050
516-801-8955
[email protected]
If you are an Authorized Partner please contact a Partner Support Representative at:
Kraus USA, Inc.
12 Harbor Park Drive
Port Washington, NY 11050
516-801-8954
[email protected]
In requesting warranty service, please be ready to provide:
- Proof of purchase.
- A description of the problem.
Download the Kraus Care & Maintenance Guide at:
http://www.kraususa.com/maintenance
IMPORTANT
Register Your Kraus Product
Activate Your Warranty
Access Premium Customer Support
Get Product Information
REGISTER TODAY
http://www.kraususa.com/registration

www.kraususa.com
Toll-Free: 1.800.775.0703
© 2019 Kraus USA Inc.
REV. APR 08, 2021





















