Kraus KVF-1220 Ramus Single Handle Vessel Faucet Installation Guide
www.kraususa.com I Toll Free: 1.800.775.0703 I © 2019 Kraus USA Inc. I REV. APR 08, 2021
Congratulations on the purchase of your new Kraus plumbing fixture!
Please keep the box and packaging materials until your product is completely installed. If you have any questions, require technical
assistance, or have any problems with your product:

Please contact our Customer Service Team 1-800-775-0703 / [email protected]
Have the model number available, and retain a copy of your receipt with purchase date for reference.
If for any reason this product does not meet your expectations, please be sure to repack this product in the original box and packaging material to avoid damage during transit.
Prior to Installation:
- Make sure you have all necessary parts by checking the diagram and parts list. If any part is missing or damaged, please contact Kraus Customer Service at 800-7750703 for a replacement
- Turn off the hot and cold water lines at the angle stops and turn on the old faucet to release any built-up pressure
- Pre-drilled countertop hole size requirement: 1-3/8″(min) · Max countertop thickness: 2 1/2″
Tools you will need:

Diagram and Parts List

Faucet Dimension

Installer Tip:
Shut off main supply before installing new faucet.

Installer Tip:
Shut off water supply before installing new faucet.
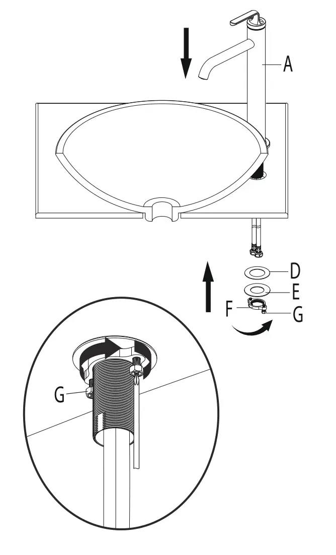
Step 1: Remove washers and mounting nut

Shut off the water supply. Remove the old faucet. Clean the mounting surface. Remove the mounting nut & screws (F&G), metal washer (E) and plastic washer (D) from the faucet (A).
Step 2: Installing the faucet

Place faucet (A) through the hole in countertop. Secure the faucet (A) to the countertop using the plastic washer (D), metal washer (E) and
mounting nut (F) provided. Tighten screws (G).
Step 3: Connect waterlines to main valve

Attach waterlines to angle stops and tighten until snug. Turn on angles stops and check for leaks (DO NOT TURN FAUCET ON)
NOTE are installed before connecting to the main valve
Step 4: Install Press pop-up assembly

Unscrew the nut (6) from the pop-up body (2), move over the tail pipe (7) and washer (5), then unscrew the coupling nut (4) and remove the washer (3).
Step 4: Install Press pop-up assembly

Place the washer (1) underneath the flange of the pop-up body (2). Slide the pop-up body (2) down through the drain hole on the vessel or basin. From underside, slide the washer (3) against the bottom of the vessel or basin, thread on the coupling nut (4) and tighten. Do not overtighten.

Slide the nut (6) over the tail pipe (7). Place the washer (5) into the nut and tighten. Do not overtighten.
Step 5: Flush faucet

After installing faucet, remove aerator (B) with a coin. Turn water on for 30 seconds to remove any debris. Reassemble aerator (B).
Replacement Parts

*Denotes faucet component color options:
SFS – Spot Free Stainless Steel
MB – Matte Black
GM – Gunmetal
BG – Brushed Gold
GR – Grey
BL – Black
Troubleshooting
If you have followed the instructions carefully and your faucet still does not work properly, take the following coorective steps:

Care & Maintenance

*To keep the product clean & shining, follow the steps below:
1. Rinse with clean water & dry with a soft cloth
2. Do not clean with soaps, acid, polish, abrasives, or harsh cleaners
3. Do not use cloth with a coarse surface
4. Unscrew the aerator and clean when necessary
*This installation manual is subject to change without further notice.
Codes/Standards Applicable:

Faucet Warranty
Kraus products are manufactured and tested to the highest quality standards by Kraus USA Inc. (“Kraus”).
Kraus extends this warranty to the original purchaser for personal household use of the “Faucet” in its original location. The warranty is non-transferable.
Kraus warrants the structure and finish of the product to be free from defects in material and workmanship under normal usage for the lifetime of the product. The warranty commences from the initial date of purchase by the owner or trade professional, from an authorized Kraus dealer, through the lifetime of the original owner or end-user.
Kraus warrants the mechanical components such as but not limited to sprayhead assembly (includes engine, aerators, structure, restrictors, back flow preventers, sprayer hoses, braided supply line hoses which encompasses nylon,silicon and stainless steel, etc) of the product to be free from defects in material and workmanship under normal usage for a period of one (1) year. The warranty commences from the initial date of purchase by the owner or trade professional, from an authorized Kraus dealer, through the one (1) year term of the original owner or end-user.
Kraus warrants the mechanical component (cartridge) of the product to be free from defects in material and workmanship under normal usage for a period of five (5) years. The warranty commences from the initial date of purchase by the owner or trade professional, from an authorized Kraus dealer, through the five (5) years term of the original owner or end-user.
Any product reported to the authorized dealer or to Kraus as being defective within the warranty period will be repaired or replaced with a product of equal value at the option of Kraus. This warranty extends to the original owner or end-user, and is not transferable to a subsequent owner.
Restrictions
This warranty does not cover antediluvian, discontinued, or display products, whether such items are purchased at discount outlets, unauthorized dealers, and/or sold on clearance.
This warranty does not cover instances of negligence, misuse, abuse, improper installation, carelessness, accident, hard water or mineral deposits, exposure to corrosive materials, misapplication, damages caused by improper maintenance, alteration of the product, or failure to follow care or installation instructions enclosed with your product. Avoid using abrasive cleaners such as powders, bleach, ammonia, alcohol, or chlorine. Avoid using abrasive pads, steel wool, or wire brushes, as these will damage and wear down the finish.
This warranty does not apply to Products that have not been installed or operated in accordance with instructions supplied by Kraus and all applicable rules, regulations, and legislation pertaining to such installations.
This warranty does not apply unless the Kraus product is installed by a fully insured and licensed trade professional. Kraus insists that such professionals have experience in the installation of bathroom and kitchen manufactured goods.
This warranty does not cover labor charges or costs of removal and reinstallation of said product. This warranty does not allow recovery of incidental or consequential damages, such as loss of use, delay, property damage, or other consequential damages, and Kraus accepts no liability for such damages.
This warranty does not cover Marine or Outdoor Installation.
Except as otherwise provided above, Kraus makes no warranties, expressed or implied, including warranties of merchantability and fitness for a particular purpose, or compliance with any code.
Shipping charges will be covered foe the first (1) year of the warranted replacement part or product (HI, AK, and Puerto Rico shipping charges may apply). International shipping fees are not included.
Commercial Warranty
Kraus extends the above warranty for a period of one (1) year to purchasers of products for industrial, commercial, and business use.
All incidental or consequential damages are specifically excluded. No additional warranties, express or implied, are given, including but not limited to any implied warranty of merchantability or fitness for a particular purpose. Some states do not allow the exclusion or limitation of incidental or consequential damages or limitations on how long an implied warranty lasts, so the above limitations or exclusions may not apply to you. This warranty gives you specific legal rights, and you may also have other rights which vary from state to state.
If you are a homeowner please contact a Kraus Customer Service Representative at:
Kraus USA, Inc.
12 Harbor Park Drive
Port Washington, NY 11050
Toll-free 800-775-0703
[email protected]
If you are a plumbing contractor or trade professional please contact a Kraus Pro Representative at:
Kraus USA, Inc.
12 Harbor Park Drive
Port Washington, NY 11050
516-801-8955
[email protected]
Partner please contact a Partner Support Representative at:
Kraus USA, Inc.
12 Harbor Park Drive
Port Washington, NY 11050
516-801-8954
[email protected]
In requesting warranty service, please be ready to provide:
- Proof of purchase.
- A description of the problem.
Download the Kraus Care & Maintenance Guide at:
http://www.kraususa.com/maintenance

Register Your Kraus Product
Activate Your Warranty
Access Premium Customer Support
Get Product Information
REGISTER TODAY
http://www.kraususa.com/registration
![]()





















