Kraus Oletto™ Single Handle Kitchen Faucet KPF- 2620 Installation Guide
Congratulations on the purchase of your new Kraus plumbing fixture!
Please keep the box and packaging materials until your product is
completely installed. If you have any questions, require technical
assistance, or have any problems with your product:
DO NOT RETURN TO STORE
Please contact our Customer Service Team
1-800-775-0703 / [email protected]
Have the model number available, and retain a copy of your receipt
with purchase date for reference.
If for any reason this product does not meet your expectations, please be sure to repack this product in the original box and packaging material to avoid damage during transit.
Prior to Installation:
- Make sure you have all necessary parts by checking the diagram and parts list. If any part is missing or damaged, please contact Kraus Customer Service at 800-775- 0703 for a replacement.
- Turn off the hot and cold water lines at the angle stops and turn on the old faucet to release any built-up pressure.
- Pre-drilled countertop hole size requirement: 1-3/8”(min).
- Max countertop thickness: 2-1/8” .
Tools you will need:
Wrench
Phillips Screwdriver
Pipe Tape
Silicone Sealant (optional)
Safety Goggles
Diagram and Parts List

A; Spray Head
B; Faucet Body
C; Escutcheon
D; Gasket
E; Easy Install Assembly
F; Weight
G; Weight Clip
H; Quick Connector
I;. 2.5mm Hex Wrench
J; 6mm Hex Wrench
Faucet Dimension

Installer Tip:
Shut off main water supply before installing new faucet.
Step 1a: Installing the easy install assembly (Without escutcheon)
Shut off the water supply. Remove the old faucet. Clean the mounting surface. Check for the proper thickness of the sink. Insert the base (a) into sink. If your model does have a escutcheon, skip to step 1 b.
NOTE: “Front” on the base (a) must face the front of the sink. The two mounting plates (b) on the base (a) must be loose and movable during the installation of the base (a).
Step 1b: Installing the easy install assembly (With escutcheon)
Place the escutcheon (C) and the gasket (D) on the sink. Insert the base (a) into escutcheon (C). Note: “Front” on the base (a) must face the front of the sink. The two mounting plates (b) on the base (a) must be loose and movable during the installation of the base (a). If the sink is uneven, use silicone under the gasket (D).

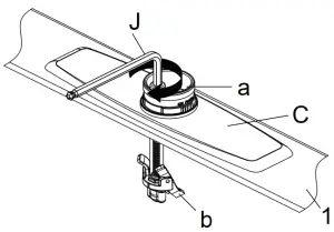
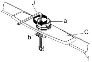
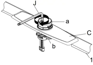
Step 2: Installing the easy install assembly




Press the base (a) and escutcheon (C) so that they can not move, then turn the screws with the provided hex wrench (J, HEX: 6.0mm) clockwise, as shown Fig 1. When the mounting plates (b) make contact with the sink (1), continue to turn the screw with the provided hex wrench (J, HEX: 6.0mm) clockwise, as shown Fig 2, until the base (a) is completely tightened and secured, as shown Fig.4.
Step 3: Installing the faucet
Insert the hose (1)、supply lines (2) and quick connect hose (3) one by one through the hole of the base (a). Carefully insert the hoses into the base. Place the faucet assembly onto the base (a) as shown in the above figure. Secure the faucet assembly (B) by tightening the set screw with the provided hex wrench (I, Hex: 2.5 mm).
Step 4: Securing the faucet assembly

Install the weight clip (G) at the point of the hose marking “weight here”. Insert the weight (F) onto the weight clip (G) by sliding it down onto the weight clip (G).
Step 5: Connect waterlines to main valve

Attach waterlines to angle stops and tighten until snug. Turn on angles stops and check for leaks (DO NOT TURN FAUCET ON).
NOTE Please make sure filter washers are installed before connecting to the main valve.
Step 6: Flush faucet

Pull the hose assembly out of the spout and remove the spray head (A) by unscrewing it from the hose in a counterclockwise direction. Be sure to hold the end of the hose down into the sink and turn the faucet on to the warm position where it mixes hot and cold water. Flush the water lines for one minute. This flushes away any debris that could cause damage to internal parts. Check for leaks. Re-tighten any connections if necessary, but do not overtighten. Reinstall the spray head (A) by hand tightening it back onto the sprayer hose. After installation is completed, turn on the hot and cold water supplies. Check for leaks.
NOTE: Please make sure washer is installed attaching sprayer to hose.
Replacement Parts
| Replacement Parts | |||
![]() | |||
| KP27211 | |||
| 7. Cartridge | KP27257 | ||
| 8. Bonnet Nut | KP27258 | ||
| 9. Cap | BB, CH, SFS, MB, SFACB* | KP27259 | |
| 10. Handle | BB, CH, SFS, MB, SFACB* | KP27260 | |
| 11. Set Screw | KP27001 | ||
| 12. Cover Button | GR, BL* | KP27002 | |
| 13. Weight & Clip Assembly | KP27212 | ||
| 14. 1.8GPM Flow Restrictor | KP27074 | ||
| 15. Hex wrench | KP27020 | ||
| 16. Easy Install Assembly | KP27262 | ||
| 17. Hex Wrench | KP27263 | ||
| 18. Escutcheon | BB, CH, SFS, MB, SFACB* | KP27261 | |
| 19. Block | KP27073 | ||
| 20. O-ring | KP27092 | ||
| 21. Filter Washer | KP27167 | ||
*Denotes faucet component color options:
CH- Polished Chrome ; SFS – Spot Free Stainless Steel ; BB – Brushed Brass;
MB – Matte Black; SFACB – Spot Free Antique Champagne Bronze;
Gray hose with Spot-Free Stainless connector (GRSFS);
Gray hose with Chrome connector (GRCH);
Black hose with Brushed Brass connector (BLBB);
Black hose with Matte Black connector (BLMB);
Black hose with Spot-Free Antique Champagne Bronze (BLSFACB);
GR – Grey;
BL – Black
Troubleshooting
If you have followed the instructions carefully and your faucet still does not work properly, take the following coorective steps:
PROBLEM | CAUSE | ACTION |
| Leakage under the handle | Bonnet nut (9) has come loose | Remove the cover button (12). Loosen set screw (11) with hex wrench (15). Remove the handle (10) and cap (9). Tighten bonnet nut (8) with an adjustable wrench |
| The aerator has an irregular or reduced water flow | The aerator is dirty or mis-fitted | Remove the aerator and check for debris. Ensure that the rubber washer is properly installed. |
| Water will not shut off completely | Cartridge may need to be adjusted or replaced | Remove the cover button (12). Loosen set screw (11) with hex wrench (15). Remove the handle (10) and cap (9). Tighten bonnet nut (8) with an adjustable wrench. Remove the cartridge (7). Check for cracks |
| There is leaking from the sink drain at the base of the sink. | The sink has a rough or irregular surface. | Apply additional silicone sealant to the beveled side of the drain Orange. Retighten and test for leaks |
| There is a low flow of water. | The filter washer in the hose connectors is dirty | Turn off the water supply at water valve and unscrew the hose connectors from water supply lines. Clean the filter washer in the water lines with hot water, removing any debris or calcium build up |
Care & Maintenance
*To keep the product clean & shining, follow the steps below:
- Rinse with clean water & dry with a soft cloth
- Do not clean with soaps, acid, polish, abrasives, or harsh cleaners
- Do not use cloth with a coarse surface
- Unscrew the aerator and clean when necessary


*This installation manual is subject to change without further notice.
Codes/Standards Applicable:

ASME A112.18.1 1.8GPM 6.8L/min maximum
Faucet Warranty
Kraus products are manufactured and tested to the highest quality standards by Kraus USA Inc. (“Kraus”). Kraus extends this warranty to the original purchaser for personal household use of the “Faucet” in its original location. The warranty is non-transferable.
Kraus warrants the structure and finish of the product to be free from defects in material and workmanship under normal usage for the lifetime of the product. The warranty commences from the initial date of purchase by the owner or trade professional, from an authorized Kraus dealer, through the lifetime of the original owner or end-user.
Kraus warrants the mechanical components such as but not limited to spray head assembly (includes engine, aerators, structure, restrictors, back flow preventers, sprayer hoses, braided supply line hoses which encompasses nylon, silicon and stainless steel, etc) of the product to be free from defects in material and workmanship under normal usage for a period of one (1) year. The warranty commences from the initial date of purchase by the owner or trade professional, from an authorized Kraus dealer, through the one (1) year term of the original owner or end-user.
Kraus warrants the mechanical component (cartridge) of the product to be free from defects in material and workmanship under normal usage for a period of five (5) years. The warranty commences from the initial date of purchase by the owner or trade professional, from an authorized Kraus dealer, through the five (5) year term of the original owner or end-user.
Kraus warrants all electronic parts other than batteries to be free from defects in material and workmanship for a period of two (2) years. The warranty commences from the initial date of purchase by the owner or trade professional, from an authorized Kraus dealer, through the two (2) year term of the original owner or end-user. No warranty is provided on batteries.
Any product reported to the authorized dealer or to Kraus as being defective within the warranty period will be repaired or replaced with a product of equal value at the option of Kraus. This warranty extends to the original owner or end-user, and is not transferable to a subsequent owner.
Restrictions
This warranty does not cover antediluvian, discontinued, or display products, whether such items are purchased at discount outlets, unauthorized dealers, and/or sold on clearance.
This warranty does not cover instances of negligence, misuse, abuse, improper installation, carelessness, accident, hard water or mineral deposits, exposure to corrosive materials, misapplication, damages caused by improper maintenance, alteration of the product, or failure to follow care or installation instructions enclosed with your product. Avoid using abrasive cleaners such as powders, bleach, ammonia, alcohol, or chlorine. Avoid using abrasive pads, steel wool, or wire brushes, as these will damage and wear down the finish.
This warranty does not apply to Products that have not been installed or operated in accordance with instructions supplied by Kraus and all applicable rules, regulations, and legislation pertaining to such installations.
This warranty does not apply unless the Kraus product is installed by a fully insured and licensed trade professional. Kraus insists that such professionals have experience in the installation of bathroom and kitchen manufactured goods.
This warranty does not cover labor charges or costs of removal and reinstallation of said product. This warranty does not allow recovery of incidental or consequential damages, such as loss of use, delay, property damage, or other consequential damages, and Kraus accepts no liability for such damages. This warranty does not cover Marine or Outdoor Installation.
Except as otherwise provided above, Kraus makes no warranties, expressed or implied, including warranties of merchantability and fitness for a particular purpose, or compliance with any code.
Shipping charges will be covered foe the first (1) year of the warranted replacement part or product (HI, AK, and Puerto Rico shipping charges may apply). International shipping fees are not included.
Commercial Warranty
Kraus extends the above warranty for a period of one (1) year to purchasers of products for industrial, commercial, and business use.
All incidental or consequential damages are specifically excluded. No additional warranties, express or implied, are given, including but not limited to any implied warranty of merchantability or fitness for a particular purpose. Some states do not allow the exclusion or limitation of incidental or consequential damages or limitations on how long an implied warranty lasts, so the above limitations or exclusions may not apply to you. This warranty gives you specific legal rights, and you may also have other rights which vary from state to state.
If you are a homeowner please contact a Kraus Customer Service Representative at:
Kraus USA, Inc.
12 Harbor Park Drive
Port Washington, NY 11050
Toll-free 800-775-0703
[email protected]
If you are a plumbing contractor or trade professional please contact a Kraus Pro Representative at:
Kraus USA, Inc.
12 Harbor Park Drive
Port Washington, NY 11050
516-801-8955
[email protected]
If you are an Authorized Partner please contact a Partner Support Representative at:
Kraus USA, Inc.
12 Harbor Park Drive
Port Washington, NY 11050
516-801-8954
[email protected]
In requesting warranty service, please be ready to provide:
- Proof of purchase.
- A description of the problem
Download the Kraus Care & Maintenance Guide at: http://www.kraususa.com/maintenance
IMPORTANT
Register Your Kraus Product
Activate Your Warranty
Access Premium Customer Support
Get Product Information
REGISTER TODAY
http://www.kraususa.com/registration























