
Bolden TM Single Handle Pull
Down Kitchen Faucet
KPF-1610
INSTALLATION MANUAL
Congratulations on the purchase of your new Kraus plumbing fixture!
Please keep the box and packaging materials until your product is completely installed. If you have any questions, require technical assistance or have any problems with your product:
DO NOT RETURN TO STORE
Please contact our Customer Service Team at 1-800-775-0703 / [email protected]
Have the model number available and retain a copy of your receipt with the purchase date for reference.
If for any reason this product does not meet your expectations, please be sure to repack this product in the original box and packaging material to avoid damage during transit.
Prior to Installation:
- Make sure you have all the necessary parts by checking the diagram and parts list. If any part is missing or damaged, please contact KrausCustomer Service at 800-775-0703 for a replacement.
- Turn off the hot and cold water supply at the angle stops and turn on the old faucet to release any built-up pressure. Remove existing faucet. Clean sink or countertop to remove any debris, plumber’s putty, or silicone.
- Flush angle stops to release any debris prior to installation.
- Pre-drilled hole size requirement: 1 3/8″ (min)
- Max countertop thickness: 1 3/4”
For technical assistance or replacement parts, please contact Kraus Customer Service and one of our representatives will be happy to help:
Toll-Free: 800-775-0703 or [email protected]
Tools Required
Diagram and Parts List
A. Spray Head
B. Faucet Body
C. Mounting Hardware
• Rubber & Metal Washer
• Mounting Nut
• Mounting Screws
D. Quick Connector
E. Weight
• Weight Clip
• Weight
F. 2.5mm Hex Wrench
Faucet Dimension
Installer Tip:
Shut off main water supply before installing new faucet.
Step 1. Remove mounting hardware
Shut off the water supply. Remove the old faucet. Clean the mounting surface. Remove mounting hardware (C) from faucet body (B).
Step 2. Installing the faucet assembly
Optional No Escutcheon Installation. Insert faucet body through the hole in the sink.
Step 3. Securing the faucet assembly
Install the rubber washer and metal washer (C1) onto the threaded mounting shank. Thread the nut (C2) onto the mounting shank. Lock the nut (C2) into position by tightening the screws (C3). Do not overtighten.
Step 4. Securing the faucet assembly
Push the quick connector (D) firmly upward and attach it to the receiving block (1). Pull down moderately to ensure the connection has been made.
Step 5. Securing the faucet assembly
Install the weight clip (E1) at the point of the hose marking “weight here”. Insert the weight (E2) onto the clip (E1) by sliding it down onto the clip (E1).
Step 6. Making the waterline connections
Thread the nut (1) on the supply line onto the outlet of the water supply valve and tighten with a wrench. Do not overtighten.

NOTE: Please make sure filter washers are installed before connecting to the main valve.
Step 7. Flushing and checking for leaks
Pull the hose assembly out of the spout and remove the spray head by unscrewing it from the hose in a counterclockwise direction. Be sure to hold the end of the hose down into the sink and turn the faucet on to the warm position where it mixes hot and cold water. Flush the water lines for one minute. This flushes away any debris that could cause damage to internal parts. Check for leaks. Re-tighten any connections if necessary, but do not overtighten. Reinstall the spray head by hand tightening it back onto the spray hose. After installation is completed, turn on the hot and cold water supplies. Check for leaks.
Replacement Parts
*Denotes spray hose assembly color options: Spray hose assembly color options: Black hose w/ Brushed Gold connector (BLBG), Black hose with Spot-Free Stainless connector (BLSFS), Gray hose with Chrome connector (GRCH), Gray hose with Spot-Free Stainless connector (GRSFS), Gray hose with Stainless Steel connector (GRSS), Black hose with Matte Black connector (BLMB), Black hose with Stainless Steel connector (BLSS), Black hose with Spot-Free Antique Champagne Bronze (BLSFACB)
**Denotes faucet component color options:
CH – Chrome
SFS – Spot Free Stainless Steel
SS – Stainless Steel
MB – Matte Black
BG – Brushed Gold
SB – Black Stainless
MBSFSB – Matte Black/Spot Free Stainless Steel
SFACB – Spot Free Antique Champagne Bronze
SFACBMB – Spot Free Antique Champagne
Bronze/Matte Black
MBSB – Matte Black/Black Stainless
SFSCH – Spot Free Stainless Steel/Chrome
BGMB – Brushed Gold/Matte Black
SFSB – Spot Free Black Stainless
SFSMB – Spot Free Stainless Steel/Matte Black
SSMB – Stainless Steel/Matte Black
SSCH – Stainless Steel/Chrome
BL – Black
WH – White
GR- Grey
| Replacement Parts List | Finish/Color | Part # |
| 1. Sprayer | CH,SFS,SS,SB,MB,SFSB,BG, SFACB,SFACBMB,BGMB** | KP27087 |
| 2. Screen Washer | KP27088 | |
| 3. Sprayer Hose | BLBG,BLMB,BLSFS,BLSS,GRCH BLSFACB,GRSFS,GRSS** | KP27089 |
| 4. Flow Regulator Assembly (1.8GPM) | WH** | KP27074 |
| 5. Quick Connector Assembly | KP27090 | |
| 6. Spring Assembly | CH,MB,SB,SFACB,SFS,BG,SFSB** | KP27220 |
| 7. Sprayer Holder Assembly | CH,SFS,SS,SB,SFSMB,BG,SFACB, MB,SFACBMB,BGMB,SFSB,MBSB, SFSCH,SSCH,SSMB,MBSFSB** | KP27231 |
| 7.1. Inverter | KP27122 | |
| 7.2. Wearable Ring & O-ring Assembly | KP27085 | |
| 8. Sprayer Support Assembly | CH,SFS,SS,SB,SFSMB,BG,SFACB, MB,SFACBMB,BGMB,SFSB,SSMB, SFSCH,SSCH,MBSB,MBSFSB** | KP27232 |
| 9. Set Screw | KP27084 | |
| 10. Index | BL, GR** | KP27124 |
| 11. Cartridge Kerox K-35 | KP27083 | |
| 12. Bonnet Nut | KP27082 | |
| 13. Cap | CH, SFS, SS, SB, MB, BG, SFACB, SFSB** | KP27081 |
| 14. Handle Assembly | CH, SFS, SS, SB, MB, BG, SFACB, SFSB** | KP27072 |
| 15. Set Screw | KP27001 | |
| 16. Cover Button | BL, GR** | KP27002 |
| 17. Washer | KP27091 | |
| 18. Rubber & Metal Washer | KP27028 | |
| 19. Mounting Nut & Screws | KP27020 | |
| Screws | KP27079 | |
| 20. Block | KP27073 | |
| 21. O-ring | KP27092 | |
| 22. Weight & Clip Assembly | KP27093 | |
| 23. Hex Wrench | KP27167 | |
| 24. Inverter | KP27123 | |
| 25. Filter Washers | KP27087 |
Trouble-Shooting
If you have followed the instructions carefully and your faucet still does not work properly, take the following corrective steps:
| PROBLEM | CAUSE | ACTION |
| Leakage under faucet handle | Bonnet nut (11) has come loose | Remove the cover button (15). Loosen set screw (14) with hex wrench (22). Remove the handle. Unscrew cap (12). Tighten bonnet nut (11) with an adjustable wrench. |
| The aerator has an irregular or reduced water flow | The aerator is dirty or misfitted | Remove the aerator and check for debris. Ensure that the rubber washer is properly installed. |
| The water pressure is low. | The connector underneath the deck is clogged with debris The aerator is clogged | Turn off the water supply and disconnect the connector/ aerator. Unscrew the connector/ aerator and clean under running water. Screw the connector/aerator back. Test water flow. If the water pressure is still low then replace the connector/ aerator. |
| There is a low flow of water. | The screen filter in the hose connectors is dirty. | Turn off the water supply at the water valve and unscrew the hose connectors from water supply lines. Clean the screen in the water lines with hot water, removing any debris or calcium buildup. |
Care & Maintenance
To keep the product clean & shining, follow the steps below:
- Rinse with clean water & dry with a soft cloth
- Do not clean with soaps, acid, polish, abrasives, or harsh cleaners
- Do not use a cloth with a coarse surface
- Unscrew the aerator and clean when necessary

This installation manual is subject to change without further notice.
Codes/Standards Applicable:
ASME A112.18.1
1.8GPM 6.8L/min maximum
FAUCET WARRANTY
Kraus products are manufactured and tested to the highest quality standards by Kraus USA Inc. (“Kraus”).
Kraus extends this warranty to the original purchaser for personal household use of the “Faucet” in its original location. The warranty is non-transferable.
Kraus warrants the structure and finish of the product to be free from defects in material and workmanship under normal usage or the lifetime of the product. The warranty commences from the initial date of purchase by the owner or trade professional, from an authorized Kraus dealer, through the lifetime of the original owner or end-user.
Kraus warrants the mechanical components such as but not limited to spray head assembly (includes engine, aerators, structure, restrictors, backflow preventers, sprayer hoses, braided supply line hoses which encompasses nylon, silicone, and stainless steel, etc) of the product to be free from defects in material and workmanship under normal usage for a period of one (1) year. The warranty commences from the initial date of purchase by the owner or trade professional, from an authorized Kraus dealer, through the one (1) year term of the original owner or end-user.
Kraus warrants the mechanical component (cartridge) of the product to be free from defects in material and workmanship under normal usage for a period of five (5) years. The warranty commences from the initial date of purchase by the owner or trade professional, from an authorized Kraus dealer, through the five (5) year term of the original owner or end-user.
Any product reported to the authorized dealer or to Kraus as being defective within the warranty period will be repaired or replaced with a product of equal value at the option of Kraus. This warranty extends to the original owner or end-user,
and is not transferable to a subsequent owner.
RESTRICTIONS
This warranty does not cover antediluvian, discontinued, or display products, whether such items are purchased at discount outlets, unauthorized dealers, and/or sold on clearance.
This warranty does not cover instances of negligence, misuse, abuse, improper installation, carelessness, accident, hard water or mineral deposits, exposure to corrosive materials, misapplication, damages caused by improper maintenance, alteration of the product, or failure to follow care or installation instructions enclosed with your product. Avoid using abrasive cleaners such as powders, bleach, ammonia, alcohol, or chlorine. Avoid using abrasive pads, steel wool, or wire brushes, as these will damage and wear down the finish.
This warranty does not apply to Products that have not been installed or operated in accordance with instructions supplied by Kraus and all applicable rules, regulations, and legislation pertaining to such installations.
This warranty does not apply unless the Kraus product is installed by a fully insured and licensed trade professional. Kraus insists that such professionals have experience in the installation of bathroom and kitchen manufactured goods.
This warranty does not cover labor charges or costs of removal and reinstallation of said product. This warranty does not allow recoveries of incidental or consequential damages, such as loss of use, delay, property damage, or other consequential damages, and Kraus accepts no liability for such damages.
This warranty does not cover Marine or Outdoor Installation.
Except as otherwise provided above, Kraus makes no warranties, expressed or implied, including warranties of merchantability and fitness for a particular purpose, or compliance with any code.
Shipping charges will be covered for the first (1) year of the warranted replacement part or product (HI, AK and Puerto Rico shipping charges may apply). International shipping fees are not included.
COMMERCIAL WARRANTY
Kraus extends the above warranty for a period of one (1) year to purchasers of products for industrial, commercial, and business use.
All incidental or consequential damages are specifically excluded. No additional warranties, express or implied, are given, including but not limited to any implied warranty of merchantability or fitness for a particular purpose.
Some states do not allow the exclusion or limitation of incidental or consequential damages or limitations on how long an implied warranty lasts, so the above limitations or exclusions may not apply to you.
This warranty gives you specific legal rights, and you may also have other rights which vary from state to state.
KRAUS USA has the right to change, modify, and/or update the warranty policy at any time. For the latest, most up to date comprehensive warranty, go to www.kraususa.com/warranty
If you are a homeowner please contact a Kraus Customer Service Representative at:
Kraus USA, Inc.
12 Harbor Park Drive
Port Washington, NY 11050
Toll-free 800-775-0703
[email protected]
If you are a plumbing contractor or trade professional please contact a Kraus Pro Representative at:
Kraus USA, Inc.
12 Harbor Park Drive
Port Washington, NY 11050
516-801-8955
[email protected]
If you are an Authorized Partner please contact a Partner Support Representative at:
Kraus USA, Inc.
12 Harbor Park Drive
Port Washington, NY 11050
516-801-8954
[email protected]
In requesting warranty service, please be ready to provide:
1.Proof of purchase.
2. A description of the problem.
Download the Kraus Care & Maintenance Guide at: http://www.kraususa.com/maintenance
IMPORTANT
Register Your Kraus Product
Activate Your Warranty
Access Premium Customer Support
Get Product Information
REGISTER TODAY
http://www.kraususa.com/registration


INSTALLATION GUIDE
Purita™ Single Handle Water
Filtration Faucet
FF-100
Congratulations on the purchase of your new kraus plumbing fixture!
Please keep the box and packaging materials until your product is completely installed. If you have any questions, require technical assistance, or have any problems with your product:
DO NOT RETURN TO STORE
Please contact our Customer Service Team
1-800-775-0703 / [email protected]
Have the model number available, and retain a copy of your receipt with the purchase date for reference.
If for any reason this product does not meet your expectations, please be sure to repack this product in the original box and packaging material to avoid damage during transit.
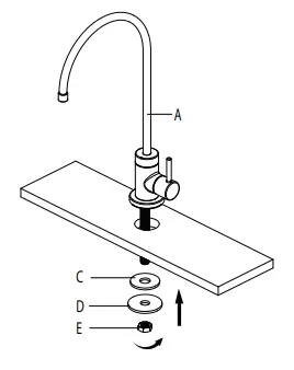
Prior to Installation:
- Make sure you have all the necessary parts by checking the diagram and parts list. If any part is missing or damaged, please contact Kraus Customer Service at 800-7750703 for a replacement
- Turn off the hot and cold water lines at the angle stops and turn on the old faucet to release any built-up pressure
- Pre-drilled countertop hole size requirement: 1 1/4”(min)
- Max countertop thickness: 3 1/16”
Tools you will need:
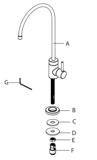
Diagram and Parts List
A. Faucet Assembly
B. Flange
C. Rubber Washer
D. Metal Washer
E. Mounting Nut
F. Connector
G. Hex Wrench
Faucet Dimension
Installer Tip:
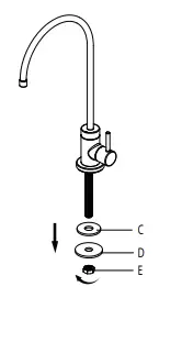
Step 1: Preparing for installation Remove the rubber washer (C), metal washer (D), and mounting nut (E) from the end of the stud.
Step 2: Installing the faucet assembly Place the faucet assembly (A) through the selected hole in the sink or countertop. On the underside of the sink or countertop, slide the rubber washer (C) and metal washer (D) onto the stud. Thread the mounting nut (E) onto the stud, and tighten securely using your wrench.
Step 3: Connecting the quick connect adaptor and water line Thread the quick connect adaptor (F) onto the end of the faucet assembly (A) stud, and tighten securely using a wrench.
Connect the 3/8 in. water line from the filtration system by pushing the line into the connector (F). Pull down on the 3/8 in. line slightly to ensure the quick connect fitting has engaged.
Replacement Parts

| Replacement Parts List | Finish / Color | Part # |
| 1. O-ring | KP27168 | |
| 2. Spout Nut | CH, SFS, MB, BG, BB, SFACB, SFSB* | KP27169 |
| 3. Locking Ring | KP27170 | |
| 4. O-ring | KP27171 | |
| 6. Handle | CH, SFS, MB, BG, BB, SFACB, SFSB* | KP27173 |
| 5. Cartridge | KP27172 | |
| 7. Index | GR, BL* | KP27194 |
| 8. Flange | CH, SFS, MB, BG, BB, SFACB, SFSB* | KP27174 |
| 9. Rubber Washer | KP27175 | |
| 10. Metal Washer | KP27176 | |
| 11. Mounting Nut | KP27177 | |
| 12. Connector | KP27178 |
*Denotes faucet component color options:
CH – Polished Chrome
SFS – Spot Free Stainless Steel
MB – Matte Black
BG – Brushed Gold
BB – Brushed Brass
SFACB – Spot Free Antique Champagne Bronze
SFSB – Spot Free Black Stainless
GR – Grey
BL – Black
Trouble – Shooting
If you have followed the instructions carefully and your faucet still does not work properly, take the following corrective steps:
| PROBLEM | CAUSE | ACTION |
| Leakage under the handle | Cartridge (5) has come loose | Remove index (7) and loosen set screw with hex wrench (13). Remove the handle. Tighten cartridge (5) with an adjustable wrench
|
| Water will not shut off Completely Close | The cartridge may need to be adjusted or replaced | Remove index (7) and loosen set screw with hex wrench (13). Remove the handle. Tighten cartridge (5) with an adjustable wrench. Remove the cartridge (5). Check for cracks Push |
Care & Maintenance
*To keep the product clean & shining, follow the steps below :
- Rinse with clean water & dry with a soft cloth
- Do not clean with soaps, acid, polish, abrasives, or harsh cleaners
- Do not use cloth with a coarse surface
- Unscrew the aerator and clean when necessary

*This installation manual is subject to change without further notice.
Codes/Standards Applicable:

ASME A112.18.1
1GPM 3.8L/min maximum
Faucet Warranty
Kraus products are manufactured and tested to the highest quality standards by Kraus USA Inc. (”Kraus”).
Kraus extends this warranty to the original purchaser for personal household use of the “Faucet” in its original location. The warranty is non-transferable.
Kraus warrants the structure and finish of the product to be free from defects in material and workmanship under normal usage for the lifetime of the product. The warranty commences from the initial date of purchase by the owner or trade professional, from an authorized Kraus dealer, through the lifetime of the original owner or end-user.
Kraus warrants the mechanical components such as but not limited to sprayhead assembly (includes engine, aerators, structure, restrictors, back flow preventers, sprayer hoses, braided supply line hoses which encompasses nylon,silicon and stainless steel, etc) of the product to be free from defects in material and workmanship under normal usage for a period of one (1) year. The warranty commences from the initial date of purchase by the owner or trade professional,from an authorized Kraus dealer, through the one (1) year term of the original owner or end-user.
Kraus warrants the mechanical component (cartridge) of the product to be free from defects in material and workmanship under normal usage for a period of five (5) years. The warranty commences from the initial date of purchase by the owner or trade professional, from an authorized Kraus dealer, through the five (5) years term of the original owner or end-user.
Any product reported to the authorized dealer or to Kraus as being defective within the warranty period will be repaired or replaced with a product of equal value at the option of Kraus. This warranty extends to the original owner or end-user, and is not transferable to a subsequent owner.
Restrictions
This warranty does not cover antediluvian, discontinued, or display products, whether such items are purchased at discount outlets, unauthorized dealers, and/or sold on clearance.
This warranty does not cover instances of negligence, misuse, abuse, improper installation, carelessness, accident, hard water or mineral deposits, exposure to corrosive materials, misapplication, damages caused by improper maintenance, alteration of the product, or failure to follow care or installation instructions enclosed with your product. Avoid using abrasive cleaners such as powders, bleach, ammonia, alcohol, or chlorine. Avoid using abrasive pads, steel wool, or wire brushes, as these will damage and wear down the finish.
This warranty does not apply to Products that have not been installed or operated in accordance with instructions supplied by Kraus and all applicable rules, regulations, and legislation pertaining to such installations.
This warranty does not apply unless the Kraus product is installed by a fully insured and licensed trade professional. Kraus insists that such professionals have experience in the installation of bathroom and kitchen manufactured goods. This warranty does not cover labor charges or costs of removal and reinstallation of said product. This warranty does not allow recovery of incidental or consequential damages, such as loss of use, delay, property damage, or other consequential damages, and Kraus accepts no liability for such damages.
This warranty does not cover Marine or Outdoor Installation.
Except as otherwise provided above, Kraus makes no warranties, expressed or implied, including warranties of merchantability and fitness for a particular purpose, or compliance with any code.
Shipping charges will be covered foe the first (1) year of the warranted replacement part or product (HI, AK, and Puerto
Rico shipping charges may apply). International shipping fees are not included.
Commercial Warranty
Kraus extends the above warranty for a period of one (1) year to purchasers of products for industrial, commercial, and business use.
All incidental or consequential damages are specifically excluded. No additional warranties, express or implied, are given, including but not limited to any implied warranty of merchantability or fitness for a particular purpose. Some states do not allow the exclusion or limitation of incidental or consequential damages or limitations on how long an implied warranty lasts, so the bove limitations or exclusions may not apply to you. This warranty gives you specific legal rights, and you may also have other rights which vary from state to state.
If you are a homeowner please contact a Kraus Customer Service Representative at:
Kraus USA, Inc.
12 Harbor Park Drive
Port Washington, NY 11050
Toll-free 800-775-0703
[email protected]
If you are a plumbing contractor or trade professional please contact a Kraus
Pro Representative at:
Kraus USA, Inc.
12 Harbor Park Drive
Port Washington, NY 11050
516-801-8955
[email protected]
If you are an Authorized Partner please contact a Partner Support Representative at:
Kraus USA, Inc.
12 Harbor Park Drive
Port Washington, NY 11050
516-801-8954
[email protected]
In requesting warranty service, please be ready to provide:
1. Proof of purchase.
2. A description of the problem.
Download the Kraus Care & Maintenance Guide at:
http://www.kraususa.com/maintenance
IMPORTANT
Register Your Kraus Product
Activate Your Warranty
Access Premium Customer Support
Get Product Information
REGISTER TODAY
http://www.kraususa.com/registration


Installer Tip:
Installer Tip:
Replacement Parts



















