Kraus KPF-2523 Arqo M Pull Down Kitchen Faucet

Congratulations on the purchase of your new Kraus plumbing fixture!
Please keep the box and packaging materials until your product is completely installed. If you have any questions, require technical assistance or have any problems with your product:
![]() Please contact our Customer Service Team 1-800-775-0703 / [email protected] Have the model number available and retain a copy of your receipt with purchase date for reference. If for any reason this product does not meet your expectations, please be sure to repack this product in the original box and packaging material to avoid damage during transit. |
Prior to Installation:
|
For technical assistance or replacement parts, please contact Kraus Customer Service and one of our representatives will be happy to help:
Toll-Free: 800-775-0703 or [email protected]
Tools Required
| |
|
|
|
|
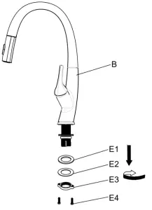
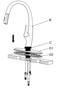
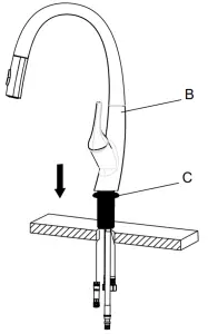
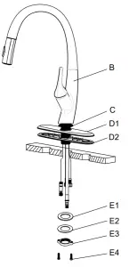
Diagram and Parts List

A. Spray Head
B. Faucet Body
C. Base O-Ring
D. Deck Plate Assembly
E. Mounting Hardware
E1. Rubber Washer
E2. Metal Washer
E3. Mounting Nut
E4. Mounting Screws
F. Spray Hose
G. EZ-Connect
H. EZ-Weight
I. Supply Hose
J. Hot & Cold Waterlines
K. Aerator Key
L. Hex Wrench
Faucet Installation Procedure

Installer Tip:
| Shut off main water supply before installing new faucet. |
Step 1. Remove mounting hardware
Shut off the water supply.
Remove the old faucet. Clean the mounting surface. Remove mounting hardware (E) from faucet body (B).
Step 2A. Install the faucet assembly (with deckplate)
Insert the faucet assembly (B) through the hole in the deck plate assembly (D).
NOTE: Skip this step if installing B without deckplate.
Step 2B. Install the faucet assembly (without deckplate)
For single-hole installation, deck plate assembly (D) and silicone sealant are NOT required.
Step 3. Secure the faucet assembly
Insert faucet body (B) into hole on countertop or deck plate assembly (D) with base o-ring (C) attached. Attach mounting hardware (E).
Step 4. Secure the faucet assembly
Adjust faucet body (B). Tighten mounting nut (E3) with wrench and mounting screws (E4) with Phillips head screwdriver.
Step 5. Attach spray hose and counterweight
Connect spray hose (F) to quick connector (G) attached to supply line. Install weight (H) on lowest vertical point on spray hose (F).
Step 6. Connect waterlines
Thread hot & cold waterlines (J) onto angle stops. Tighten with adjustable wrench until snug. Turn on the angle stops and check for leaks.
(DO NOT TURN FAUCET ON)
| NOTE: Please make sure filter washers are installed before connecting to the main valve. |
Step 7. Flush spray hose
Remove spray head (A). Hold tip of spray hose (F). Turn faucet on for 1 minute to flush any debris.
Step 8. Attach spray head
Attach spray head (A) to spray hose (F)
Step 9. Check spray head
Turn faucet on. Press rocker switch to check if spray head (A) switches modes properly.
Replacement Parts
*Denotes faucet component color options:
SFS – Spot Free Stainless Steel
MB – Matte Black
BL – Black
WH – White

| Replacement Parts List | Finish/ Color | Part # | Replacement Parts List | Finish/ Color | Part # |
| 1A. Aerator | KP26000 | 10. Escutcheon | SFS,MB* | KP26058 | |
| 1B. Spray Head | SFS,MB* | KP26001 | 11. Mounting Hardware | KP26054 | |
| 2. O-ring | KP26002 | 12. Washer | KP26053 | ||
| 3. Spout Clip | KP26003 | 13. Spray Hose | KP26019 | ||
| 4. Handle Assembly | SFS,MB* | KP26057 | 14. 1.8GPM Flow Restrictor | WH* | KP26055 |
| 5. Cartridge Cover | SFS,MB* | KP26007 | 15. EZ-Connect | KP26020 | |
| 6. Locking Nut | KP26008 | 16. EZ-Weight | KP26059 | ||
| 7. Cartridge | KP26009 | 17. Aerator Key | KP26052 | ||
| 8. Base O-ring | KP26022 | 18. Hex Wrench | KP26027 | ||
| 9. Hose Clip | KP26010 | 19. Filter Washers | KP26060 |
Trouble-Shooting
If you have followed the instructions carefully and your faucet still does not work properly, take the following corrective steps:
| PROBLEM | CAUSE | ACTION |
| Leakage under the handle | Locking nut has come loose | Remove cap. Loosen set screw with a hex wrench. Remove the handle and unscrew cartridge cover by hand. Tighten locking nut with an adjustable wrench. |
| Water will not shut off completely | Cartridge may be defective | Remove cap. Loosen set screw with a hex wrench. Remove the handle and unscrew cartridge cover by hand. Unscrew the locking nut with an adjustable wrench. Remove ceramic disc cartridge. Check for cracks. |
| Leaking between spray head and hose. | Spray head may be loose, or washer may not be seated correctly in hose | Tighten spray head by hand until snug. Make sure washer is seated correctly. |
| The water pressure is low. | EZ-Connect (21) may be clogged with debris | Remove EZ-Connect from supply hose and spray hose. Soak quick connect in vinegar & warm water 50/50 solution for 5 – 10 minutes. |
| Hose does not retract | Weight may be installed incorrectly | Readjust weight on hose. |
Care & Maintenance
To keep the product clean & shining, follow the steps below:
- Rinse with clean water & dry with a soft cloth
- Do not clean with soaps, acid, polish, abrasives or harsh cleaners
- Do not use cloth with a coarse surface
- Unscrew the aerator and clean when necessary
This installation manual is subject to change without further notice.
Codes/Standards Applicable:
ASME A112.18.1
1.8GPM 6.8L/min maximum
FAUCET WARRANTY
Kraus products are manufactured and tested to the highest quality standards by Kraus USA Inc. (“Kraus”).
Kraus extends this warranty to the original purchaser for personal household use of the “Faucet” in its original location. The warranty is non-transferable.
Kraus warrants the structure and finish of the product to be free from defects in material and workmanship under normal usage for the lifetime of the product. The warranty commences from the initial date of purchase by the owner or trade professional, from an authorized Kraus dealer, through the lifetime of the original owner or end-user.
Kraus warrants the mechanical components such as but not limited to sprayhead assembly (includes engine, aerators, structure, restrictors, back flow preventers, sprayer hoses, braided supply line hoses which encompasses nylon, silicon and stainless steel,etc) of the product to be free from defects in material and workmanship under normal usage for a period of one (1) year. The warranty commences from the initial date of purchase by the owner or trade professional, from an authorized Kraus dealer, through the one (1) year term of the original owner or end-user.
Kraus warrants the mechanical component (cartridge) of the product to be free from defects in material and workmanship under normal usage for a period of five (5) years. The warranty commences from the initial date of purchase by the owner or trade professional, from an authorized Kraus dealer, through the five (5) year term of the original owner or end-user.
Any product reported to the authorized dealer or to Kraus as being defective within the warranty period will be repaired or replaced with a product of equal value at the option of Kraus. This warranty extends to the original owner or end-user, and is not transferable to a subsequent owner.
RESTRICTIONS
This warranty does not cover antediluvian, discontinued, or display products, whether such items are purchased at discount outlets, unauthorized dealers, and/or sold on clearance.
This warranty does not cover instances of negligence, misuse, abuse, improper installation, carelessness, accident, hard water or mineral deposits, exposure to corrosive materials, misapplication, damages caused by improper maintenance, alteration of the product, or failure to follow care or installation instructions enclosed with your product. Avoid using abrasive cleaners such as powders, bleach, ammonia, alcohol, or chlorine. Avoid using abrasive pads, steel wool, or wire brushes, as these will damage and wear down the finish.
This warranty does not apply to Products that have not been installed or operated in accordance with instructions supplied by Kraus and all applicable rules, regulations, and legislation pertaining to such installations.
This warranty does not apply unless the Kraus product is installed by a fully insured and licensed trade professional.
Kraus insists that such professionals have experience in the installation of bathroom and kitchen manufactured goods.
This warranty does not cover labor charges or costs of removal and reinstallation of said product. This warranty does not allow recovery of incidental or consequential damages, such as loss of use, delay, property damage, or other consequential damages, and Kraus accepts no liability for such damages.
This warranty does not cover Marine or Outdoor Installation.
Except as otherwise provided above, Kraus makes no warranties, expressed or implied, including warranties of merchantability and fitness for a particular purpose, or compliance with any code.
Shipping charges will be covered for the first (1) year of the warranted replacement part or product (HI, AK, and Puerto Rico shipping charges may apply). International shipping fees are not included.
COMMERCIAL WARRANTY
Kraus extends the above warranty for a period of one (1) year to purchasers of products for industrial, commercial, and business use.
All incidental or consequential damages are specifically excluded. No additional warranties, express or implied, are given, including but not limited to any implied warranty of merchantability or fitness for a particular purpose.
Some states do not allow the exclusion or limitation of incidental or consequential damages or limitations on how long an implied warranty lasts, so the above limitations or exclusions may not apply to you.
This warranty gives you specific legal rights, and you may also have other rights which vary from state to state.
KRAUS USA has the right to change, modify, and/or update the warranty policy at any time. For the latest, most up to date comprehensive warranty, go to www.kraususa.com/warranty
If you are a homeowner please contact a Kraus Customer Service Representative at:
Kraus USA, Inc.
12 Harbor Park Drive
Port Washington, NY 11050
Toll-free 800-775-0703
[email protected]
If you are a plumbing contractor or trade professional please contact a Kraus Pro Representative at:
Kraus USA, Inc.
12 Harbor Park Drive
Port Washington, NY 11050
516-801-8955
[email protected]
If you are an Authorized Partner please contact a Partner Support Representative at:
Kraus USA, Inc.
12 Harbor Park Drive
Port Washington, NY 11050
516-801-8954
[email protected]
In requesting warranty service, please be ready to provide:
- Proof of purchase.
- A description of the problem.
Download the Kraus Care & Maintenance Guide at: |
IMPORTANT
Register Your Kraus Product
Activate Your Warranty
Access Premium Customer Support
Get Product Information
REGISTER TODAY |


Adjustable Wrench
Phillips Screwdriver
Silicone Sealant
Safety Goggles
Bucket

















