Kraus Artec Pro 2 Function Commercial Style Kitchen Faucet KPF-1603

Please contact our Customer Service Team 1-800-775-0703 / [email protected]
Have the model number available and retain a copy of your receipt with purchase date for reference.
If for any reason this product does not meet your expectations, please be sure to repack this product in the original box and packaging material to avoid damage during transit.
Prior to Installation
- Make sure you have all necessary parts by checking the diagram and parts list. If any part is missing or damaged, please contact Kraus Customer Service at 800-775-0703 for a replacement.
- Turn off the hot and cold water supply at the angle stops and turn on the old faucet to release any built up pressure. Remove existing faucet. Clean sink or countertop to remove any debris, plumber’s putty, or silicone.
- Flush angle stops to release any debris prior to installation.
- Pre-drilled hole size requirement: 1 3/8″ (min)
- Max countertop thickness: 2 3/8″
For technical assistance or replacement parts, please contact Kraus Customer Service and one of our representatives will be happy to help: Toll-Free: 800-775-0703 or [email protected]
Tools Required

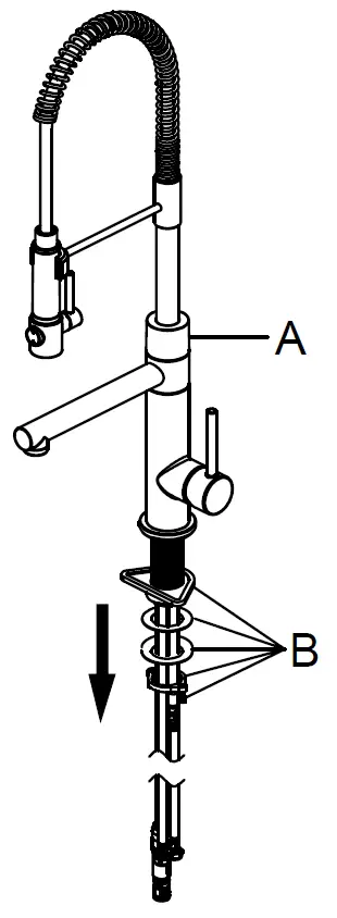
Diagram and Parts List

- A. Faucet Body
- B1. Seat
- B2. Rubber Washer
- B3. Metal Washer
- B4. Mounting Nut
- B5. Screw
- C. Hex Wrench
Faucet Installation Procedure

Installer Tip:
Shut off main water supply before installing new faucet.
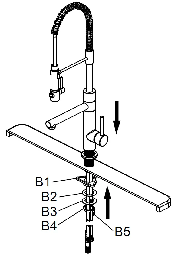
Step 1. Remove washer and lock nut
Shut off the water supply. Remove the old faucet. Clean the mounting surface. Remove mounting hardware (B) from faucet body (A).

Step 2. Install faucet
Insert faucet through hole in sink or countertop. From underneath sink, attach the seat (B1), rubber washer (B2), metal washer (B3), and nut (B4). Lock nut (B4) into position by tightening screws (B5).

Step 3. Making the water supply connections
Push the quick connector (2) firmly upward and attach it to the receiving block (1). Pull down moderately to ensure the connection has been made.
If it is necessary to remove the quick connector (2), squeeze the tabs on the hose and then pull down to disconnect.

Step 4. Making the water supply connections
Thread the nut (1) on the supply line onto the outlet of the water supply valve and tighten with a wrench. Do not overtighten.

NOTE: Please make sure filter washers are installed before connecting to the main valve.
Step 5. Flushing and checking for leaks
Pull the hose assembly out of the spout and remove the spray head by unscrewing it from the hose in a counterclockwise direction. Be sure to hold the end of the hose down into the sink and turn the faucet on to the warm position where it mixes hot and cold water.
Flush the water lines for one minute. This flushes away any debris that could cause damage to internal parts. Check for leaks.
Reinstall the spray head by hand tightening it back onto the spray hose.


NOTE:
- Do not lose the rubber washer (1) when installing the sprayer back on.
- The magnet end marking with a black dot should be toward the hose for correct magnet installation.
Step 6. Flush faucet
To activate the spray mode, simply press the handle (1) located under the spray head.

Replacement Parts

Replacement Parts List | Finish/Color | Part # |
| 1. Spray Head | CH,SFS,SBBG,SFSB,SFACB, | KP27060 |
| 2. Magnet | KP27061 | |
| 3. Spray Hose Assembly | BLBG,BLSFS,BLSB,BLSFACB GRCH,GRSFS,BLSFSB** | KP27062* |
| 4. Spring | CH,SFS,BG,SB,SFACB,SFSB** | KP27063 |
| 5. Inverter | KP27080 | |
| 6. Spray Support Assembly | CH,SFS,SBBG,SB,BG, SFSMB, | KP27064 |
| 7. Spout Nut | CH,SFS,BG, | KP27065 |
| 8. Spout | CH,SFS,SB,BG,MB, | KP27066 |
| 9. Diverter | KP27067 | |
| 10. Aerator Assembly | CH,SFS,BG,MB,SB, | KP27068 |
| 11. Cartridge | KP27069 | |
| 12. Bonnet Nut | KP27070 | |
| 13. Cap | CH,SFS,BG,MB,SFACB** | KP27071 |
| 14. Handle Assembly | CH,SFS,BG,MB,SFACB** | KP27072 |
| 15. Rubber & Metal Washer | KP27028 | |
| 16. Mounting Nut & Nut | KP27079 | |
| 17. Block | KP27073 | |
| 18. Flange | CH,SFS,BG,SB,SFACB,SFSB** | KP27077 |
| 19. Seat | KP27078 | |
| 20. 1.8GPM Flow Restrictor | WH** | KP27074 |
| 21. Quick Connect | KP27076 | |
| 22. Hex Wrench | KP27020 | |
| 23. Filter Washers | KP27167 |
*Denotes spray hose assembly color options: Spray hose assembly color options: Black hose w/ Brushed Gold connector (BLBG), Black hose with Spot-Free Stainless connector (BLSFS), Black hose with Black Stainless connector (BLSB), Gray hose with Chrome connector (GRCH), Gray hose with Spot-Free Stainless connector (GRSFS)
**Denotes faucet component color options:
- CH – Chrome
- SFS – Spot Free Stainless Steel
- MB – Matte Black
- BG – Brushed Gold
- SB – Black Stainless
- SFACB – Spot Free Antique Champagne Bronze
- SFSB – Spot Free Black Stainless
- BL – Black
- WH – White
Troubleshooting
If you have followed the instructions carefully and your faucet still does not work properly, take the following corrective steps:
PROBLEM | CAUSE | ACTION |
| Leakage under the handle | Bonnet nut (12) has come loose | Remove the index (14.3). Loosen set screw (14.2) with hex wrench (14). Remove the handle (14.1). Unscrew cap (13) (by hand only). Tighten bonnet nut (12) with an adjustable wrench |
| The aerator has an irregular or reduced water flow | The aerator is dirty or mis-fitted | Remove the aerator and check for debris. Ensure that the rubber washer is properly installed. |
| The water pressure is low. | The connector underneath the deck is clogged with debris The aerator is clogged
The screen filter in the hose connectors is dirty. | Turn off the water supply and disconnect the connector / aerator. Unscrew the connector / aerator and clean under running water. Screw the connector / aerator back. Test water flow. If water pressure is still low then replace the connector / aerator. Turn off the water supply at water valve and unscrew the hose connectors from water supply lines. Clean the screen in the water lines with hot water, removing any debris or calcium build up. |
Care & Maintenance
To keep the product clean & shining, follow the steps below:
- Rinse with clean water & dry with a soft cloth
- Do not clean with soaps, acid, polish, abrasives or harsh cleaners
- Do not use cloth with a coarse surface
- Unscrew the aerator and clean when necessary

This installation manual is subject to change without further notice.
Codes/Standards Applicable

FAUCET WARRANTY
Kraus products are manufactured and tested to the highest quality standards by Kraus USA Inc. (“Kraus”).
Kraus extends this warranty to the original purchaser for personal household use of the “Faucet” in its original location. The warranty is non-transferable.
Kraus warrants the structure and finish of the product to be free from defects in material and workmanship under normal usage for the lifetime of the product. The warranty commences from the initial date of purchase by the owner or trade professional, from an authorized Kraus dealer, through the lifetime of the original owner or end-user.
Kraus warrants the mechanical components such as but not limited to sprayhead assembly (includes engine, aerators, structure, restrictors, back flow preventers, sprayer hoses, braided supply line hoses which encompasses nylon, silicon and stainless steel,etc) of the product to be free from defects in material and workmanship under normal usage for a period of one (1) year. The warranty commences from the initial date of purchase by the owner or trade professional, from an authorized Kraus dealer, through the one (1) year term of the original owner or end-user.
Kraus warrants the mechanical component (cartridge) of the product to be free from defects in material and workmanship under normal usage for a period of five (5) years. The warranty commences from the initial date of purchase by the owner or trade professional, from an authorized Kraus dealer, through the five (5) year term of the original owner or end-user.
Any product reported to the authorized dealer or to Kraus as being defective within the warranty period will be repaired or replaced with a product of equal value at the option of Kraus. This warranty extends to the original owner or end-user, and is not transferable to a subsequent owner.
RESTRICTIONS
This warranty does not cover antediluvian, discontinued, or display products, whether such items are purchased at discount outlets, unauthorized dealers, and/or sold on clearance.
This warranty does not cover instances of negligence, misuse, abuse, improper installation, carelessness, accident, hard water or mineral deposits, exposure to corrosive materials, misapplication, damages caused by improper maintenance, alteration of the product, or failure to follow care or installation instructions enclosed with your product. Avoid using abrasive cleaners such as powders, bleach, ammonia, alcohol, or chlorine. Avoid using abrasive pads, steel wool, or wire brushes, as these will damage and wear down the finish.
This warranty does not apply to Products that have not been installed or operated in accordance with instructions supplied by Kraus and all applicable rules, regulations, and legislation pertaining to such installations.
This warranty does not apply unless the Kraus product is installed by a fully insured and licensed trade professional. Kraus insists that such professionals have experience in the installation of bathroom and kitchen manufactured goods.
This warranty does not cover labor charges or costs of removal and reinstallation of said product. This warranty does not allow recovery of incidental or consequential damages, such as loss of use, delay, property damage, or other consequential damages, and Kraus accepts no liability for such damages.
This warranty does not cover Marine or Outdoor Installation.
Except as otherwise provided above, Kraus makes no warranties, expressed or implied, including warranties of merchantability and fitness for a particular purpose, or compliance with any code.
Shipping charges will be covered for the first (1) year of the warranted replacement part or product (HI, AK, and Puerto Rico shipping charges may apply). International shipping fees are not included.
COMMERCIAL WARRANTY
Kraus extends the above warranty for a period of one (1) year to purchasers of products for industrial, commercial, and business use.
All incidental or consequential damages are specifically excluded. No additional warranties, express or implied, are given, including but not limited to any implied warranty of merchantability or fitness for a particular purpose.
Some states do not allow the exclusion or limitation of incidental or consequential damages or limitations on how long an implied warranty lasts, so the above limitations or exclusions may not apply to you.
This warranty gives you specific legal rights, and you may also have other rights which vary from state to state.
KRAUS USA has the right to change, modify, and/or update the warranty policy at any time. For the latest, most up to date comprehensive warranty, go to www.kraususa.com/warranty
If you are a homeowner please contact a Kraus Customer Service Representative at:
Kraus USA, Inc.
12 Harbor Park Drive
Port Washington, NY 11050
Toll-free 800-775-0703
[email protected]
If you are a plumbing contractor or trade professional please contact a Kraus Pro Representative at:
Kraus USA, Inc.
12 Harbor Park Drive
Port Washington, NY 11050
516-801-8955
[email protected]
If you are an Authorized Partner please contact a Partner Support Representative at:
Kraus USA, Inc.
12 Harbor Park Drive
Port Washington, NY 11050
516-801-8954
[email protected]
In requesting warranty service, please be ready to provide:
- Proof of purchase.
- A description of the problem.
Download the Kraus Care & Maintenance Guide at: http://www.kraususa.com/maintenance
IMPORTANT
Register Your Kraus Product
- Activate Your Warranty
- Access Premium Customer Support
- Get Product Information
REGISTER TODAY
http://www.kraususa.com/registration




















