ROKI ™
WIRELESS.
outdoor
technologies.
Nano 10W.
Electrical information &
installation instructions.
Issue t
SC-Cw-11f
SC-CW-1HF-U
IMPORTANT
READ THESE INSTRUCTIONS BEFORE INSTALLING THE PRODUCT.
For the latest tech info visit: www.scanstrut.com/rokk-wireless
Scanstrut Ltd
5 Dart Business Park,
Clyst St. George, Exeter
EX3 0QH
Technical information.
| Input voltage range | 10-30V DC (12/24V system) |
| Input current max | 2A |
| Output power max | 10W (9V, 1 1A) |
| Input power draw | <0.2W |
| Waterproof rating | IPX6 front and back |
| Certifications | Oi, CE, UKCA, FCC, IC, OHS, UNECE R10 E24, CM, PSE |
Parts list:
![]() | ROKK Wireless Nano |
![]() | Installation jig |
![]() | No 4×3/4 (18mm) self-tapping screw |
Tools required: 
| Material | No. 4 Screw |
| Soft Material E g plywood | 2mm (5/64) |
| Hard Material E.g Fiberglass acrylic, hardwood | 2.5mm (3/32″) |
Installation instructions.
Unbox Nano and insert the installation jig

Ensure there is sufficient clearance to open the jaws in the chosen installation area
Ensure Nano is horizontal and the installation area is flat 
Use drilling template to drill x4 pilot holes (see tools required table
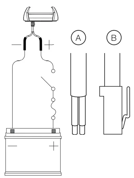
Drill Option A – 010mm (0.39) for use with stripped cables.
Drill Option B- o22mm (0.86″) for use with cable connectors
Feed cable through the hole.
Apply sealant to x4 screws
Screw product in place
Remove the installation jig. 
Connect wires or connectors to 12/24V supply, ensuring a waterproof connection. Fuse according to input voltage and current.
IN EXTREME USAGE ENVIRONMENTS PERFORMANCE MAY VAY:
This product is designed to securely mount phones under normal usage conditions. The end-user is entirely responsible for the conditions in which their device is used. See the WARRANTY section for further details.
Scanstrut recommends installation is carried out by a qualified electrician. No liability is accepted for damage and/or injury caused by incorrect installation.
WARNING:
This product is to be connected to a 12V DC or 24V DC battery power source only.
The power supply must be switched off before installation. An appropriate fuse or circuit breaker must be used between the battery/power source and this product Check for correct polarity of all wiring before switching the power on.
This product may contain high voltages. Do not tamper with the product.
This product is NOT approved for use in hazardous/flammable atmospheres. Do NOT install in a hazardous/flammable atmosphere e.g. engine room.
Before drilling any holes, ensure the area behind the mounting location is clear of wires, fuel, and all other hazardous objects
Ensure any holes cut will not significantly weaken the structure of the mounting surface.
If the product needs to be mounted outside, it must be mounted in a location safely above the waterline, where it is not at risk of being submerged.
Full strength is not achieved until the product is installed
CAUTION:
The product is designed specifically for the charging of Qi-compatible devices.
The cable must be retained and not interfere with mechanical systems.
This product contains no user-serviceable components. Do NOT attempt to repair or alter the product in any way.
This product will charge through non-metallic phone cases up to -3mm thick
Phone cases may alter overall charge performance.
When used in a very high/low ambient temperature/direct or prolonged sunlight the product may temporarily shut down, this is a safety feature of the electronics.
The IP rating is only valid if correctly installed as per these instructions and on a perfectly flat, non-porous, smooth sur1ace.
When selecting a mounting location, avoid places exposed to heat-radiating appliances and poor1y ventilated areas
EMC INSTALLATION GUIDELINES:
Scanstrut products conform to Electromagnetic Compatibility (EMC) regulations, to ensure that electromagnetic interference between equipment is minimized.
Correct installation is required to ensure that electromagnetic interference is kept to a minimum
WIRING:
When extending the cable from the battery/power source to the product, ensure there is consistently a minimum of 10V being provided to the product. A wire gauge of 18A4WG (0.82mm2) is recommended for any length of cable extension
The electrical schematic is to illustrate how the product should be connected to a 12V DC or 24V DC battery/power supply
ENVIRONMENTAL PROTECTION:
Waste electrical products should not be disposed of with household waste.
lease recycle where facilities exist. Check with your Local Authority or retailer for recycling advice
IMPORTANT:
Scanstrut Ltd. accepts no responsibility for any injuries or other damages arising from the use of their products in any circumstances.
WARRANTY:
A year, the non-transferrable warranty covers this Scanstrut product only and not any devices that are mounted in it or on it. No warranty is given for users’ devices and users expose their devices to hazards, known or unknown, at their own risk.

FCC Warning
This device complies with part 15 of the FCC Rules.
Operation is subject to the following two conditions:
- This device may not cause harmful interference, and (2) this device must accept any interference received, including interference that may cause undesired operation. Any Changes or modifications not expressly approved by the party responsible for compliance could void the user’s authority to operate the equipment. This equipment has been tested and found to comply with the limits for a Class B digital device, pursuant to part 15 of the FCC Rules. These limits are designed to provide reasonable protection against harmful inter1erence in a residential installation. This equipment generates uses and can radiate radio frequency energy and, if not installed and used in accordance with the instructions, may cause harmful interference to radio communications. However, there is no guarantee that interference will not occur in a particular installation. If his equipment does cause harmful interference to radio or television reception, which can be determined by turning the equipment off and on, the user is encouraged to try o correct the interference by one or more of the following measures: Reorient or relocate the receiving antenna. Increase the separation between the equipment and receiver. Connect the equipment to an outlet on a circuit different from that to which the receiver is connected. Consult the dealer or an experienced radio/TV technician or help.
FCC AF exposure statement:
The equipment complies with FCC radiation exposure limits set forth for an uncontrolled environment. This equipment should be installed and operated with a minimum distance between 20cm of the radiator and your body. FCC ID: 2APUP.SC-CW-11F
This device contains licence-exempt transmitter(s/receiver(s)
That complies with Innovation, Science and Economic
Development Canada’s license-exempt RSS(s). Operation is subject to the following two conditions:
1) This device may not cause interference.
2) This device must accept any interference, including interference that may cause undesired operation of the device.
IC: 28360-SCCW11F The equipment complies with the IC Radiation exposure limit set forth for uncontrolled environments. This equipment should be installed with a minimum distance 10cm between the radiator and
Scanstrut Ltd, declares the product ‘AOKK Wireless Nano
10W’ SKU: SC-CW-11F is in compliance with EMC CE
RED Directive (2014/53/EU) & standard EN 62368.
The CE certificate of conformity can be found at www.scanstrut.com/uk/compliance.




















