JENNAIR W11312505A 22.0 Cu. Ft. Counter Depth French Door Refrigerator Owner’s Manual
REFRIGERATOR SAFETY
Your safety and the safety of others are very important.
We have provided many important safety messages in this manual and on your appliance. Always read and obey all safety messages.
This is the safety alert symbol.
This symbol alerts you to potential hazards that can kill or hurt you and others.
All safety messages will follow the safety alert symbol and either the word “DANGER” or “WARNING.”
These words mean:
DANGER
You can be killed or seriously injured if you don’t immediately follow instructions.
WARNING
You can be killed or seriously injured if you don’t follow instructions.
All safety messages will tell you what the potential hazard is, tell you how to reduce the chance of injury, and tell you what can happen if the instructions are not followed.
IMPORTANT SAFETY INSTRUCTIONS
WARNING: To reduce the risk of fire, electric shock, or injury when using your refrigerator, follow these basic precautions:
- Plug into a grounded (earthed) outlet.
- Do not remove ground prong.
- Do not use an adapter.
- Do not use an extension cord.
- Disconnect power before servicing.
- Replace all parts and panels before operating.
- Remove doors from your old refrigerator.
- Use nonflammable cleaner.
- Do not store or use petrol, flammable liquids or gas in the vicinity of this or other electrical appliances. The fumes can cause fires or explosions.
- Do not store explosive substances such as aerosol cans with a flammable propellant in this refrigerator.
- Do not use or place electrical devices inside the refrigerator compartments if they are not of the type expressly authorized by the manufacture.
- Use two or more people to move and install refrigerator.
- Disconnect power before installing ice maker (on ice maker kit ready models only).
- A qualified service technician must install the water line and ice maker.
- Keep ventilation openings, in the appliance enclosure or in the built-in structure, clear of obstruction.
- Do not use mechanical devices or other means to accelerate the defrosting process, other than those recommended by the manufacturer.
- Do not damage the the refrigerant circuit.
- Do not use electrical appliances inside the food storage compartments of the appliance, unless they are of the type recommended by the manufacturer.
- Connect to a potable water supply only.
- Use a sturdy glass when dispensing ice (on some models).
- This appliance is not intended for use by persons (including children) with reduced physical, sensory or mental capabilities, or lack of experience and knowledge, unless they have been given supervision or instruction concerning use of the appliance by a person responsible for their safety.
- Children should be supervised to ensure that they do not play with the appliance.
- To avoid the risk of children becoming trapped and suffocating, do not allow them to play or hide inside the refrigerator.
- If the power supply cord is damaged, it must be replaced by the manufacturer or its service agent or a similarly qualified person
SAVE THESE INSTRUCTIONS
Proper Disposal of Your Old Refrigerator
WARNING: Risk of child entrapment. Before You Throw Away Your Old Refrigerator or Freezer:
- Take off the doors.
- Leave the shelves in place so that children may not easily climb inside
WARNING
Suffocation Hazard
Remove doors from your old refrigerator.
Failure to do so can result in death or brain damage
IMPORTANT: Child entrapment and suffocation are not problems of the past. Junked or abandoned refrigerators are still dangerous – even if they will sit for “just a few days.” If you are getting rid of your old refrigerator, please follow these instructions to help prevent accidents.
INSTALLATION INSTRUCTIONS
Unpack the Refrigerator
WARNING
Excessive Weight Hazard
Use two or more people to move and install refrigerator.
Failure to do so can result in back or other injury.
Remove the Packaging
- Remove tape and glue residue from surfaces before turning on the refrigerator. Rub a small amount of liquid dish soap over the adhesive with your fingers. Wipe with warm water and dry.Do not use sharp instruments, rubbing alcohol, flammable fluids, or abrasive cleaners to remove tape or glue.
These products can damage the surface of your refrigerator. For more information, see “Refrigerator Safety.” - Dispose of/recycle all packaging materials.
When Moving Your Refrigerator:
Your refrigerator is heavy. When moving the refrigerator for cleaning or service, be sure to cover the floor with cardboard or hardboard to avoid floor damage. Always pull the refrigerator straight out when moving it. Do not wiggle or “walk” the refrigerator when trying to move it, as floor damage could occur.
Clean Before Using
After you remove all of the packaging materials, clean the inside of your refrigerator before using it. See the cleaning instructions in “Refrigerator Care.
Important information to know about disposal of refrigerants:
Dispose of refrigerator in accordance with Federal and Local regulations. Refrigerants must be evacuated by a licensed,
EPA certified refrigerant technician in accordance with established procedures.
Important information to know about glass shelves and covers:
Do not clean glass shelves or covers with warm water when they are cold. Shelves and covers may break if exposed to sudden temperature changes or impact, such as bumping.
Tempered glass is designed to shatter into many small, pebble-size pieces. This is normal. Glass shelves and covers are heavy. Use both hands when removing them to avoid dropping.
Location Requirements
WARNING

Explosion Hazard
Keep flammable materials and vapors, such as
gasoline, away from refrigerator.
Failure to do so can result in death, explosion, or fire.
IMPORTANT: This appliances is intended to be used in household and similar applications such as:
- Staff kitchen areas in shops, office and other working environments,
- Farm houses and by clients in hotels, motels and other residential type environments,
- Bed and breakfast type environments,
- Catering and similar non-retail applications.
To ensure proper ventilation for your refrigerator, allow for 1/2″ (1.25 cm) of space on each side and at the top. Allow for 1″ (2.54 cm) of space behind the refrigerator. If your refrigerator has an ice maker, allow extra space at the back for the water line connections. When installing your refrigerator next to a fixed wall, leave 2½” (6.3 cm) minimum on the hinge side (some models require more) to allow for the door to swing open.
NOTE: This refrigerator is intended for use in a location where the temperature ranges from a minimum of 55°F (13°C) to a maximum of 110°F (43°C). The preferred room temperature range for optimum performance, which reduces electricity usage and provides superior cooling, is between 60°F (15°C) and 90°F (32°C). It is recommended that you do not install the refrigerator near a heat source, such as an oven or radiator.
Electrical Requirements
WARNING

Electrical Shock Hazard
Plug into a grounded 3 prong outlet.
Do not remove ground prong.
Do not use an adapter.
Do not use an extension cord.
Failure to follow these instructions can result in death, fire, or electrical shock.
Before you move your refrigerator into its final location, it is important to make sure you have the proper electrical connection.
If the electrical supply cord is damaged, it must be replaced by the manufacturer or its service agent or a similarly qualified person. Do not use a cord that shows cracks or abrasion damage along its length or at either the plug or connector end.
Recommended Grounding Method
A 115 V, 60 Hz, AC only 15 A or 20 A fused, grounded electrical supply is required. It is recommended that a separate circuit serving only your refrigerator and approved accessories be provided. Use an outlet that cannot be turned off by a switch. Do not use an extension cord.
NOTE: Before performing any type of installation, cleaning, or removing a light bulb, turn OFF Cooling, and then disconnect the refrigerator from the electrical source. When you have finished, reconnect the refrigerator to the electrical source and turn ON Cooling. See “Using the Controls.”
Water Supply Requirements
Gather the required tools and parts before starting installation.
Read and follow the instructions provided with any tools listed here.
TOOLS NEEDED:
- Flat-blade screwdriver
- 7/16″ and 1/2″ Open-end or two adjustable wrenches
- Cordless drill
- 1/4″ Nut driver
- 1/4″ Drill bit
IMPORTANT:
- Connect to potable water supply only.
Do not use with water that is microbiologically unsafe or of unknown quality without adequate disinfection beforeor after the system. Systems certified for cyst reduction may be used on disinfected waters that may contain filterable cysts. - All installations must meet local plumbing code requirements.
- Do not use a piercing-type or 3/16″ (4.76 mm) saddle valve which reduces water flow and clogs more easily.
- Use copper tubing and check for leaks. Install copper tubing only in areas where the household temperatures will remain above freezing.
- For models with water filters, the disposable water filter should be replaced at least every 6 months.
Water Pressure
A cold water supply with water pressure of between 35 psi and 120 psi (241 kPa and 827 kPa) is required to operate the water dispenser and ice maker. If you have questions about your water pressure, call a licensed, qualified plumber.
Reverse Osmosis Water Supply
IMPORTANT: The pressure of the water supply coming out of a reverse osmosis system going to the water inlet valve of the refrigerator needs to be between 35 psi and 120 psi (241 kPa and 827 kPa).
If a reverse osmosis water filtration system is connected to your cold water supply, the water pressure to the reverse osmosis system needs to be a minimum of 40 psi to 60 psi (276 kPa to 414 kPa).
If the water pressure to the reverse osmosis system is less than 40 psi to 60 psi (276 kPa to 414 kPa):
- Check to see whether the sediment filter in the reverse osmosis system is blocked. Replace the filter if necessary.
- Allow the storage tank on the reverse osmosis system to refill after heavy usage.
- If your refrigerator has a water filter, it may further reduce the water pressure when used in conjunction with a reverse osmosis system. Remove the water filter. See “Water Filtration System.
If you have questions about your water pressure, call a licensed, qualified plumber.
Connect the Water Supply
Read all directions before you begin.
IMPORTANT:
- Plumbing shall be installed in accordance with the International Plumbing Code and any local codes and ordinances.
- The water tubing on the back of the refrigerator (which is used to connect to the household water line) is a PEX (cross-linked polyethylene) tube. Copper and PEX tubing co nnections from the household water line to the refrigerator are acceptable and will help avoid off-taste or odor in your ice or water. Check for leaks. We recommend contacting service to obtain current part numbers.
- Install tubing only in areas where temperatures will remain above freezing.
- If you turn on the refrigerator before the water line is connected, turn off the ice maker to avoid excessive noise or damage to the water valve.
Connect to Water Line
- Unplug refrigerator or disconnect power.
- Turn OFF main water supply. Turn ON nearest faucet long enough to clear line of water.
- Find a 1/2″ to 1¼” (12.7 mm to 31.8 mm) vertical cold water pipe near the refrigerator.
IMPORTANT:- Make sure it is a cold water pipe.
- Horizontal pipe will work, but the following procedure must be followed: Drill on the top side of the pipe, not the bottom.
This will help keep water away from the drill. This also keeps normal sediment from collecting in the valve.
- Determine the length of copper tubing you need. Measure from the connection on the rear of the refrigerator to the water pipe. Add 7 ft (2.1 m) to allow for cleaning. Use 1/4″ (6.35 mm) O.D. (outside diameter) copper tubing. Be sure both ends of copper tubing are cut square.
- Using a cordless drill, drill a 1/4″ hole in the cold water pipe you have selected.

A. Cold water pipe
B. Pipe clamp
C. Copper tubing
D. Compression nut
E. Compression sleeve
F. Shutoff valve
G. Packing nut - clamp. Be sure the outlet end is solidly in the 1/4″ drilled hole in the water pipe and that the washer is under the pipe clamp. Tighten the packing nut. Tighten the pipe clamp screws slowly and evenly so the washer makes a watertight seal. Do not overtighten.
- Slip the compression sleeve and compression nut on the copper tubing as shown. Insert the end of the tubing into the outlet end squarely as far as it will go. Screw compression nut onto outlet end with adjustable wrench. Do not overtighten or you may crush the copper tubing.
- Place the free end of the tubing in a container or sink, and turn ON the main water supply. Flush the tubing until water is clear. Turn OFF the shutoff valve on the water pipe.
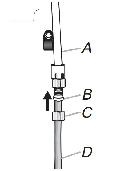
Connect to Refrigerator
- Create a service loop (minimum diameter of 2 ft [61 cm]) with the copper tubing. Avoid kinks when coiling the copper tubing.
- Remove the plastic cap from water valve inlet port. Place a compression nut and sleeve on the copper tubing.
- Insert the end of the copper tubing into the water valve inlet port. Shape tubing slightly so that the tubing feeds straight into the port to avoid kinks.
- Slide the compression nut over the sleeve and screw into the water valve inlet port.

A. Plastic water tubing
B. Sleeve
C. Compression nut
D. Copper tubing - Using an adjustable wrench, hold the nut on the plastic water line to keep it from moving. Then, with a second wrench turn the compression nut on the copper tubing counterclockwise to completely tighten. Do not overtighten.

A. “P” clamp
B. Plastic water line
C. Compression nut
D. Copper tubing - Check connection by pulling on copper tubing. Attach copper tubing to refrigerator cabinet with a “P” clamp. Turn on water supply to refrigerator and check for leaks. Correct any leaks.
Complete the Installation
WARNING

Electrical Shock Hazard
Plug into a grounded 3 prong outlet.
Do not remove ground prong.
Do not use an adapter.
Do not use an extension cord.
Failure to follow these instructions can result in death, fire, or electrical shock.
- Plug into a grounded 3 prong outlet.
NOTE: Allow 24 hours to produce the first batch of ice.
Discard the first three batches of ice produced. Allow 3 days to completely fill the ice container.
Refrigerator Door(s) and Drawer
All graphics referenced in the following instructions are included later in this section after “Final Steps.”
TOOLS NEEDED: 5/16″, 3/8″, 1/4″ hex head socket wrench, 3/32″ or 1/8″ hex key, #2 Phillips screwdriver, and a flat-blade screwdriver.
Remove and Replace Handles
- Using a 3/32″ or 1/8″ hex key, loosen the two setscrews located on the side of each handle. See Graphics 1 and 2.
- Pull the handle straight out from the door. Make sure you keep the screws for reattaching the handles.
- To replace the handles, reverse the directions.
Remove Doors and Hinges
IMPORTANT: Remove food and any adjustable door or utility bins from doors.
WARNING

Electrical Shock Hazard
Disconnect power before removing doors.
Failure to do so can result in death or electrical shock.
- Unplug refrigerator or disconnect power.
- Keep the refrigerator doors closed until you are ready to lift them free from the cabinet.
NOTE: Provide additional support for the refrigerator door while the hinges are being removed. Do not depend on the door gasket magnets to hold the door in place while you are working. - Starting with the right-hand side door, remove the parts for the top hinge as shown in Top Hinge graphic. Lift the refrigerator door from the bottom hinge pin.
NOTE: Remove the hinge pin cover from the bottom hinge pin and keep it for later use. See Bottom Hinge graphic. - Before removing the left-hand side door, disconnect the wiring plug located on top of the top hinge by wedging a flatblade screwdriver or your fingernail between the two sections. See Wiring Plug graphic.
- Remove the parts for the top hinge as shown in Top Hinge graphic. Lift the left-hand side door from the bottom hinge pin.
NOTE: Remove the hinge pin cover from the bottom hinge pin and keep it for later use. See Bottom Hinge graphic.
Replace Doors and Hinges
- Assemble the parts for the top hinge as shown in Top Hinge graphic. Do not tighten the screws completely.
- Replace the parts for the bottom hinge as shown in Bottom Hinge graphic. Tighten screws. Replace the refrigerator door.
NOTE: Provide additional support for the refrigerator door while the hinges are being moved. Do not depend on the door gasket magnets to hold the door in place while you are working. - Align the door so that the bottom of the refrigerator door aligns evenly with the top of the freezer drawer. Tighten all screws.
- Reconnect the wiring plug on top of the left-hand side refrigerator door.
- Replace the top hinge covers.
Remove and Replace Freezer Drawer Front
IMPORTANT: Two people may be required to remove and replace the freezer drawer front. Graphics are included later in this section.
Remove Drawer Front
- Open the freezer drawer to full extension.
- Loosen the four screws attaching the drawer glides to the drawer front. See Drawer Front Removal graphic.
NOTE: Loosen screws three to four turns. Keep the screws in the drawer front. - Lift drawer front upward and off the screws. See Drawer Front Removal graphic.
Replace Drawer Front
- Slide the drawer glides out of the freezer compartment. Insert the screws in the top of the drawer front into the slots in the drawer brackets. See Drawer Front Replacement graphic.
- Pull the drawer brackets toward you to position the two screws in the bottom of the drawer front into the brackets. See Drawer Front Replacement graphic.
- Completely tighten the four screws
Final Steps
WARNING

Electrical Shock Hazard
Plug into a grounded 3 prong outlet.
Do not remove ground prong.
Do not use an adapter.
Do not use an extension cord.
Failure to follow these instructions can result in death, fire, or electrical shock.
- Plug into a grounded 3 prong outlet.
- Return all removable door parts to doors and food to refrigerator.
WARNING

Electrical Shock Hazard
Disconnect power before removing doors.
Failure to do so can result in death or electrical shock
Door Removal and Replacement
Drawer Front Removal
Drawer Front Replacement
Adjust the Doors
IMPORTANT:
- Your refrigerator has two adjustable, front leveling screws – one on each side of the refrigerator base. If your refrigerator seems unsteady or you want the door to close easier, use the instructions below.
- Before moving the refrigerator, raise the leveling screws so the front rollers are touching the floor.
- Remove the two screws fastening the base grille to the cabinet, and set the screws aside. Grasp the grille and pull it toward you.

- Raise or lower the cabinet.
Using a 1/4″ hex driver, turn the leveling screw on each side to raise or lower that side of the refrigerator.
NOTE: Having someone push against the top of the refrigerator takes some weight off the leveling screws. This makes it easier to turn the screws. It may take several turns of the leveling screw to adjust the tilt of the refrigerator.- To raise, turn the leveling screw clockwise.
- To lower, turn the leveling screw counterclockwise

- 3. Open the door again to make sure that it closes as easily as you like. If not, tilt the refrigerator slightly more to the rear by turning both leveling screws clockwise. It may take several more turns, and you should turn both screws the same amount.
- Replace the base grille.
REFRIGERATOR USE
Opening and Closing Doors
There are two refrigerator compartment doors. The doors can be opened and closed either separately or together.
There is a vertically-hinged seal on the left refrigerator door.
- When the left-hand refrigerator door is opened, the hinged seal automatically folds inward so that it is out of the way.
- When both doors are closed, the hinged seal automatically forms a seal between the two doors.

A. Hinged seal
Wine Rack (on some models)
Under one shelf, there are brackets installed to the supports (one bracket on each support). The wine rack rests in these brackets.
To remove and replace the wine rack:
- Remove the wine rack by lifting it up off the brackets. Press the right-hand side of the rack inward until it is free of its bracket. Lower the right-hand side slightly and disengage the\ left-hand side from its bracket.
- Replace the wine rack by inserting the left-hand side into its bracket. Press inward on the right-hand side until it will slide A past the bracket edge and set it into its bracket.

Using the Controls
The control center is located at the top front of the refrigerator compartment.
Temperature Controls
For your convenience, your temperature controls are preset at the factory. When you first install your refrigerator, make sure the controls are still set to the recommended set points as shown.
Recommended Settings

IMPORTANT:
- The recommended settings should be correct for normal household refrigerator use. The controls are set correctly when milk or juice is as cold as you like and when ice cream is firm.
- When the power is on, the temperature display shows the actual temperature of the compartment.
- Wait 24 hours for your refrigerator to cool completely before adding food. If you add food before the refrigerator has cooled completely, your food may spoil.
NOTE: Adjusting the refrigerator and freezer temperature controls to a colder than recommended setting will not cool the compartments any faster. - If the temperature is too warm or too cold in the refrigerator or freezer, first check the air vents to be sure they are not blocked before adjusting the controls.
Cooling On/Off:
- Cooling On/Off turns off cooling for both compartments. It does not disconnect power to the refrigerator.
- Press and hold Cooling On/Off for 3 seconds. The LED will light up to indicate that cooling is Off. Press the button again to turn on the cooling. The LED will turn off.
Cooling On/Off
Preess and hold
Adjusting Controls
temperature. The FREEZER control adjusts the freezer compartment temperature.
If you need to adjust the temperature in either the refrigerator or freezer compartment, use the settings listed in the chart as a guide.
To Adjust Set Point Temperatures:
The first touch of the (+) or (-) touch pad displays the current temperature set point.
- Press the (+) or (-) touch pads until the desired temperature set point is displayed.
NOTE: Except when first turning on the refrigerator, do not adjust either temperature control more than one setting at a time. Wait 24 hours between adjustments for the temperature to stabilize
| CONDITION/REASON | ADJUSTMENT |
| REFRIGERATOR too warm | REFRIGERATOR Control 1° lowe |
| FREEZER too warm/too little ice | FREEZER Control 1° lower |
| REFRIGERATOR too cold | REFRIGERATOR Control 1° higher |
| FREEZER too cold | FREEZER Control 1° higher |
Additional Control Center Features
Humidity Control
The Humidity Control feature turns on a heater to help reduce moisture on the door hinge seal. Use in humid environments or when you notice moisture on the door hinge seal. The refrigerator uses more energy when Humidity Control is on.
- Press Humidity Control when the environment is warm and more humid, or if you notice moisture on the door hinge seal.
The indicator light will be lit when humidity control is ON. - Press Humidity Control again to turn OFF and save energy when the environment is less humid
humidity Control
Sabbath Mode
The Sabbath Mode is designed for those whose religious observances require turning off the lights and dispensers. ON – All interior lights and alarm tones will be disabled. OFF – All interior lights and alarm tones will be enabled.
- Press and hold the Sabbath Mode touch pad for 3 seconds or until the indicator light is lit to turn on this feature. Press and hold the Sabbath Mode touch pad again to turn off this feature.
Sabbath Mode
Prees and hold
Door Alarm
The Door Alarm feature sounds a chime every few seconds when the refrigerator door has been left open for 5 continuous minutes.
The chime will sound until the door is closed or Door Alarm is turned off.
- Press the Door Alarm to turn this feature ON or OFF. The indicator light will be lit when the Door Alarm feature is on.
Door Alaram
Max Cold
The Max Cold feature assists with periods of high refrigerator use, full grocery loads, or temporarily warm room temperatures.
- Press Max Cold to set the freezer and refrigerator to the lowest temperature settings. Press Max Cold again to return to the normal refrigerator set point.
NOTE: The Max Cold feature will automatically shut off in approximately 12 hours
Max Cold
Filter Reset
The Filter Reset control allows you to restart the water filter status tracking feature each time you replace your water filter. See “Water Filtration System.”
- Press and hold the Filter Reset touch pad for 3 seconds, until the Order or Replace light turns off.
Order Replace
Filter Reset
Prees and Hold
User Preferences
The control center allows you to set user preferences if desired.
Temperature Display (F_C)
This preference allows you to change the temperature display.
F – Temperature in degrees Fahrenheit
C – Temperature in degrees Celsius
Alarm (AL)
This preference allows you to turn off the sound of all alarms.
ON – You will hear the alarm sound.
OFF – You will not hear the alarm sound.
To Access the User Preferences Menu
- Press and hold the Door Alarm touch pad for 3 seconds. The preference name will appear in the Freezer display and the preference status (F or C) or (ON or OFF) will appear in the Refrigerator display.
- Use the Freezer (+) or (-) touch pads to scroll through the preference names. When the desired preference name is displayed, press the Refrigerator (+) or (-) touch pads to change the preference status.
- Set your preferences by pressing and holding the Door Alarm touch pad for 3 seconds or by shutting the refrigerator compartment door
Crisper Humidity Control
You can control the amount of humidity in the moisture-sealed crisper. Depending on your model, adjust the control to any setting between FRUIT and VEGETABLES or LOW and HIGH. FRUIT/LOW (open) for best storage of fruits and vegetables with\ skins.
VEGETABLES/HIGH (closed) for best storage of fresh, leafy vegetables.
Ice Maker
IMPORTANT: Flush the water system before turning on the ice maker. See “Water Dispenser.”
Turning the Ice Maker On/Off
To turn the ice maker ON, simply lower the wire shutoff arm To manually turn the ice maker OFF, lift the wire shutoff arm to the OFF (arm up) position and listen for the click.
NOTE: Your ice maker has an automatic shutoff. As ice is made, the ice cubes will fill the ice storage bin and the ice cubes will raise the wire shutoff arm to the OFF (arm up) position. Do not force the wire shutoff arm up or down.
Auto Ice Storage Bin
Your ice storage bin has a lever which allows the storage bin to slide out with the drawer when it is pulled open or to stay in place.
- Move the lever to the right to attach the ice storage bin to the freezer drawer.
- Move the lever to the left to release the ice storage bin from the freezer drawer.

Ice Production Rate
- The ice maker should produce a complete batch of ice approximately every 3 hours.
- To increase ice production, lower the freezer and refrigerator temperature. See “Using the Controls.” Wait 24 hours between adjustments.
Remember
- Allow 24 hours to produce the first batch of ice. Discard the first three batches of ice produced. Allow 3 days to completely fill the ice storage bin.
- The quality of your ice will be only as good as the quality of the water supplied to your ice maker. Avoid connecting the ice maker to a softened water supply. Water softener chemicals (such as salt) can damage parts of the ice maker and lead to poor quality ice. If a softened water supply cannot be avoided, make sure the water softener is operating properly and is well maintained.
- Do not store anything on top of the ice maker or in the ice storage bin.
IMPORTANT: - After connecting the refrigerator to a water source or replacing the water filter, flush the water system. Use a sturdy container to depress and hold the water dispenser lever for 5 seconds, then release it for 5 seconds. Repeat until water begins to flow. Once water begins to flow, continue depressing and releasing the dispenser paddle (5 seconds on, 5 seconds off) until a total of 4 gal. (15 L) has been dispensed. This will flush air from the filter and water dispensing system, and prepare the water filter for use. Additional flushing may be required in some households. As air is cleared from the system, water may spurt out of the dispenser.
NOTE: After 5 minutes of continuous dispensing, the dispenser will stop dispensing water to avoid flooding. To continue dispensing, press the dispenser paddle again. - Allow 24 hours for the refrigerator to cool down and chill water. Dispense enough water every week to maintain a fresh supply
Dispensing Water
- Hold a container under the dispenser spout while pressing the dispenser pad.
- Release the dispenser pad to stop dispensing.

Water Filtration System
The water filter is located in the upper right-hand corner of the refrigerator compartment.
Do not use with water that is microbiologically unsafe or of unknown quality without adequate disinfection before or after the system. Systems certified for cyst reduction may be used on disinfected waters that may contain filterable cysts.
Water Filter Status Lights
When a water filter has been installed in the refrigerator the water filter status lights will remind you when it is time to order and replace your water filter.
- The Order light (yellow) will illuminate when 90% of the volume of water for which the filter is rated has passed through the filter OR 5 months have passed since the filter was installed.
- The Replace light (red) will illuminate when the rated volume of water has passed through the filter OR 6 months have passed since the filter was installed. A new water filter should be installed immediately when the Replace light is illuminated.
The disposable water filter should be replaced at least every 6 months OR earlier if the flow of water to your water dispenser or ice maker decreases noticeably.
Reset Water Filter Status
After replacing the water filter, press and hold RESET FILTER or FILTER RESET (depending on your model) for 3 seconds. The Order and Replace indicator lights will blink and then go off when the system is reset. See “Using the Controls.”
Replacing the Water Filter
To purchase a replacement water filter, model UKF8001AXX-200/
EDR4RXD1, see “Accessories.”
IMPORTANT: Air trapped in the water system may cause water and filter to eject. Always dispense water for at least 2 minutes before removing the filter or blue bypass cap.
- Turn filter counterclockwise to remove.
- Remove sealing label from replacement filter and insert the filter end into the filter head.
- Turn the filter clockwise until it stops. Snap the filter cover closed.
- Flush the water system. See “Water Dispenser” or “Water and Ice Dispenser.”
NOTE: The dispenser feature may be used without a water filter installed. Your water will not be filtered. If this option is chosen, replace the filter with the blue bypass cap.
REFRIGERATOR CARE
Cleaning
WARNING

Explosion Hazard
Risk of fire or explosion. Flammable refrigerant used.
Do not use mechanical devices to defrost refrigerator.
Do not puncture refrigerant tubing.
WARNING

Explosion Hazard
Use nonflammable cleaner.
Failure to do so can result in death, explosion, or fire.
Both the refrigerator and freezer sections defrost automatically.
However, clean both sections about once a month to avoid buildup of odors. Wipe up spills immediately.
IMPORTANT:
- Because air circulates between both sections, any odors formed in one section will transfer to the other. You must thoroughly clean both sections to eliminate odors. To avoid odor transfer and drying out of food, wrap or cover foods tightly.
- For stainless steel models, stainless steel is corrosion resistant and not corrosion-proof. To help avoid corrosion of your stainless steel, keep your surfaces clean by using the following cleaning instructions.
To Clean Your Refrigerator:
NOTE: Do not use abrasive or harsh cleaners such as window sprays, scouring cleansers, flammable fluids, muriatic acid, cleaning waxes, concentrated detergents, bleaches or cleansers containing petroleum products on exterior surfaces (doors and cabinet), plastic parts, interior and door liners or gaskets. Do not use paper towels, scouring pads, or other harsh cleaning tools
- Unplug refrigerator or disconnect power.
- Hand wash, rinse, and dry removable parts and interior surfaces thoroughly. Use a clean sponge or soft cloth and a mild detergent in warm water.
- Clean the exterior surfaces.
Painted metal: Wash painted metal exteriors with a clean, soft cloth or sponge and a mild detergent in warm water. Rinse surfaces with clean, warm water and dry immediately to avoid water spots.
Stainless steel: Wash stainless steel surfaces with a clean, soft cloth or sponge and a mild detergent in warm water. Rinse surfaces with clean, warm water and dry immediately to avoid water spots.
NOTE: When cleaning stainless steel, always wipe in the direction of the grain to avoid cross-grain scratching.
WARNING
Explosion Hazard
Risk of fire or explosion due to puncture of refrigerant tubing.
Follow handling instructions carefully. Flammable refrigerant used. - There is no need for routine condenser cleaning in normal home operating environments. If the environment is particularly greasy or dusty, or there is significant pet traffic in the home, the condenser should be cleaned every 2 to 3 months to ensure maximum efficiency. If you need to clean the condenser:
- Remove the base grille.
- Use a vacuum cleaner with a soft brush to clean the grille, the open areas behind the grille and the front surface area of the condenser.
- Replace the base grille when finished
- Plug in refrigerator or reconnect power.
Changing the LED Module
If an LED module(s) do not illuminate when the refrigerator and/ or freezer door is opened, call for assistance or service. See “Warranty” for contact information.
TROUBLESHOOTING
First try the solutions suggested here. If you need further assistance or more recommendations that may help you avoid a service call, refer to the warranty page in this manual, or visit http://jennair.custhelp.com. In Canada, visit www.jennair.ca (website may not be compatible with some mobile devices).
Contact us by mail with any questions or concerns at the address below:
In the U.S.A.:
JennAir Brand Home Appliances
Customer eXperience Center
553 Benson Road
Benton Harbor, MI 49022-2692
In Canada:
JennAir Brand Home Appliances
Customer eXperience Centre
200 – 6750 Century Ave.
Mississauga, Ontario L5N 0B7
Please include a daytime phone number in your correspondence.
Refrigerator Operation
The refrigerator will not operate
WARNING

Electrical Shock Hazard
Plug into a grounded 3 prong outlet.
Do not remove ground prong.
Do not use an adapter.
Do not use an extension cord.
Failure to follow these instructions can result in death, fire, or electrical shock.
- Power cord unplugged? Plug into a grounded 3 prong outlet.
- Is outlet working? Plug in a lamp to see if the outlet is working.
- Household fuse blown or circuit breaker tripped? Replace the fuse or reset the circuit breaker. If the problem continues, call an electrician.
- Are controls on? Make sure the refrigerator controls are on. See “Using the Controls.”
- New installation? Allow 24 hours following installation for the refrigerator to cool completely.
NOTE: Adjusting the temperature controls to coldest setting will not cool either compartment more quickly
The motor seems to run too much
Your new refrigerator may run longer than your old one due to its high-efficiency compressor and fans. The unit may run even longer if the room is warm, a large food load is added, doors are opened often, or if the doors have been left open.
The refrigerator seems noisy
Refrigerator noise has been reduced over the years. Due to this reduction, you may hear intermittent noises from your new refrigerator that you did not notice from your old model. Below are listed some normal sounds with explanations.
- Buzzing – heard when the water valve opens to fill the ice maker
- Pulsating – fans/compressor adjusting to optimize performance
- Hissing/Rattling – flow of refrigerant, movement of water lines, or from items placed on top of the refrigerator
- Sizzling/Gurgling – water dripping on the heater during defrost cycle
- Popping – contraction/expansion of inside walls, especially during initial cool-down
- Water running – may be heard when ice melts during the defrost cycle and water runs into the drain pan
- Creaking/Cracking – occurs as ice is being ejected from the ice maker mold.
The doors will not close completely
- Door blocked open? Move food packages away from door.
- Bin or shelf in the way? Push bin or shelf back in the correct position.
The doors are difficult to open
WARNING

Explosion Hazard
Use nonflammable cleaner.
Failure to do so can result in death, explosion, or fire.
- Gaskets dirty or sticky? Clean gaskets and contact surfaces with mild soap and warm water. Rinse and dry with soft cloth.
Temperature and Moisture
Temperature is too warm
- New installation? Allow 24 hours following installation for the refrigerator to cool completely.
- Door(s) opened often or left open? Allows warm air to enter refrigerator. Minimize door openings and keep doors fully closed.
- Large load of food added? Allow several hours for refrigerator to return to normal temperature.
- Controls set correctly for the surrounding conditions?
Adjust the controls a setting colder. Check temperature in 24 hours. See “Using the Controls.”
There is interior moisture buildup
WARNING

Explosion Hazard
Risk of fire or explosion. Flammable refrigerant used.
Do not use mechanical devices to defrost refrigerator.
Do not puncture refrigerant tubing.
NOTE: Some moisture buildup is normal.
- Humid room? Contributes to moisture buildup.
- Door(s) opened often or left open? Allows humid air to enter refrigerator. Minimize door openings and keep doors fully closed.
Ice and Water
The ice maker is not producing ice or not enough ice
- Refrigerator connected to a water supply and the supply shutoff valve turned on? Connect refrigerator to water supply and turn water shutoff valve fully open.
- Kink in the water source line? A kink in the line can reduce water flow. Straighten the water source line.
- Ice maker turned on? Make sure wire shutoff arm or switch (depending on model) is in the ON position.
- New installation? Wait 24 hours after ice maker installation for ice production to begin. Wait 72 hours for full ice production.
- Freezer door closed completely? Firmly close the freezer compartment door. If the freezer compartment door will not close all the way, see “The doors will not close completely,” earlier in this section.
- Large amount of ice recently removed? Allow 24 hours for ice maker to produce more ice.
- Ice cube jammed in the ice maker ejector arm? Remove ice from the ejector arm with a plastic utensil.
- Water filter installed on the refrigerator? Remove filter and operate ice maker. If ice volume improves, then the filter may be clogged or incorrectly installed. Replace filter or reinstall it correctly.
- Reverse osmosis water filtration system connected to your cold water supply? This can decrease water pressure. See “Water Supply Requirements.”
The ice cubes are hollow or small
NOTE: This is an indication of low water pressure.
- Water shutoff valve not fully open? Turn the water shutoff valve fully open.
- Kink in the water source line? A kink in the line can reduce water flow. Straighten the water source line.
- Water filter installed on the refrigerator? Remove filter and operate ice maker. If ice quality improves, then the filter may be clogged or incorrectly installed. Replace filter or reinstall it correctly.
- Reverse osmosis water filtration system connected to your cold water supply? This can decrease water pressure. See “Water Supply Requirements.”
- Questions remain regarding water pressure? Call a licensed, qualified plumber.
Off-taste, odor or gray color in the ice
- New plumbing connections? New plumbing connections can cause discolored or off-flavored ice.
- Ice stored too long? Discard ice. Wash ice bin. Allow 24 hours for ice maker to make new ice.
- Odor transfer from food? Use airtight, moisture proof packaging to store food.
- Are there minerals (such as sulfur) in the water? A water filter may need to be installed to remove the minerals.
- Water filter installed on the refrigerator? Gray or dark discoloration in ice indicates that the water filtration system needs additional flushing. Flush the water system before using a new water filter. Replace water filter when indicated. See “Water Filtration System.”
The water dispenser will not operate properly
- Refrigerator connected to a water supply and the supply shutoff valve turned on? Connect refrigerator to water supply and turn water shutoff valve fully open.
- Kink in the water source line? Straighten the water source line.
- New installation? Flush and fill the water system. See “Water Dispenser.”
- Is the water pressure at least 35 psi (241 kPa)? The water pressure to the home determines the flow from the dispenser. See “Water Supply Requirements.”
- Water filter installed on the refrigerator? Remove filter and operate dispenser. If water flow increases, the filter may be clogged or incorrectly installed. Replace filter or reinstall it correctly.
- Refrigerator door closed completely? Close the door firmly. If it does not close completely, see “The doors will not close completely,” earlier in this section.
- Recently removed the doors? Make sure the water dispenser wire/tube assembly has been properly reconnected. See “Refrigerator Door(s) and Drawer.”
- Reverse osmosis water filtration system connected to your cold water supply? This can decrease water pressure. See “Water Supply Requirements.”
Water is leaking from the dispenser system
NOTE: One or two drops of water after dispensing is normal.
- Glass not being held under the dispenser long enough? Hold the glass under the dispenser 2 to 3 seconds after releasing the dispenser lever.
- New installation? Flush the water system. See “Water Dispenser.”
- Recently changed water filter? Flush the water system. See “Water Dispenser.”
- Water on the floor near the base grille? Make sure the water dispenser tube connections are fully tightened. See “Refrigerator Door(s) and Drawer
Water from the dispenser is warm
NOTE: Water from the dispenser is only chilled to 50°F (10°C).
- New installation? Allow 24 hours after installation for the water supply to cool completely.
- Recently dispensed large amount of water? Allow 24 hours for water supply to cool completely.
- Water not been recently dispensed? The first glass of water may not be cool. Discard the first glass of water.
- Refrigerator connected to a cold water pipe? Make sure the refrigerator is connected to a cold water pipe. See “Water Supply Requirements.”
ACCESSORIES
The following accessories are available for your refrigerator. To order an accessory, contact us and ask for the part number.
In the U.S.A., visit our webpage www.jennair.com/accessories or call 1-800-JENNAIR (1-800-536-6247).
In Canada, visit our webpage www.whirlpoolparts.ca or call 1-800-JENNAIR (1-800-536-6247).
Affresh® Stainless Steel Cleaner:
In U.S.A., order Part #W10355016
In Canada, order Part #W10355016BAffresh® Stainless Steel Wipes:
In U.S.A., order Part #W10355049
In Canada, order Part #W10355049B
Affresh® Kitchen & Appliance Cleaner:
In U.S.A., order Part #W10355010
In Canada, order Part #W10355010B
Water Filter:
Order Part #EDR4RXD1/#EDR4RXD1B
Produce Preserver (on some models):
Order Part #W10346771A
PERFORMANCE DATA SHEET
Water Filtration System W11256135 and W11311161
Model EDR4RXD1/EDR4RXD1B (equivalent to UKF8001)
Capacity 200 Gallons (757 Liters) with PID.
100 Gallons (379 Liters) without PID.
System tested and certified by NSF International against NSF/ ANSI Standard 42, 53, 401 and CSA B483.1 for the reduction of contaminants specified on the Performance Data Sheet
This system has been tested according to NSF/ANSI Standards 42, 53, 401 and CSA B483.1 for the reduction of the substances listed below. The concentration of the indicated substances in water entering the system was reduced to a concentration less than or equal to the permissible limit for water leaving the system, as specified in NSF/ANSI Standards 42, 53, 401 and CSA B483.1.
| Substance Reduction Aesthetic EffectsAesthetic Effects | Influent Challenge ConcentrationConcentration | Maximum Permissible Product Water ConcentrationConcentration | Average% Reduction | Minimum % Reduction |
| Chlorine Taste/Odor | 2.0 mg/L ± 10% | 50% reduction | >97.4% | 97.4% |
| Particulate Class I* | At least 10,000 particles/mL | 85% reduction | 99.3% | 99.0% |
| Contaminant Reduction | Influent Challenge ConcentrationConcentration | Maximum Permissible Product Water Concentration | Average%Reduction | Minimum % Reduction |
| Lead***: @ pH 6.5 / @ pH 8.5 | 0.150 mg/L ± 10% | 0.010 mg/L | 99.6% / >99.7% | 99.3% / >99.7% |
| Mercury: @ pH 6.5 / @ pH 8.5 | 0.006 mg/L ± 10% | 0.002 mg/L | 96.3% / 94.5% | 96.3% / 89.5% |
| Asbestos | 107 to 108 fibers/L†† | >99% | >99% | >99% |
| Cysts† | 50,000/L min. | >99.95% | >99.99% | 99.99% |
| Atrazine | 0.009 mg/L ± 10% | 0.003 mg/L | >94.3% | 94.3% |
| Benzene | 0.015 mg/L ± 10% | 0.005 mg/L | >96.5% | 96.5% |
| Carbofuran | 0.080 mg/L ± 10% | 0.040 mg/L | >98.8% | 98.8% |
| Lindane | 0.002 mg/L ± 10% | 0.002 mg/L | >99.0% | 98.9% |
| P-Dichlorobenzene | 0.225 mg/L ± 10% | 0.075 mg/L | >99.8% | 99.8% |
| Tetrachloroethylene | 0.015 mg/L ± 10% | 0.005 mg/L | >96.4% | 95.8% |
| Toxaphene | 0.015 mg/L ± 10% | 0.003 mg/L | >93.2% | 93.1% |
| Atenolol | 200 ± 20% | 30 ng/L | >95.5% | 95.5% |
| Endrin | 0.006 mg/L ± 10% | 0.002 mg/L | 96.4% | 94.8% |
| Ethylbenzene | 2.1 mg/L ± 10% | 0.7 mg/L | >99.9% | 99.9% |
| O-Dichlorobenzene | 1.8 mg/L± 10% | 0.6 mg/L | >99.9% | 99.9% |
| 2,4 – D | 0.210 mg/L ± 10% | 0.07 mg/L | 99.3% | 97.4% |
| Carbamazepine | 1400 ± 20% | 200 ng/L | >98.7% | 98.6% |
| DEET | 1400 ± 20% | 200 ng/L | >98.6% | 98.6% |
| Linuron | 140 ± 20% | 200 ng/L | >96.3% | 96.3% |
| Meprobamate | 400 ± 20% | 60 ng/L | >95.2% | 95.2% |
| Metolachor | 1400 ± 20% | 200 ng/L | >98.7% | 98.7% |
| Trimethoprim | 140 ± 20% | 20 ng/L | >96.6% | 96.5% |
| Bisphenol | 2000 ± 20% | 300 ng/L | >99.1% | 99.1% |
| Estrone | 140 ± 20% | 20 ng/L | >96.6% | 96.4% |
| Nonylphenol | 1400 ± 20% | 200 ng/L | >96.7% | 96.6% |
| Ibuprofen | 400 ± 20% | 60 ng/L | >95.5% | 95.3% |
| Naproxen | 140 ± 20% | 20 ng/L | >96.8% | 96.7% |
| Phenytoin | 200 ± 20% | 30 ng/L | >95.5% | 95.5% |
| Turbidity | 11 NTU ± 10% | 0.5 NTU | 98.8% | 98.2% |
| Chlorobenzene | 2.0 mg/L ± 10% | 0.1 mg/ L | >99.9% | 99.9% |
Test Parameters: pH = 7.5 ± 0.5 unless otherwise noted. Flow = 0.70 gpm (2.65 Lpm). Pressure = 60 psig (413.7 kPa).
Temp. = 68°F to 71.6°F (20°C to 22°C). Rated service capacity = 200 gallons (757 liters).
The compounds certified under NSF 401 have been deemed as “emerging compounds/incidental contaminants.” Emerging compounds/ incidental contaminants are those compounds that have been detected in drinking water supplies at trace levels. While occurring at only trace levels, these compounds can affect the public acceptance/ perception of drinking water quality
- It is essential that operational, maintenance, and filter replacement requirements be carried out for the product to perform as advertised. Property damage can occur if all instructions are not followed.
- The disposable cartridge must be changed at least every 6 months.
- Use replacement filter UKF8001, Part #EDR4RXD1/ EDR4RXD1B. 2015 suggested retail price of $49.99 U.S.A./ $49.95 Canada. Prices are subject to change without notice.
- The filter monitor system measures the amount of water that passes through the filter and alerts you when it is time to replace the filter. To learn how to check the water filter status, see “Using the Controls” or “Water Filtration System” in the Quick Start Guide.
- After changing the water filter, flush the water system. See “Water and Ice Dispensers” or “Water Dispenser”.
- These contaminants are not necessarily in your water supply.
While testing was performed under standard laboratory conditions, actual performance may vary - The product is for cold water use only.
- The water system must be installed in compliance with state and local laws and regulations.
- Do not use with water that is microbiologically unsafe or of unknown quality without adequate disinfection before or after the system. Systems certified for cyst reduction may be used on disinfected waters that may contain filterable cysts. EPA Est. No. 69625-CT-001.
- Refer to the “Warranty” for the Manufacturer’s limited warranty, name and telephone number.
Application Guidelines/Water Supply Parameters
Water Supply: Potable City or Well
Water Pressure: 35 psi – 120 psi (241 kPa – 827 kPa)
30 psi – 120 psi (207 kPa – 827 kPa)
Water Temperature: 33° – 100°F (0.6° – 37.8° C)
Service Flow Rate: 0.70 GPM (2.65 L/min.) @ 60 psi.
(413.7 kPa)
- Your water filtration system will withstand up to 120 pounds per square inch (psi) water pressure. If your water supply is higher than 80 psi, install a pressure reducing valve before installing the water filtration system.
*Class I particle size: >0.5 to 1 um
***Compliant for Lead reduction requirements under NSF/ANSI Standard 53 as tested by Pace Analytical
Services, Inc.
†Based on the use of Cryptosporidium parvum oocysts
††Fibers greater than 10 um in length
® NSF is a registered trademark of NSF International.
®/™ ©2020 All rights reserved. Used under license in Canada




























