
APPLIANCES
INSPIRING THE WORLD’S KITCHEN

REFRIGERATOR
Cosmo is constantly making efforts to improve the quality and performance of our products, so we may make changes to our appliances without updating this manual.
COS-FDR225 Series
PRODUCT MANUAL
The electronic version of this manual is available at: www.cosmoappliances.com
THANK YOU FOR YOUR PURCHASE
Thank you for your purchase. We know that you have many brands and products to choose from and we are honored to know that you have decided to take one of our products into your home and hope that you enjoy it.
COSMO appliances are designed according to the strictest safety and performance standards for the North American market. We follow the most advanced manufacturing philosophy. Each appliance leaves the factory after thorough quality inspection and testing. Our distributors and our service partners are ready to answer any questions you may have regarding how to install, use and care for your products. We hope that this manual will help you learn to use the product in the safest and most effective manner.
If you have any questions or concerns, please contact the dealer from whom you purchased it, or contact our Customer Support at: 1-888-784-3108.
Please read the important safety instructions before using our appliances for your own safety and to reduce the risk of fire or electrical shock, etc.
Please keep this manual for future use.
THANK YOU
Your safety and the safety of others are very important.
We have provided many important safety messages in this manual and on your appliance. Always read and obey all safety messages.
IMPORTANT SAFETY INFORMATION
READ ALL INSTRUCTIONS BEFORE USING THE APPLIANCE
WARNING
To reduce the risk of fire, explosion, electric shock, or injury when using your refrigerator, follow these basic safety precautions:
- This refrigerator must be properly installed and located in accordance with the Installation Instructions before it is used.
- Unplug the refrigerator before making repairs or cleaning.
NOTE: Power to the refrigerator cannot be disconnected by any setting on the control panel.
NOTE: Repairs must be performed by a qualified Service Professional. - Replace all parts and panels before operating.
- Do not use an extension cord.
- Do not store or use gasoline or other flammable vapors and liquids in the vicinity of this or any other appliance.
- Do not store explosive substances such as aerosol cans with a flammable propellant in this appliance.
- To prevent suffocation and entrapment hazards to children, remove the fresh food and freezer doors from any refrigerator before disposing of it or discontinuing its use.
- To avoid serious injury or death, children should not stand on, play in, or with the appliance.
- Children and persons with reduced physical, sensory or mental capabilities or lack of experience and knowledge can use this appliance only if they are supervised or have been given instructions on safe use and understand the hazards involved.
- This appliance is intended to be used in household and similar applications such as staff kitchen areas in shops, offices, and other working environments; farm houses; by clients in hotels, motels, bed & breakfast, and other residential environments; catering and similar non-retail applications.
- Connect to potable water supply only. A cold water supply is required for automatic icemaker operation. The water pressure must be between 40 and 120 psi (275-827 kilopascals).
CAUTION To reduce the risk of injury when using your refrigerator, follow these basic safety precautions.
- Do not clean glass shelves or covers with warm water when they are cold. Glass shelves and covers may break if exposed to sudden temperature changes or impact, such as bumping or dropping. Tempered glass is designed to shatter into many small pieces if it breaks.
- Keep fingers out of the “pinch point” areas; clearances between the doors and between the doors and cabinet are necessarily small. Be careful closing doors when children are in the area.
- Do not touch the cold surfaces in the freezer compartment when hands are damp or wet, skin may stick to these extremely cold surfaces.
- Do not refreeze frozen foods that have thawed completely.
- In refrigerators with automatic icemakers, avoid contact with the moving parts of the ejector mechanism, or with the heating element that releases the cubes. Do not place fingers or hands on the automatic ice-making mechanism while the refrigerator is plugged in.
- Use a sturdy glass when dispensing ice (on models with ice dispensers
- Do not store beer, beverages or other fluids in bottles or enclosed containers in the freezer or they may crack or explode causing damage.
STATE OF CALIFORNIA PROPOSITION 65 WARNINGS
WARNING
This product contains one or more chemicals known to the State of California to cause cancer and birth defects or other reproductive harm.
INSTALLATION
WARNING
EXPLOSION HAZARD
Keep flammable materials and vapors, such as gasoline, away from the refrigerator. Failure to do so can result in fire, explosion, or death.
READ AND SAVE THESE INSTRUCTIONS
This is the safety alert symbol. This symbol alerts you to potential hazards that can kill or hurt you and others. All safety messages will follow the safety alert symbol and either the word “DANGER,” “WARNING” or “CAUTION.”
DANGER
An imminently hazardous situation. You could be killed or seriously injured if you don’t immediately follow instructions.
WARNING
A potentially hazardous situation that, if not avoided, could result in death or serious bodily injury.
CAUTION
A potentially hazardous situation that, if not avoided, may result in moderate or minor injury.
All safety messages will tell you what the potential hazard is, tell you how to reduce the chance of injury, and tell you what can happen if the instructions are not followed.
CONNECTING ELECTRICITY
WARNING
ELECTRICAL SHOCK HAZARD
Plug into a grounded 3-prong outlet
Do not remove the ground prong
Do not use an adapter
Do not use an extension cord. Failure to follow these instructions can result in death, fire, or electrical shock.
Do not, under any circumstances, cut or remove the third (ground) prong from the power cord. For personal safety, this appliance must be properly grounded.
The power cord of this appliance is equipped with a 3-prong (grounding) plug which mates with a standard Have the wall outlet and circuit checked by a qualified electrician to make sure the outlet is properly grounded.
Where a standard 2-prong wall outlet is encountered, it is your personal responsibility and obligation to have it replaced with a properly grounded 3-prong wall outlet.
The refrigerator should always be plugged into its own individual electrical outlet which has a voltage rating that matches the rating plate.
A 115 Volt AC, 60 Hz, 15- or 20-amp fused, grounded electrical supply is required. This provides the best performance and also prevents overloading house wiring circuits which could cause a fire hazard from overheated wires. Never unplug your refrigerator by pulling on the power cord. Always grip the plug firmly and pull it straight out from the outlet. Immediately discontinue use of a damaged supply cord. If the supply cord is damaged, it must be replaced by a qualified service professional with an authorized service part from the manufacturer. When moving the refrigerator away from the wall, be careful not to roll over or damage the power cord.
PROPER DISPOSAL OF YOUR OLD REFRIGERATOR
WARNING SUFFOCATION AND ENTRAPMENT HAZARD
Failure to follow these disposal instructions can result in death or serious injury
IMPORTANT: Child entrapment and suffocation are not problems of the past. Junked or abandoned refrigerators are still dangerous even if they will sit for lust a few days.” If you are getting rid of your old refrigerator, please follow the instructions below to help prevent accidents.
Before You Throw Away Your Old Appliance
- Take off the fresh food and freezer doors.
- Leave the shelves in place so that children may not easily climb inside.
Refrigerant and Foam Disposal:
Dispose of the appliance in accordance with Federal and Local Regulations. Flammable insulation material used requires the special disposal of your appliance. Contact your local authorities for the environmentally safe disposal of your appliance.
Correct Disposal of this product:
This marking indicates that this product should not be disposed of with other household wastes. To prevent possible harm to the environment or human health from uncontrolled waste disposal, recycle it responsibly to promote the sustainable reuse of material resources. To return your used device, please use the return and collection systems or contact the retailer where the product was purchased. They can take this product for environmentally safe recycling.
INSTALLATION INSTRUCTIONS
Precautions before operation
Information in this instruction manual is for reference only. Make sure the power is disconnected before trying to operate the unit and making any adjustments to the height with the leveling feet. Precautions should be taken to prevent personal injury.
PUT THE REFRIGERATOR IN PLACE
Move the refrigerator to its final location.
LEVEL THE REFRIGERATOR
Adjustable legs at the front corners of the refrigerator should be set so the refrigerator is firmly positioned on the floor, and the front is raised just enough that the door closes easily when opened about halfway.
To adjust the leveling legs, turn the legs clockwise to raise the refrigerator, and counterclockwise to lower it.

(The picture above is for reference only. The actual configuration will depend on the physical product or statement by the distributor) If the doors remain uneven, turn the adjustable pin to raise the lowest door using a 1/4″ Allen wrench to turn the pin.
Parts Included:
| Parts list | Usage |
| 1. Allen Wrench (1) | To tighten handle screws. |
| 2. Socket Screws | To install handles w wrench. |
| 3. Metal Gaskets | To level refrigerator doors. |
| 4. Quick Connect | To connect piping to water faucet. |

LEVEL THE REFRIGERATOR DOORS
Remember a level refrigerator is necessary for getting the doors perfectly even. If you need help, review the previous section on leveling the refrigerator.

(The picture above is for reference only. The actual configuration may differ slightly)
USING SPACERS (provided):
- Open the door. With the door open, lift the door upward.
- By hand or using pliers, clip the spacer (provided) onto the center hinge pin.

Installation Instructions – Door Handle for COS-FDR225RHSS-G

Use the following instructions to install stainless steel door handles to the French doors of your Cosmo refrigerator.
Step 1: Screw in anchors to the door with a Philips head screwdriver (See Fig. 1-2).
Installation Instructions – Door Handle for COS-FDR225RHSS-G

Step 2: Line up and fit the handle into the top and bottom door anchors. (See Fig. 3).
Step 3: Using an allen wrench, secure in the top and bottom handle screws to the door anchors. (See Fig. 4-5).
Installation Instructions
INSTALLING THE WATER LINE
WHAT YOU WILL NEED
NOTE: Only use approved plastic tubing kits if not using copper, certain types of plastic will crack or rupture with age and cause water damage to your home. Cross-linked High-Density Polyethylene, PEX, the hose is extremely durable and is becoming increasingly preferred.
- A Copper or approved flexible type, Universal Refrigerator Tubing Kit, or Ice-Maker install kit..
- 1/4″ outer diameter to connect the refrigerator to the water supply. If using copper, be sure both ends of the tubing are cut square.
- A cold water supply. The water pressure must be between 20 and 120 p.s.i. (138-827 kPa).

- Power drill.
- 1/2″ or adjustable wrench.
- Straight and Phillips blade screwdriver.

- Two 1/4″ outer diameter compression nuts and 2 ferrules (sleeves)—to connect the copper tubing to the shutoff valve and the refrigerator water valve. OR
- You can find kits that come with all parts included such as Stop Tee and compression fittings.
- If your existing copper water line has a flared fitting at the end, you will need an adapter (available at plumbing supply stores) to connect the water line to the refrigerator OR you can cut off the flared fitting with a tube cutter and then use a compression fitting.

- Shutoff valve to connect to the cold water line. The shutoff valve should have a water inlet with a minimum inside diameter of 5132″ at the point of connection to the COLD WATER LINE. Saddle-type shutoff valves are included in many water supply kits. Before purchasing, make sure a saddle-type valve complies with your local
Install the shutoff valve on the nearest frequently used drinking water line.
- SHUT OFF THE MAIN WATER SUPPLY
Turn on the nearest faucet long enough to clear the line of water. - CHOOSE THE VALVE LOCATION
Choose a location for the valve that is easily accessible. It is best to connect into the side of a vertical water pipe. When it is necessary to connect to a horizontal water pipe, make the connection to the top or side, rather than at the bottom, to avoid drawing off any sediment from the water pipe.
- DRILL THE HOLE FOR THE VALVE Drill a 1/4″ hole in the water pipe (even if using a self-piercing valve), using a sharp bit. Remove any burrs resulting from drilling the hole in the pipe. Take care not to allow water to drain into the drill. Failure to drill a 1/4″ hole may result in reduced ice production or smaller cubes.

- FASTEN THE SHUTOFF VALVE
Fasten the shutoff valve to the cold water pipe with the pipe clamp.
NOTE: Commonwealth of Massachusetts Plumbing Codes 248CMR shall be adhered to. Saddle valves are illegal and use is not permitted in Massachusetts. Consult with your licensed plumber. - TIGHTEN THE PIPE CLAMP Tighten the clamp screws until the sealing washer begins to swell.
NOTE: Do not over-tighten or you may crush the tubing.
- ROUTE THE TUBING
Route the tubing between the cold water line and the refrigerator. Route the tubing through a hole drilled in the wall or floor (behind the refrigerator or adjacent base cabinet) as dose to the wall as possible. - CONNECT TO SHUTOFF VALVE Place the compression nut and ferrule (sleeve) for copper tubing onto the end of the tubing and connect it to the shutoff valve. Make sure the tubing is fully inserted into the valve. Tighten the compression nut securely. For plastic tubing with Quick Connect (included) tubing kit, insert the molded end of the tubing into the shutoff valve and tighten the compression nut until it is hand tight, then tighten one additional turn with a wrench. Over tightening may cause leaks.
NOTE: Commonwealth of Massachusetts Plumbing Codes 248CMR shall be adhered to. Saddle valves are illegal and use is not permitted in Massachusetts. Consult with your licensed plumber. - FLUSH OUT THE TUBING
Turn the main water supply on and flush out the tubing until the water is clear. Shut the water off at the water valve after about one quart (1 liter), or 2 minutes, of water has been flushed through the tubing.
*QUICK CONNECT FITTING*
![]() | |
| Fitting grips before it seals. Ensure the tube is pushed in to the tube stop | Pull-on the tube to check it is secure. Turn on the water and check for leaks. (If you have leaked just cut a small portion of the hose further down to give a smooth edge.) |
![]() | |
| Push the tube into the fitting all the way up to the tube stop. | To disconnect, ensure the system is depressurized before removing the tube. Push in Quick Connect end piece squarely against face of fitting. With it held in this position, the tube can be removed. |
Proper Use of the Refrigerator
Changing the Lights
Please contact us at 1-888-784-3108 for more information.
Before you begin
- Before initial start-up, keep the refrigerator still before connecting to a power supply.
- Before putting any fresh or frozen foods, let the refrigerator run for 2-3 hours, or 4 and above in the Summer when the ambient temperature is higher.

- Make sure to leave enough space to allow for the doors and drawers to be opened without obstruction for your safety and convenience.
Energy Saving Tips
- The appliance should be located in the coolest area of the room, away from heat-producing appliances or heating ducts and out of direct sunlight.
- Let hot foods cool to room temperature before placing them in the appliance. Overloading forces the compressor to run longer. Foods that freeze too slowly may lose quality or spoil.
- Be sure to wrap foods properly and wipe containers dry before placing them in the appliance. This cuts down on frost build-up inside the fridge.
- The appliance storage bin should not be lined with aluminum foil, wax paper, or paper towels. Liners interfere with cold air circulation making the appliance less efficient.
- Organize and label food to reduce door opening and extended searches. Remove as many items needed at one time and close the door as soon as possible.
Placement

- Before use, remove all packing materials including bottom cushions, foam pads and tape inside of the refrigerator; tear off the protective film on the doors and the refrigerator body.

- Keep away from heat and direct sunlight. Do not place the freezer in moist or watery places to prevent rust or reduced insulation.
- Do not spray or wash the refrigerator; do not put the refrigerator in places that are prone to be splashed with water so as not to affect the electrical insulation of the appliance.

- The refrigerator should be placed in a well-ventilated indoor area. Place on flat level ground and adjustable legs to level evenly if needed.

- Allow at least a foot of room on top of the refrigerator and place it against a wall with at least 4″ room to allow heat dissipation.
*Precautions before installation:
Before installation or adjusting of accessories, ensure the refrigerator is disconnected from power. This appliance may require two people to move to reduce the risk of injury.
Structure and Functions
Key Components (Refrigerator)

(The picture above is for reference only. The actual configuration will depend on the physical product or statement by the distributor)
Dairy Bin / Door Trays: This is the warmest area of the fridge as room-temperature air gushes in every time the door is opened. Put your least perishable items on the door, like ketchup, mustard, soy sauce, and other condiments with longer shelf lives.
Shelves The top shelves have the most consistent temperature in the fridge. Use them for dairy, ready-to-eat foods, or leftovers.
LED lighting LED Light is located at the top of the fresh food compartment. LED lights are also located in the freezer.
Crisper Drawer Designed to maintain moisture, use this area to keep your fruits and vegetables at their best longer. (separate them to avoid over-ripening due to ethylene release by certain fruit)
Big Drawer Keep eggs in their storebought cartons and stack them on the bottom shelf. Cold air sinks, so this is often the coldest part of the fridge, particularly in the back. It’s also a good place to store deli meat and fish.
Freezer Drawers Keep food fresh by storing meat, fish & other foods not for short-term consumption.

(The picture above is for reference only. The actual configuration will depend on the physical product or statement by the distributor)
Refrigerated Area
- The Refrigerator is suitable for a variety of fruits, vegetables, beverages and other food consumed in the short term.
- Cooked foods should not be put in the refrigerator until cooled to room temperature.
- Foods are recommended to be sealed before refrigerating.
- The glass shelves can be adjusted up or down to allow for needed storage space and ease of use.
Freezer Area
- The low-temperature freezer will keep food fresh for a long time and is mainly used to store frozen foods and make ice.
- The freezer is suitable for storing meat, fish, rice balls, and other foods not to be consumed in short term.
- Divide chunks of meat into small pieces for easy access. *Food should be consumed within its shelf life.
Note: Storage of too much food during operation after the initial connection to power may adversely affect the freezing effect of the refrigerator. Foods stored shall not block the air outlet; or otherwise, the freezing effect will also be adversely affected.
Functions

(The picture above is for reference only. The actual configuration will depend on the physical product or statement by the distributor)
Buttons
- ICE MAKER
- FRIDGE
- SUPER FREEZE
- SUPER COOL
- FREEZER
- LOCK/UNLOCK
Display
A) When the refrigerator first starts up the display screen will light up for 3 seconds and you will hear a beep. The screen will be in its normal mode of operation. (if powering for the first time, the default temperature of the fridge will be 41°F and the freezer will be 0°F).
B) It will display the set temperature of both the refrigerator and freezer when there is no fault.
C) Under normal circumstances, the display light will go out after 30 secs. in a lock state. Button operation on the display panel will wake up the display screen; if opening the door wakes up the screen, it will go out immediately after the door closes; when the “fault code visible” occurs, the display screen lights up and will go out after 30 secs.
Lock/Unlock
A) In an unlocked state, press and hold the LOCK/UNLOCK button for 3 secs. to lock – a beep will sound.
B) In the locked state, press and hold the LOCK/UNLOCK button for 3 secs. to lock – a beep will sound.
C) Display will lock after opening the door and no actions taken within 30 seconds.
D) Alarm sound can be stopped by pressing any button in a locked state. All other button actions need to be performed in an unlocked state. An error beep will sound if trying to operate in a locked state.
Refrigerator Temperature Setting
Click the Temperature button to adjust the refrigerator temperature. Each time you push it the temperature will drop by 1°F. When the set temperature reaches 34°F, click the button again and the set temperature will switch to 34°F.
Freezer Temperature Setting
Click the Freezer button to adjust the freezer temperature. Each time you push it the temperature will drop by 1°F. When the set temperature reaches -7°F, click the button again and the set temperature will switch to -7°F.
Mode Settings
- Pressing the (SUPER COOL) button turns it ON and will automatically go to 34°F and the icon will light up. Pressing again will turn this function OFF and the temperature will return to the previous set temperature.
- Pressing the (SUPER FRZ) button turns it ON and will automatically go to -7°F and the icon will light up. Pressing again will turn this function OFF and the temperature will return to the previous set temperature.
- Pressing the (ICE MAKER) button turns this function ON/OFF. The icon will light up when ice-making is active.

Error Codes
When the following codes appear on the display screen it indicates a problem with the refrigerator. Your refrigerator will still continue to operate even if there is a fault present but you should contact a technician with any questions regarding the error.
| Error code | Error description |
| El | Temperature sensor failure of refrigerator room |
| E2 | Temperature sensor failure of freezer room |
| E5 | Defrost sensor error of freezer room |
| E6 | Communication error |
| E7 | Ambient temperature sensor error |
| EH | Humidity sensor error |
| Eo | Ice maker error |
Maintenance & Care
Overall Cleaning
- To maintain proper cooling and preserve energy, clean the dust from behind and under the refrigerator regularly. The inside should be clean regularly as well to avoid odors and bacteria from forming. Use a soft towel or nonabrasive sponge with soapy water to clean.
- The freezer should be cleaned with clean water and a dry cloth. Leave the doors open for natural drying before restoring power to the unit.
- Do not use hard brushes, steel wool, wire brushes, abrasives such as toothpaste, organic solvents (alcohol, acetone, banana oil, etc.) boiling water, acid or alkaline items to clean the refrigerator. Doing so may damage the fridge surface and interior.
Do not rinse with water or you could affect the electrical insulation.
Please unplug the refrigerator for defrost and cleaning

Cleaning of Door Trays

- Remove all items from the tray, grab outer ends and squeeze together, push up and pull out the tray.
- Wash tray and install back in place or adjust the height as desired.
To replace the shelves:
- While tilting the shelf up, insert the top hook at the back of the shelf in a slot on the track.
- Lower the front of the shelf until the bottom of the shelf locks into place.

(The picture above is for reference only. The actual configuration will depend on the physical product or statement by the distributor)
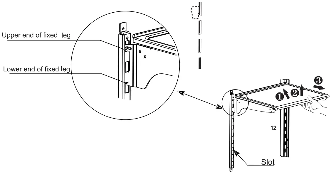
Cleaning the Shelf
- Please dismantle the cantilever shelf according to the arrows shown above:
1. Grab the front edge of the shelf and tilt up until the lower end of the fixed leg comes out of support.
2. Lift the shelf up as far as you can (in the slot).
3. Pull the shelf out towards you (horizontally) - During installation, put the upper end of the fixed leg into one of the upper slots on the supporting iron first, then put the lower end of the fixed leg into the third slot on the lower part of the supporting iron.
Cleaning of lower freezer drawer

- Pull out the lower freezer drawer toward you
- As shown above; press the buttons in both slots at the same time and pull the drawer out until it stops.
- Pull the drawer up and out as shown.
- After cleaning, put the drawer back in the original position, close the drawer and the button mechanism will lock it automatically.
Note: do not remove the lower freezer drawer if not necessary.
Defrosting
The refrigerator is made based on the air-cooling principle and thus has an automatic defrosting function. Frost formed due to a change of season or temperature may also be manually removed by disconnection of the appliance from the power supply or by wiping with a dry towel.
Out of Operation
Power Failure: In case of power failure, even during the Summer, foods inside the refrigerator can be kept for several hours. During the power failure, minimize opening the doors and do not place any fresh food inside until power is restored.
Extended periods of non-use: The appliance should be unplugged and then cleaned; the doors should be left open to prevent odor buildup.
Moving: Before the refrigerator is moved, take all objects out of the inside, fix the glass partitions, vegetable holder, freezer drawers, etc. with tape, and tighten the leveling feet. Close the doors and seal them with tape as shown below; During moving, do not lay the appliance upside down or horizontally or subject it to excessive vibration. Do not allow it to stand inclined during move more than 45 Handle only from the sides of the refrigerator. Be sure the refrigerator stays in an upright position during moving.
Preparing for Vacation
unplug the refrigerator. Clean the interior with a baking soda solution of one tablespoon (15 ml) of baking soda to one quart (1 liter) of water. Leave the doors open. qualified
service technicians drain the water supply system to prevent serious property damage due to flooding.

- Turn the refrigerator off or unplug the refrigerator.
- Empty ice bucket
- Turn the water supply off
If you cut the water supply off, turn off the icemaker.
Upon returning from vacation:
- Replace the water filter.
- Run 2 gallons of water through the cold water dispenser (about 5 minutes) to flush the system.
The appliance shall run continuously once it is started. Generally, the operation of the appliance shall not be interrupted;otherwise, the service life may be impaired.
Troubleshooting
You may try to solve the following simple problems by yourself. If they cannot be solved, please contact the after-sales department.
| Failed operation | unecK wnetner me appliance is connected to power or wiener me plug is in well contact . Check whether the voltage is too low. Check whether there is a power failure or partial circuits have tripped. |
| Odor | Odorous foods shall be tightly wrapped. Check whether there is any rotten food. Clean the inside of the refrigerator. |
| Long-time operation of the compressor | Long operation of the refrigerator is normal in summer when the ambient temperature is high. It is not recommended to have too much food in the appliance at the same time. Food shall get cool before being put into the appliance. The doors are opened too frequently. |
| Light fails to get lit | Check whether the refrigerator is connected to the power supply and whether the illuminating light is damaged. |
| Doors cannot be properly closed | The door is stuck by food packages. The refrigerator is tilted. |
| Loud noise | Check whether the floor is level and whether the refrigerator is placed stably. Check whether accessories are placed at proper locations. |
| Door seal fails to be tight | Remove foreign matters on the door seal. Heat the door seal and then cool it for restoration (or blow it with an electrical drier or use a hot towel for heating). |
| Water pan overflows | There is too much food in the chamber or food stored contains too much water, resulting in heavy defrosting. The doors are not closed properly, resulting in frosting due to entry of air and increased water due to defrosting. |
| Hot housing | Heat dissipation of the built-in condenser via the housing is normal. When housing becomes hot due to high ambient temperature and storage of too much food,it is recommended to provide sound ventilation to facilitate heat dissipation. |
| Surface condensation | Condensation on the exterior surface and door seals of the refrigerator is normal when the ambient humidity is too high. Just wipe the condensate with a clean towel. |
| Abnormal noise | Buzz: The compressor may produce buzzes during operation, and the buzzes are loud, particularly upon start or stop. This is normal. Creak: Refrigerant flowing inside of the appliance may produce a creak, which is normal |
Parameters
Specifications
| COSMO FRENCH DOOR REFRIGERATOR | |||
| MODELS | COS–FDR225RHSS/–GCOS–FDR225RHSS | ||
| Total Capacity | cu. ft. | 22.5 | |
| Fresh Food | 15.9 | ||
| Freezer | 6.6 | ||
| FEATURES | |||
| Control Type | Electronic | ||
| Defrost Type | Automatic | ||
| FRESH FOOD SECTION | |||
| Interior Cabinet Shelves | |||
| Number | 4, Glass | ||
| Type | 4, Fixed | ||
| Adjustable | Yes | ||
| Crisper Drawers | 2, Humidity Controlled | ||
| Crisper Cover | Glass | ||
| Chiller Box | Yes | ||
| Chiller Cover | Glass | ||
| Door Bins | |||
| Number | 6 | ||
| Gallon Storage | Yes | ||
| Dairy Compartment | – | ||
| Interior Light | Yes | ||
| Utility/Deli Drawer | Yes | ||
| Water Dispenser | – | ||
| FROZEN FOOD SECTION | |||
| Freezer Location | Bottom | ||
| Interior Lighting | – | ||
| Pull-out Drawer | Yes | ||
| Pull-out Tray | 2 | ||
| Ice Maker | Yes | ||
| Ice Tray | Yes | ||
| EXTERIOR APPEARANCE | |||
| Reversible Door | – | ||
| Leveling Legs | 2-Front | ||
| Rollers | Yes | ||
| Door Handle Design | (Fresh)Handle (Freezer) Recessed (Fresh) Grip | ||
| Color Availability | Black Stainless Steel | ||
| PERFORMANCE DATA | |||
| Energy Rating | ENERGY STAR | ||
| Electrical Requirements | v/Hz | 115V/60Hz | |
| Temperature: Fresh Food Section | Min | °F/°C | 34 / 1 |
| Max | °F/°C | 45 / 7 | |
| Temperature: Frozen Food Section | Min | °F/°C | -8 / -22 |
| Max | °F/°C | 7 / -14 | |
| Dimensions (W*D*H) | in | 35.6 X 29 X 69.88 | |
| cm | 90.4 X 73.66 X 177.5 | ||
| Net/Gross Weight | lbs | 294 / 298 | |
| kg | 133 / 135 | ||

DIMENSIONS FOR COS-FDR225 SERIES
REFRIGERATORS (ALL MODELS)


WARRANTY AND SERVICE
For full warranty details on this product please visit:
http://www.cosmoappliances.com/warranty
TO RECEIVE WARRANTY SERVICE, YOUR
PRODUCT MUST BE REGISTERED. TO REGISTER, VISIT:
WWW.COSMOAPPLIANCES.COM/WARRANTY
https://cosmoappliances.com/WARRANTY![]()
IMPORTANT
Do Not Return This Product To The Store If
you have a problem with this product, please contact
Cosmo Customer Support at
+1(888)784-3108
DATED PROOF OF PURCHASE, MODEL #, AND SERIAL #
REQUIRED FOR WARRANTY SERVICE
Correct Disposal of this product:
This marking indicates that this appliance should not be disposed of with other household wastes. To prevent possible harm to the environment or human health from uncontrolled waste disposal, recycle it responsibly to promote the sustainable reuse of material resources.
Cosmo is constantly making efforts to improve the quality and performance of our products, so we may make changes to our appliances without updating this manual.
The electronic version of this manual is available at:
www.cosmoappliances.com





NOTE: Commonwealth of Massachusetts Plumbing Codes 248CMR shall be adhered to. Saddle valves are illegal and use is not permitted in Massachusetts. Consult with your licensed plumber.
NOTE: Commonwealth of Massachusetts Plumbing Codes 248CMR shall be adhered to. Saddle valves are illegal and use is not permitted in Massachusetts. Consult with your licensed plumber.



















![Frigidaire Lfhb2741pf French Door Refrigerator User Manual] Frigidaire Lfhb2741pf French Door Refrigerator User Manual]](https://static-data1.manualsee.com/1/img/143/101212/2021/03/Frigidaire-LFHB2741PF-French-Door-Refrigerator-featured-1.png)





