ZLINE RFM-36 36 Inch Counter-Depth French Door Refrigerator User Manual
IMPORTANT SAFETY INSTRUCTIONS
This manual contains important safety information. Failure to follow these instructions may result in death, fire, or electric shock.
WARNING:
Indicates a potentially hazardous situation which, if not avoided, could result in death or serious injury.
CAUTION:
Indicates a potentially hazardous situation which, if not avoided, may result in injury. It may also be used to alert against unsafe practices.
NOTICE:
Indicates a potentially hazardous situation which, if not avoided, may result in damage to the refrigerator, the tableware, the equipment, or the environment.
GENERAL SAFETY
- WARNING: Risk of fire/flammable materials.
- This appliance is intended to be used in a household and not a commercial operation.
- Children should be supervised to ensure they do not play with the appliance.
- If the electrical supply cord is damaged, it must be replaced by a professional in order to avoid electric shock hazards.
- Do not store explosive substances, such as aerosol cans with a flammable propellant, in or near this appliance.
- The appliance must be unplugged before carrying out any maintenance or if it will not be used for extended periods of time.
- WARNING: Keep ventilation openings in the appliance enclosure or in the built-in structure clear of obstruction.
- WARNING: Do not use mechanical devices or other means to accelerate the defrosting process in this unit.
IMPORTANT SAFETY INSTRUCTIONS
- WARNING: Do not damage the unit’s refrigerant circuit and sealed cooling system.
- WARNING: Do not use electrical or mechanical appliances inside the food storage chambers of the appliance.
- WARNING: At the end of its service life, dispose of the refrigerator according to local regulations, due to the use of flammable blowing gas and refrigerant.
- WARNING: When positioning the appliance at its installation location, ensure the electrical supply cord is not kinked or damaged.
- WARNING: Do not use multiple portable electrical outlets or portable power suppliesat the rear of the appliance.
- Do not use extension cords or ungrounded (2-prong) adapters when connecting this appliance to electricity.
- WARNING: To avoid safety and suffocation risks for children or pets, before you dispose of your old refrigerator or freezer:
- Take off the doors and drawers.
- Leave the shelves in place so that children or pets may not climb inside.
- The refrigerator must be fully disconnected from electricity before installing accessories or when servicing the product.
- For refrigerator doors or drawers fitted with locks and keys, the keys should be kept out of the reach of children and not in the vicinity of the appliance in order to prevent children from being locked inside.
- WARNING: To avoid any hazards due to instability of the appliance, adjust the height according to the instructions provided in this manual.
- WARNING: Connect this appliance only to a potable water supply.
- Do not arbitrarily disassemble or reconstruct the refrigerator. Do not damage the refrigerant circuit or the sealed cooling system. Maintenance of the appliance must be conducted by a professional service person.
IMPORTANT SAFETY INSTRUCTIONS
- To avoid food contamination, please read the following instructions and information:
- Opening the door for long periods of time can cause a significant increase in the temperatures inside the appliance.
- Users should regularly clean surfaces and accessible drainage systems that come in contact with food
- Clean water tanks if they have not been used for 48 hours, and flush the water system connected to the water supply if water has not been drawn for 5 or more days.
- Store raw meat and fish in suitable containers in the refrigerator so that it does not contact with or drip onto other food.
- If the appliance is left empty for long periods of time, you should disconnect from power, defrost, clean, dry, and leave the door open to prevent mold developing within the appliance.
- The gaps between the doors and between the doors and the refrigerator body are small. Do not to put your hand in these areas. Be gentle when closing the refrigerator door to avoid food or liquids falling or spilling.
- Do not pick up food or containers with wet hands in the freezer compartment when the refrigerator is running, especially metal containers, to avoid frostbite.
- Do not place heavy objects on the top of the refrigerator. Objects may fall when closing or opening the doors, increasing risk of injury.
- Unplug the appliance from electricity in the event of power failure and when performing routine cleaning. When disconnecting from electricity, wait at least five minutes before plugging back in to prevent damages to the compressor and sealed cooling system due to successive stops and starts.
PLACEMENT OF ITEMS
- Do not put flammable, explosive, volatile, or highly corrosive items in the refrigerator or freezer to prevent damage to the product and limit risk of fire or explosion.
- Do not place flammable items near the refrigerator to limit risk of fire or explosion.
- The refrigerator is intended for household use, such as the storage of food; it shall not be used for other purposes, such as storage of blood, drugs, biological products, etc.
- Do not store beer, soda, or other beverages contained in bottles or enclosed containers in the freezing compartment. Bottles or sealed containers may crack or explode due to freezing temperatures and can damage the refrigerator.
ENERGY WARNINGS
- Refrigerating appliances might not operate consistently (for example: defrosting of food or warming temperatures inside the freezer compartment) when set below the cold end of the range of temperatures designed for the appliance.
- Effervescent drinks should not be stored in the freezer compartment or in low temperature chambers or cabinets. Additionally, some products such as ice water should not be consumed too cold.
- Do not exceed storage time(s) recommended by food manufacturers for any kind of food, particularly for commercially quick-frozen food in the freezer compartment.
- It’s recommended to wrap frozen food in several layers of parchment paper or newspaper to prevent an undue rise in the temperature while defrosting the refrigerator.
- An increase in temperature of frozen foods during manual defrosting, maintenance, or cleaning could shorten the storage life of the unit.
IMPORTANT SAFETY INSTRUCTIONS
WARNINGS FOR DISPOSAL
Both the refrigerant (R600a isobutane) and cyclopentane foaming material used for this appliance are flammable. Therefore, when the appliance reaches the end of its service life, it should be kept away from any fire source and be disposed of according to local regulations so as to prevent damage to the environment or other harm.
When the refrigerator is disposed of, disassemble the doors and remove gasket of door and shelves. Put the doors and shelves in a proper place to prevent damage to the environmet or any other harm.
Correct disposal of this product: This icon indicates this product should not be disposed with other household wastes. To prevent possible harm to the environment or human health from uncontrolled waste disposal, recycle it responsibly to promote the sustainable reuse of material resources.
OPERATION


REFRIGERATING CHAMBER
- The refrigerating chamber is suitable for storage of a variety of fruits, vegetables, beverages, and other food consumed in the short term.
- Cooking ingredients should not be placed inside the refrigerating chamber until cooled to room temperature.
- Seal food items before putting into them into the refrigerator.
- The glass shelves are adjustable.
FREEZING CHAMBER
- The low temperature freezing chamber will keep food fresh for a long time and it is mainly used to store frozen food and make ice.
- The freezing chamber is suitable for storage of meat, fish, and other food not to be consumed in short term.
- It is recommended to divide chunks of meat into small pieces for easier freezing. Please
note that food should be consumed within the shelf time.
NOTE: Storage of too much food during operation after initially connecting the unit to power may adversely impact the freezing effect of the appliance. Food stored should not block the air outlet, or the freezing effect will also be adversely impacted.

- Ice-making button
- Super cool button
- Temperature adjusting button of refrigerator chamber
- Temperature adjusting button of freezer chamber
- Super freeze button
- Lock/unlock button
DISPLAY
- When the refrigerator is plugged in, the display screen will turn on and the start-up bell will ring. Then, the display screen enters the normal display of operation. Note that when powering the unit on for first time, the default set temperature of the refrigerator chamber and the freezer chamber is 41°F /0°F.
- The display panel will always show the set temperature of both refrigerator and freezer chambers unless there is an error; then, an error code will display (see page 13).
- Under normal circumstances, the display light will go out after 30 seconds in a locked state; pressing a button on the control panel will wake up the display screen.
- If opening the door wakes up the display screen, the display light will go out immediately when the door is closed. When the “fault code visible” fault occurs, the display screen lights up and will go out after 30 seconds.
LOCK/UNLOCK
- ln the unlocked state, press and hold the LOCK/UNLOCK button for 3 seconds to enter the locked state. A buzzer sound will ring.
- ln the locked state, press and hold the LOCK/UNLOCK button for 3 seconds to enter the unlocked state. A buzzer sound will ring.
- The refrigerator will enter the lock state if the door is not opened or if there is no button operation within 30 seconds.
- The buzzer sound can be stopped by pressing any one button in locked state, but any other button operations need to be performed in the unlocked state. If you try to operate the control panel while in the locked state, an error beep will sound.
REFRIGERATOR TEMPERATURE SETTING
Press the temperature adjusting button of the refrigerator chamber to change the set temperature of refrigerator chamber. Each time the button is pressed, the temperature will drop 1°F; the range is 34°F to 44°F. When the temperature reaches 34°F and you press the button again, the set temperature will switch to 44°F. The temperature setting will take effect after the display panel is locked.
SWITCHING BETWEEN FAHRENHEIT AND CELSIUS
Press and hold the LOCK/UNLOCK button until it beeps. Once unlocked, hold the FREEZER and FRIDGE buttons until they beep. The temperature will then change from °C to °F or visa versa.
FREEZER TEMPERATURE SETTING
Press the temperature adjusting button of the freezer chamber to change the set temperature. With each button press, the temperature will drop1°F; the range is -7°F to 7°F. When the temperature reaches -7°F and you press the button again, the temperature will switch to 7°F. The temperature setting will take effect after the display panel is locked.
MODE SETTINGS
- Press the SUPERCOOL button to start the super cool function. The refrigerator chamber is set to 34°F automatically and the SUPERCOOL icon will be illuminated. When exiting super freeze mode, the temperature of refrigerator chamber will revert to the set temperature before SUPERCOOL mode was engaged.
- Press the SUPERFRZ button to start the super freeze function. The freezer chamber is set to -7°F automatically and the SUPERFRZ icon will be illuminated. When exiting the super freeze mode, the temperature of freezer chamber will revert to the set temperature before SUPERFRZ mode was engaged.
- Press the ICEMAKER button and the ice-making function will be switched between on/ off. When the
icon is on, it indicates the ice-making function is activated.
ICE MAKER
The ice maker is located in the upper freezer above the ice storage bin. To make ice, ensure the ice maker is in the closed position with the arrow pointed right (see below, left). The ice maker stores up to 1.75 pounds of ice and can make up to 4.85 pounds daily. It takes up to 6 hours to produce ice when the appliance is plugged in for the first time. To remove the ice maker for cleaning, simply twist to the open position and pull out (see below, right)
DISASSEMBLY OF REFRIGERATOR DOOR
LEFT DOOR
- Use a Phillips-head screwdriver to remove the two screws from the upper hinge cover of the left door. Keep the wires intact and set the cover aside.
- Next, use a socket wrench to loosen the two bolts attached to the door hinge.
- Use a Phillips-head screwdriver to loosen the additional wiring ground screw from the upper hinge. Remove the door hinge and the lift the door from the bottom hinge. To put the door back on, reverse the steps above.
RIGHT DOOR
- For the right door, there is no ground screw. For everything else, follow the steps above from the left door
FREEZER DRAWERS
- The process to remove both the upper and lower freezer drawer on the unit is the same. First, pull out the freezer drawer you wish to remove and take out the bin.
- Push down on one of the lock buttons at the rear of the left or right glide rails and pull the drawer straight out slightly until it unlocks. See the image below for button location.
- Do the same with the other side until both sides are unlocked. Then, slowly pull out the entire drawer. NOTE: Both drawers are equipped with plastic retainers to prevent the release buttons from moving during shipping. These need to be removed before you can access the lock buttons.
4. To put the drawers back on, reverse the steps above.
MAINTENANCE AND CLEANING
CHANGING THE LIGHT
Any replacement or maintenance of the LED lamps is intended to be made by a professional. If lights fail within the unit’s warranty timeframe, call ZLINE Customer Service at 1-614-777-5004.
GENERAL CLEANING INSTRUCTIONS
- Unplug the refrigerator for defrosting and cleaning.
- Dirt and dust that accumulates behind the refrigerator and on the surrounding floor should be cleaned frequently to improve the cooling effect and save energy.
- The interior of the refrigerator should be cleaned regularly to avoid odor. Soft towels or sponges dipped in water and non-corrosive neutral cleaners are suggested for cleaning. The freezer can be cleaned with clean water and a dry cloth. Open the door to air dry the unit before turning the power back on.
- Do not use hard brushes, steel cleaning balls, wire brushes, abrasives like toothpastes, organic solvents (such as alcohol, acetone, banana oil, etc.), boiling water, acid, or alkaline items to clean the refrigerator, as this may damage the appliance’s surface and interior.
- Do not rinse or spray the appliance with water so as not to affect the electrical insulation and wiring.
DOOR TRAY
Following the direction of the arrow in the figure above, use both hands to squeeze the tray and push it upward, and then take it out.
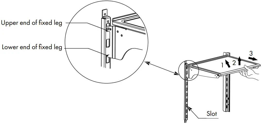
CLEANING SHELVES

Adjust the shelves by following the arrows as shown in the diagram above:
- Raise it upward first and then take it out by tilting it upward.
- Lift the whole shelf until it cannot rise anymore.
- Take out the shelf horizontally
When replacing the shelves, put the upper end of the fixed leg into one of the upper slots on the shelf support bracket first and then put the lower end of the fixed leg into the slot below the top leg.
DEFROSTING
The refrigerator is made based on air-cooling principles and has an automatic defrosting function. Frost formed due to seasonal or temperature changes may be manually removed by disconnecting the appliance from power or by wiping with a dry towel.
OUT OF OPERATION
- Power failure: In case of power failure, even if it is in summer, food inside the appliance can be kept for several hours. During the power failure, decrease the amount of times the refrigerator doors are opened. Do not add more fresh food into the appliance.
- Long-time non-use: Unplug and clean the appliance Leave the doors open to prevent odor.
- Moving: Before the refrigerator is moved, take all objects inside the chamber out, fix the glass partitions, vegetable/fruit crisper, freezing chamber drawers, etc. with tape and tighten the leveling feet. Close the doors and fix them with tape. During moving, the appliance should not be laid upside down or horizontally or be vibrated. The inclination during movement shall be no more than 45°.
- The appliance should run continuously once it is started. Generally, the operation of the appliance shall not be interrupted. Otherwise, the lifespan may be impaired.
ERROR CODES
When the following codes appear on the display screen, it indicates a problem with the refrigerator. Although the refrigerator in the following error cases will typically still provide standard cool/freeze functions, please call ZLINE Customer Service at 1-614-777-5004 to ensure normal use of refrigerator.
| Error code | Error description |
| E1 | Temperature sensor failure of refrigerator chamber |
| E2 | Temperature sensor failure of freezer chamber |
| E5 | Defrost sensor error of freezer chamber |
| E6 | Communication error |
| E7 | Ambient temperature sensor error |
| E7 | Humidity sensor error |
| E7 | Ice maker error |
TROUBLESHOOTING
ZLINE Customer Service is available at 1-614-777-5004.
POSSIBLE FAULTPOSSIBLE FAULT/SOLUTION Water pan overflowsThere is too much food in the chamber or food stored contains too much water, resulting in heavy defrosting. Hot housingThis is heat dissipation of the built-in condenser via the housing, which is normal. When housing becomes hot due to high ambient temperature and storage of too much food, it is recommended to provide soundventilation to facilitate heat dissipation. Hot housing can also be caused by the refrigerator cooling frequently.This will be normal when hosting parties or when the door is left open for long periods of time. Surface condensationCondensation on the exterior surface and door seals of the refrigerator is normal when the ambient humidity is too high. Wipe the condensation with a clean towel. Abnormal noisesBuzz: The compressor may produce buzzes during operation and the buzzes are loud particularly upon start or stop. This is normal.
| POSSIBLE FAULT | POSSIBLE FAULT/SOLUTION |
| Failed operation | Check whether the appliance is connected to power and/or whether the plug is securely plugged in. |
| Check whether the voltage is too low. | |
| Check whether there is a power failure or partial circuits have tripped. | |
| Odor coming from the unit | Odorous food should be tightly wrapped. |
| Check whether there is any spoiled food. | |
| Clean the inside of the refrigerator. | |
| The compressor operates for a long time | Long operation of the refrigerator is normal in summer when the ambient temperature is high. |
| Do not put too much food in the appliance at the same time. | |
| Food should be cooled before being put into the appliance. | |
| The doors are opened too frequently. | |
| The condenser may be dirty and should be cleaned with care. | |
| Light doesn’t turn on | Check whether the refrigerator is connected to power supply and/or whether the light is damaged. |
| Doors cannot be properly closed | The door is obstructed by food packages. |
| The refrigerator is tilted. | |
| Loud noises | Check whether the floor is level and whether the refrigerator is placed stably. |
| Check whether accessories are placed in proper locations. | |
| Door seal is not tight | Remove foreign matters on the door seal. |
| Heat the door seal and then cool it for restoration (or blow it with an electrical drier or use a hot towel for heating). | |
| The doors are not closed properly, resulting in frosting due to the entry of air and increased water due to defrosting. | |
| Creak: Refrigerant flowing inside of the appliance may produce a creak, which is normal. |
WARRANTY
COVERAGE
ZLINE Kitchen and Bath refrigerators have a one year parts and service warranty and a five year parts warranty on the unit’s sealed cooling system. This is from the original purchase date for the original purchaser of the produc
TERMS
This warranty applies only to the original purchaser of the product installed for normal residential use. This is defined as a single-family, residential dwelling in a non-commercial setting. Commercial settings include but are not limited to: schools, churches, hotels, restaurants, vacation rentals such as Airbnb, day care centers, private clubs, fire stations, common areas in multi-family dwellings, nursing homes, food service locations, and institutional food service locations such as hospitals or correction facilities. This warranty is non-transferable and will not be extended based on the date of installation. The warranty applies only to products installed in the contiguous United States and the District of Columbia. Warranty shall not apply and ZLINE Kitchen and Bath is not responsible for damage resulting from negligence, improper maintenance, misuse, abuse, alteration of or tampering with the appliance, accident, natural disaster, improper electric supply, unauthorized service or repair, improper installation, or installation not in accordance with the instructions contained in the manual or the local government codes.
WHAT IS NOT COVERED
- Start-up damages or problems caused by improper installation or use.
- Damage related to unauthorized service or unauthorized parts.
- Installation in any commercial or non-residential application.
- Aesthetic damage, scratches, or natural wear caused by normal use.
- Second-hand, open box products, or products purchased from an unauthorized retailer
NOTE: In the event that service is dispatched, and it is discovered that the reported issue is not covered under warranty based on the disclaimers above, the customer will be responsible for all service fees. Failure to pay these fees will result in the forfeiture of remaining warranty coverage.
The rating tag shows the model and serial number of your refrigerator. The product label and rating tag is located inside the unit on the left-hand side, above the crisper drawer compartment. The tag is visible when the refrigerator door is open. Do not remove permanently affixed labels, warnings, or plates from the product. This will void the warranty
SERVICE
For warranty service, please contact our Customer Service team at
1-614-777-5004 or visit www.zlinekitchen.com/contact to utilize our
online Customer Experience Portal.
Need to purchase a part or accessory for your ZLINE product? .Visit www.zlineparts.com, ZLINE’s official parts distribution partner
icon is on, it indicates the ice-making function is activated.



















![Frigidaire Lfhb2741pf French Door Refrigerator User Manual] Frigidaire Lfhb2741pf French Door Refrigerator User Manual]](https://static-data1.manualsee.com/1/img/143/101212/2021/03/Frigidaire-LFHB2741PF-French-Door-Refrigerator-featured-1.png)