REF36FDFIXNV 36 Inch 4-Door French Door Refrigerator
User Manual
Safety warnings
Warning
Warning: risk of fire/flammable materials
THIS appliance is intended to be used in household and similar applications such as staff kitchen areas in shops, offices, and other working environments; farm houses and by clients in hotels, motels, and other residential type environments; bed and breakfast type environments; catering and similar non-retail applications.
THIS appliance is not intended for use by persons (including children) with reduced physical, sensory or mental capabilities, or lack of experience and knowledge, unless they have been given supervision or instruction concerning the use of the appliance by a person responsible for their safety.)
Children should be supervised to ensure that they do not play with the appliance.
IF the supply cord is damaged, it must be replaced by the manufacturer, its service agent or similarly qualified persons in order to avoid a hazard.
DO not store explosive substances such as aerosol cans with a flammable propellant in this appliance.
THE appliance has to be unplugged after use and before carrying out user maintenance on the appliance.
WARNING: Keep ventilation openings, in the appliance enclosure or in the built-in structure, clear of obstruction.
WARNING: Do not use mechanical devices or other means to accelerate the defrosting process, other than those recommended by the manufacturer.
WARNING: Do not damage the refrigerant circuit.
WARNING: Do not use electrical appliances inside the food storage compartments of the appliance, unless they are of the type recommended by the manufacturer.
WARNING: Please dispose of the refrigerator according to local regulations for it use of flammable blowing gas and refrigerant.
WARNING: When positioning the appliance, ensure the supply cord is not trapped or damaged.
WARNING: Do not locate multiple portable socket outlets or portable power supplies at the rear of the appliance.
DO not use extension cord sorun grounded(two-prong)adapters
DANGER is entrapment Before you throw away your old refrigerator or freezer: Take off the doors
Leave the shelves in place so that children may not easily climb inside
THE refrigerator must be disconnected from the source of electrical supply before attempting the installation of accessory
REFRIGERANT and cyclopentane foaming material used for the appliance are flammable. Therefore, when the appliance is scrapped, it shall be kept away from any fire source and be recovered by a special recovering company with corresponding qualifications other than disposal by combustion, so as to prevent damage to the environment or any other harm.
CHILDREN should be supervised to ensure that they do not play with the appliance.
FOR EN standard: This appliance can be used by children aged 8 years and above and persons with reduced physical sensory or mental capabilities or lack of experience and knowledge if they have been given supervision or instruction concerning the use of the appliance in a safe way and understand the hazards involved. Children shall not play with the appliance. Cleaning and user maintenance shall not be made by children without supervision. Children aged from 3 to 8 years are allowed to load and unload refrigerating appliances. please respect the following instructions:
TO avoid contamination of food
– Opening the door for long periods can cause a significant increase of the temperature in the compartments of the appliance.
– Clean regular surfaces that can come in contact with food and accessible drainage systems.
– Clean water tanks if they have not been used for 48 h; flush the water system connected to a water supply if water has not been drawn for 5 days. (note 1)
– Store raw meat and fish in suitable containers in the refrigerator, so that it is not in contact with or drip onto other food.
– Two-star ** frozen-food compartments are suitable for storing pre-frozen food, storing or making ice cream, and making ice cubes. (note 2)
– One *-, two **-and three ***-star compartments are not suitable for the freezing of fresh food. (note 3)
– If the refrigeration appliance is left empty for long periods, switch off, defrost, clean, dry, and leave the door open to prevent mold from developing within the appliance.
Note 1,2,3:Please confirm whether it is applicable according to your product compartment type.
WARNING: To avoid a hazard due to the instability of the appliance, it must be fixed in accordance with the instructions.
WARNING: Connect to potable water supply only. (Suitable for ice making machine)
To Prevent A Child From Being Entrapped, Keep Out Of Reach Of Children And Not In The Vicinity Of Freezer (Or Refrigerator).″Suitable for products with locks
Meaning of safety warning symbols
![]() | This is a prohibition symbol. Any incompliance with instructions marked with this symbol may result in damage to the product or endanger the personal safety of the user. This is a warning symbol. It is required to operate in strict observance of instructions marked with this symbol, or otherwise, damage to the product or personal injury may be caused. This is a cautioning symbol. Instructions marked with this symbol require special caution. Insufficient caution may result in slight or moderate injury or damage to the product. |
This manual contains lots of important safety information which shall be observed by the users.
Electricity related warnings

- Do not pull the power cord when pulling the power plug of the refrigerator. Please firmly grasp the plug and pull out it from the socket directly.
- To ensure safe use, do not damage the power cord or use the power cord when it is damaged or worn.

- Please use a dedicated non-GFCI or ARC Fault-protected power outlet and the power socket shall not be shared with other electrical appliances. The power plug should be firmly contacted with the outlet or else a fire may result.
- Please ensure that the grounding electrode of the power socket is equipped with a reliable grounding line.

- Please turn off the valve of the leaking gas and then open the doors and windows in case of leakage of gas and other flammable gases.
Do not unplug the refrigerator and other electrical appliances considering that a spark may cause a fire.

- Do not use electrical appliances on the top of the appliance, unless they are of the type recommended by the manufacturer.
Warnings for using

- Do not arbitrarily disassemble or reconstruct the refrigerator, nor damage the refrigerant circuit; maintenance of the appliance must be conducted by a specialist
- Damaged power cord must be replaced by a qualified service provider, its maintenance department or related professionals in order to avoid danger.

- The gaps between refrigerator doors and between doors and refrigerator body are small, do not to put your hand in these areas to prevent from squeezing the finger. Please be gentle when close the refrigerator door to avoid falling articles.
- Do not place foods or containers with wet hands in the freezing chamber when the refrigerator is running, especially metal containers in order to avoid frostbite.

- Do not allow any child to get into or climb onto the refrigerator; otherwise, suffocation or falling injury of the child may be caused.

- Do not place heavy objects on the top of the refrigerator considering that objects may fall when closing or opening the door, and accidental injuries might be caused.
Please unplug the refrigerator in case of power failure or cleaning. - Do not connect the refrigerator to the power supply within five minutes to prevent damage to the compressor due to successive starts.
Warnings for placement of items

- Do not put flammable, explosive, volatile, and highly corrosive items in the refrigerator to prevent damage to the product or fire accidents.
- Do not place flammable items near the refrigerator to avoid fires.

- The refrigerator is intended for household use, such as storage of foods; it shall not be used for other purposes, such as storage of blood, drugs or biological products, etc.

- Do not store beer, beverage, or other fluid contained in bottles or enclosed containers in the freezer chamber of the refrigerator; otherwise, the bottles or enclosed containers may crack due to freezing and cause damage.
Warnings for energy
- Refrigerating appliances might not operate consistently (possibility of defrosting of contents or temperature becoming too warm in the frozen food compartment) when set for an extended period of time at the lower end of the range of temperatures for which the refrigerating appliance is designed.
- Carbonated drinks should not be stored in food freezer compartments or cabinets or in low-temperature compartments or cabinets, and some products such as water and ice should not be consumed too cold;
- Do not exceed the storage time(s) recommended by the food manufacturers for any kind of food and particularly for commercially quick-frozen food in food-freezer and frozen-food storage compartments or cabinets;
- The precautions are necessary to prevent an undue rise in the temperature of the frozen food while defrosting the refrigerating appliance, such as wrapping the frozen food in several layers of protective wrap.
- The fact that a rise in temperature of the frozen food during manual defrosting, maintenance or cleaning could shorten the storage life.
- The necessity that, for doors or lids fitted with locks and keys, the keys be kept out of the reach of children and not in the vicinity of the refrigerating appliance, in order to prevent children from
being locked inside.
Warnings for disposal
Refrigerant and cyclopentane foaming material used for the refrigerator are flammable. Therefore, when the refrigerator is scrapped, it shall be kept away from any fire source and be recovered by a specialized company with corresponding qualifications other than being disposed of by combustion, so as to prevent damage to the environment or any other harm.
When the refrigerator is scrapped, disassemble the doors, and remove the gasket of the door and shelves; put the doors and shelves in a proper place, so as to prevent the trapping of any child.
Correct Disposal of this product :
This marking indicates that this product should not be disposed of with other household wastes. To prevent possible harm to the environment or human health from uncontrolled waste disposal, recycle it responsibly to promote the sustainable reuse of material resources. To return your used device, please use the return and collection systems or contact the retailer where the product was purchased. They can take this product for environmentally safe recycling.
Proper use of refrigerators
Leveling feet
- Precautions before the operation
Information in the Instruction Manual is only for reference. Before the operation of accessories, it shall be ensured that the refrigerator is disconnected from power. Before adjusting the leveling feet, precautions shall be taken to prevent any personal injury. - Schematic diagram of the leveling feet
(The picture above is only for reference. The actual configuration will depend on the physical product or statement by the distributor) - Adjusting procedures:
a. Turn the feet clockwise to the refrigerator; raise
b. Turn the feet counterclockwise to lower the refrigerator;
c. Adjust the right and left feet based on the procedures above to a horizontal level.
Leveling door
- Precautions before operation:
Information in the operation is only for reference.
Before the operation of accessories, it shall be ensured that the refrigerator is disconnected from power.
Before adjusting the precautions shall be taken to prevent any personal injury. - Schematic diagram of leveling the door

(The picture above is only for reference. The actual configuration will depend on the physical product or statement by the distributor)
- Raise the lower door up to the level of the higher door.
- Insert the supplied fastener ring by using a plier in the gap between the hinge-grommet and the lower hinge.
The number of fasten-rings you will need to insert depends on the gap.
Changing the Light
Any replacement or maintenance of the LED lamps is intended to be made by the manufacturer, its service agent, or a similarly qualified person.
Starting

- Before the initial start, keep the refrigerator still for two hours before connecting it to the power supply.
- Before putting any fresh or frozen foods, the refrigerator shall run for 2-3 hours, or for above 4 hours in summer when the ambient temperature is high.

- Make sure there is adequate space for the installation of the appliance, otherwise the doors and drawers may not open fully.
Energy-saving tips
- The appliance should be located in the coolest area of the room, away from heat-producing appliances or heating ducts, and out of direct sunlight.
- Let hot foods cool to room temperature before placing in the appliance. Overloading the appliance forces the compressor to run longer. Foods that freeze too slowly may lose quality or spoil.
- Be sure to wrap foods properly, and wipe containers dry before placing them in the appliance. This cuts down on frost build-up inside the appliance.
- The appliance storage bin should not be lined with aluminum foil, wax paper, or paper toweling.
Liners interfere with cold air circulation, making the appliance less efficient. - Organize and label food to reduce door openings and extended searches. Remove as many items as needed at one time, and close the door as soon as possible.
Placement

- Before use, remove all packing materials, including bottom cushions, foam pads, and tapes inside of the refrigerator; remove the protective film on the doors and the refrigerator body.

- Keep away from heat and avoid direct sunlight. Do not place the freezer in damp or wet locations to prevent rust or reduction of insulating effect.
- Do not spray or wash the refrigerator; do not locate the refrigerator in places where it might easily be splashed with water so the electrical insulating properties of the refrigerator may be compromised.

- The refrigerator should be placed in a well-ventilated indoor place; the ground shall be flat, and sturdy (rotate left or right to adjust the adjustable leg for leveling if unstable).

- For proper air circulation and electric connections, allow a 3/4″ clearance on each side and behind the refrigerator. Allow a 3/8″ clearance at top of the refrigerator.
Precautions before installation:
Before installation or adjusting of accessories, it shall be ensured that the refrigerator is disconnected from power.
Precautions shall be taken to prevent the fall of the handle from causing any personal injury.
Handle kits are provided separately. The installer must ensure handles are properly screwed in and fixed tightly using a thread locker.
Structure and functions
Key components
Refrigerating chamber
(The manufacturer reserves the right to apply changes to the configuration)
The serial number can be found in the carton box and the upper part of the compressor compartment of the refrigerator back panel.

(The manufacturer reserves the right to apply changes to the configuration)
Fresh food compartment
- The fresh food compartment is suitable for the storage of a variety of fruits, vegetables, beverages, and other food consumed in the short term.
- cooked foods shall not be put in the fresh food compartment until cooled to room temperature.
- Foods are recommended to be sealed up before putting into the refrigerator.
- The glass shelves can be adjusted up or down for a reasonable amount of storage space and easy use.
Freezer compartment
- The low-temperature freezer compartment may keep food fresh for a long time and it is mainly used to store frozen foods and make ice.
- The freezer compartment is suitable for the storage of meat, fish, rice balls, and other foods not to be consumed in short term.
- Meats should be divided into small pieces for easy access. Please be noted food shall be consumed within the shelf life.
Note: Storage of too much food during operation after the initial connection to power may negatively impact the freezing effect of the refrigerator. Foods stored shall not block the air outlet; or otherwise, the freezing effect will also be adversely affected.
Functions

(The picture above is only for reference. The actual configuration will depend on the physical product or statement by the distributor)
Buttons
| Ice-making button | Super cool button |
| Temperature adjusting button of the refrigerator compartment | Temperature adjusting button of the freezer compartment |
| Super freeze button | Lock/unlock button |
Display
a)On initial powering up of the refrigerator,, the display screen completely illuminates for 3 seconds, meanwhile the starting up bell rings, then the display screen enters the normal display of operation. (if powered on for the first time, the default set temperature of the refrigerator room and the freezer room is 41°F/0° F).
b)It will display the set temperature of both refrigerator and freezer rooms when there is no fault.
c)Under normal circumstances, the display light will go out after 30 seconds in the locked state, touching any button on the control panel will activate the display. The display will go out immediately upon closing the door/s. If a “fault code” appears on the display, the screen will illuminate and will go out after 30 seconds have passed.
Lock/Unlock
a)In the unlock state, press and hold the lock/unlock button for 3 seconds to enter the lock state, and the buzzer sound rings.
b)In the lock state, press and hold the lock button for 3 seconds to enter the unlock state, and the chime tone rings.
c)It will enter the lock state if.
d)The alarm sound can be stopped by pressing any one button in the lock state, but all other button operations need to be performed in unlock state. If you operate in the lock state, an error tone will be given. there is no opening door action or any buttons operation within 30 seconds
Fresh food compartment setting
Press the temperature adjusting button of the fresh food compartment to change the set temperature of the refrigerator compartment, Each time the button is pressed, the set temperature will drop1°F. when the set temperature reaches 34°F, press the button again, and the set temperature will switch to 44°F. The temperature setting will take effect after the display panel is locked.
Freezer compartment setting
press the temperature adjusting button of the freezer compartment to change the set temperature of the freezer compartment, Each time the button is pressed, the set temperature will drop1°F.
when the set temperature reaches -7°F, press the button again, and the set temperature will switch to 7°F. The temperature setting will take effect after the display panel is locked.
Mode setting
- Press the
button to start the super cool function. The fresh food compartment is set at 34 ℉ automatically, and the icon shines. Upon exiting super cool mode, the set temperature of the refrigerator room will go back to the set temperature before super cool mode. - Press the
button to start the super freeze function. The freezer compartment is set at -7 ℉ automatically, and the icon shines. Upon exiting the super freeze mode, the set temperature of the freezer room will go back to the set temperature before super freeze mode. - Press the
button, the ice-making function could be switched between on/off. When the icon is on, it indicates that the ice-making function is activated.
Error code
When the following codes appear on the display screen, it indicates a problem with the refrigerator.
Although the refrigerator in the following fault case can still provide cool/freeze functions, The user should contact Customer Service too, ensuring the normal use of the refrigerator.
| Error code | Error description |
| E 1 | Temperature sensor failure of refrigerator room |
| E 2 | Temperature sensor failure of freezer room |
| E 5 | Defrost sensor error of freezer room |
| E 6 | Communication error |
| E 7 | Ambient temperature sensor error |
| E H | Humidity sensor error |
| E 0 | Ice maker error |
Maintenance and care of the appliance
Overall cleaning
- Dust on the condenser coil, behind the refrigerator, and on the ground below the refrigerator shall be cleaned periodically to improve the cooling efficiency and shall be timely cleaned to improve the cooling effect and energy saving. The interior of the refrigerator should be cleaned regularly to avoid odor. Soft towels or sponges dipped in water and non-corrosive neutral detergents are suggested for cleaning. The freezer of shall be finally cleaned with clean water and a dry cloth. Open the door for natural drying before the power is turned on.
- Do not use hard brushes, clean steel balls, wire brushes, abrasives, such as too the paste, organic solvents (such as alcohol, acetone, banana oil, etc.), boiling water, acid or alkaline items clean refrigerator considering that this may damage the fridge surface and interior.
Do not rinse with water so that the electrical insulation properties are affected.
Please unplug the refrigerator for defrosting and cleaning.
Cleaning of door tray

(The picture above is only for reference. The actual configuration will depend on the physical product or statement by the distributor)
- According to the direction arrow in the figure below, use both hands to squeeze the tray, and push it upward, then remove it.
- After washing the removed tray, you can adjust its installing height in accordance with your needs.
Cleaning of shelf

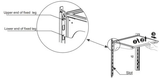
(The picture above is only for reference. The actual configuration will depend on the physical product or statement by the distributor)
- Please dismantle the cantilever shelf in the direction of the arrows shown above :
❶please hold the front edge of the shelf, and tilt the shelf upwards until the lower end of the fixed leg is separated from the slot of the supporting bracket;
❷Lift the whole shelf until it stops;
❸take out the shelf by pulling it forward. - When installing a shelf, but the upper end of the shelf into one of the upper slots of the support bracket first and then put the lower end of the shelf into the third slot lower of the support bracket.
Cleaning of freezer lower drawer

- Pull out the lower freezer drawer to the proper position.
- As shown in Fig., press the buttons in both slots respectively(must press both sides at the same time), and pull out the freezer drawer until it stops.
- Take out the lower drawer as directed by the arrows.
- After cleaning, put back the drawer to its original position, then close the lower drawer, the button will lock the drawer automatically.
Note: Don’t remove the lower freezer drawer if not necessary.
Installing the Water Line
Installing the Water Line
Water line installed on kits is available as an added accessory from your dealer or at a local hardware store.

Connecting To The Water Supply Line
- First, shut off the main water supply line and turn the ice-maker off.
- Locate the nearest cold water supply valve.
- After connecting ng the water supply to the water valve, turn your main water supply back on and flush several gallons of water to clear the water supply line.
Connecting the Water Line to The Refrigerator
The following items are required to connect the water line to the refrigerator which are sold separately.
- First, water tubes (supplied) insert Into the corresponding hole of the water connector (supplied).
- Second. The water line installation kit (not included) inserts into another hole of the water connector (supplied).
- Turn water valve on and check for any leakage
Connecting the Water Line to A Drinkable Water Source

If your water line is NOT drinkable, please add an external water filter.
Turn off the water supply switch before repairing, installing, or removing the refrigerator.
Defrosting
The refrigerator is made based on the air-cooling principle and thus has an automatic defrosting function. Frost formed due to a change of season or temperature may also be manually removed by disconnection of the appliance from the power supply or by wiping with a dry towel.
Out of operation
- Power failure: In case of power failure, even if it is in summer, foods inside the appliance can be kept for several hours; during the power failure, limit the number of times doors are opened and do not place new fresh food into the appliance in order to help maintain temperatures, and no more fresh food shall be put into the appliance.
- Long-term nonuse: The appliance shall be unplugged and then cleaned; then the doors left open to prevent odor.
- Moving: Before the refrigerator is moved, remove all items, fix the glass partitions, vegetable holder, freezing chamber drawers and etc. with tape, and tighten the leveling feet; close the doors and fix them with tape. During moving, the appliance shall not be laid upside down or horizontally, or be vibrated; the inclination during movement shall be no more than 45°.
The appliance shall run continuously once it is started. Generally, the operation of the appliance shall not be interrupted; otherwise, the service life may be impaired.
Troubleshooting
| Failed operation | Check whether the appliance is connected to power or whether the plug is inserted completely into the outlet. Check whether the voltage is too low. Check whether there is a power failure or partial circuits have tripped. |
| Odor | Odorous foods shall be tightly wrapped. Check whether there is any rotten food. Clean the inside of the refrigerator. |
| Long-time operation of the compressor | Long operation of the refrigerator is normal in summer when the ambient temperature is high. It is not recommended to have too much food in the appliance at the same time. Cooked foods shall be cooled before being put into the appliance. The doors are opened too frequently. |
| Light fails to light | Check whether the refrigerator is connected to the power supply and whether the illuminating light is damaged. |
| Doors cannot be properly closed | The door is stuck by food packages. The refrigerator is tilted. |
| Loud noise | Check whether the floor is level and whether the refrigerator is placed stably. Check whether accessories are placed at proper locations. |
| Door seal fails to be tight | Remove foreign matters on the door seal. Heat the door seal and then cool it for restoration (or blow it with an electrical drier or use a hot towel for heating). |
| Condensate pan overflows | There is too much food in the chamber or food stored contains too much water, resulting in heavy defrosting. The doors are not closed properly, resulting in frosting due to entry of air and increased water due to defrosting. |
| Hot refrigerator cabinet | Heat dissipation of the built-in condenser via the refrigerator cabinet is normal. When the refrigerator cabinet becomes hot due to high ambient temperature and storage of too much food,it is recommended to provide sound ventilation to facilitate heat dissipation. |
| Surface condensation | Condensation on the exterior surface and door seals of the refrigerator is normal when the ambient humidity is too high. Just wipe the condensate with a clean towel. |
| Abnormal noise | Buzz: The compressor may produce buzzes during operation, and the buzzes are loud, particularly upon start or stop. This is normal. Creak: Refrigerant flowing inside of the appliance may produce a creak, which is normal. |
Table 1 Climate classes
| Class | Symbol | Ambient temperature range °F |
| Extended temperate | SN | + 50 to + 89.6 |
| Temperate | N | + 60.8 to + 89.6 |
| Subtropical | ST | + 60.8 to + 100.4 |
| Tropical | T | + 60.8 to + 109.4 |
Assistance
Warranty
Please kindly register on our website www.bertazzoni.com to validate your new product warranty and help us to assist you better in case of any inconvenience.
TWO YEAR LIMITED WARRANTY
The warranties provided by Bertazzoni Spa in this statement apply exclusively to Bertazzoni appliances and accessories sold as new products to the original owner by a Bertazzoni authorized distributor, retailer, dealer or service center and installed in the United States and Canada. The warranties provided in this statement are not transferable and have validity from the date of installation.
COVERAGE INFORMATION
Bertazzoni SpA will repair or replace any component part which fails or proves defective due to materials and/or workmanship within 2 years from the date of installation and under conditions of normal residential use. Repair or replacement will be free of charge, including labor at standard rates and shipping expenses. Repair service must be performed by a Bertazzoni Authorized ServiceCenter during normal working hours.
COSMETIC WARRANTY
Bertazzoni will cover parts showing cosmetic defects in material and workmanship for a period of thirty (30) days from the date of installation of the unit. This coverage will include scratches, stains, and surface imperfections on stainless steel, paint, and porcelain, with the exclusion of slight differences in color due to materials and painting/enameling technologies.
Exclusions are labor costs, B stock items, out-of-box appliances, and display units.
HOW TO OBTAIN SERVICE
To obtain service please contact Bertazzoni Customer Service at the numbers below and make sure to have the model number, serial number, and date of purchase ready. This information will be requested by our team and is crucial to speed up the resolution.
UNITED STATES https://us.bertazzoni.com/more/support
Phone: 866-905-0010
CANADA https://ca.bertazzoni.com/more/support
Phone : 800-361-0799
Save proof of original purchase or of original installation to establish warranty period. A copy of the product serial tag is affixed to the back cover of the instruction manual.
WHAT IS NOT COVERED
- The product used in any commercial/business application
- Repair service provided by other than a Bertazzoni authorized service agent.
- Damage or repair service to correct service provided by an unauthorized agency or the use of unauthorized parts.
- Installation is not in accordance with local electrical codes or plumbing codes.
- Defects or damage due to improper storage of the product.
- Defects or damage or missing parts on products sold out of the original factory packaging or from displays.
- Service calls or repairs to correct the installation of the product and/or related accessories.
- Service calls to connect, convert or otherwise repair the electrical wiring/gas line/water line to properly use the product.
- Service calls to provide instructions on the use of a Bertazzoni product.
- Repair service due to product usage in a manner other than what is normal and customary for home use.
- Replacement of wear and tear parts
- Replacement of glasses and light bulbs if they are claimed to have failed later than 30 days after installation and in no case later than 4 months after the date of purchase
- Defects and damages arising from accident, alteration, misuse, abuse, and improper installation.
- Defects and damages arising from transportation of the product to the home of the owner.
- Defects and damage arise from external forces beyond the control of Bertazzoni SpA such as fire, flood, earthquakes, and other acts of God.
In case the product will be installed in a remote area, where certified-trained technicians are not reasonably available, the customer will be responsible for the transportation costs for the delivery of the product to the nearest authorized service center or for the displacement costs of a certified trained technician.
Bertazzoni does not assume any responsibility for incidental or consequential damages. Some states do not allow the exclusion or limitation of incidental or consequential damages, so the above limitation or exclusion may not apply to you. This warranty gives you specific legal rights and you may also have other rights which may vary from state to state or province to province.

(The picture above is only for reference. The actual configuration will depend on the physical product or statement by the distributor)




![Frigidaire Lfhb2741pf French Door Refrigerator User Manual] Frigidaire Lfhb2741pf French Door Refrigerator User Manual]](https://static-data1.manualsee.com/1/img/143/101212/2021/03/Frigidaire-LFHB2741PF-French-Door-Refrigerator-featured-1.png)














