LG LRFGC2706S 27 cu ft 3 Door French Door Counter Depth Refrigerator

OPERATION
Before Use
Checklist
Clean the refrigerator.
Clean the refrigerator thoroughly and wipe off all dust that accumulated during shipping.
CAUTION
- Do not scratch the refrigerator with a sharp object or use a detergent that contains alcohol, a flammable liquid or an abrasive when removing any tape or adhesive from the refrigerator. Remove adhesive residue by wiping it off with your thumb or dish detergent.
- Do not peel off the model or serial number label or the technical information on the rear surface of the refrigerator.
Open refrigerator doors and freezer drawers to ventilate the interior.
The inside of the refrigerator may smell like plastic at first. Remove any adhesive tape from inside the refrigerator and open the refrigerator doors and the freezer drawers for ventilation.
Connect the power supply.
Check if the power supply is connected before use.
Turn off the icemaker.
Turn off the icemaker if the refrigerator is not yet connected to the water supply.
NOTE
- The icemaker water valve may buzz if the icemaker is turned on while the refrigerator is not connected to the water supply.
Wait for the refrigerator to cool.
Allow the refrigerator to run for at least two to three hours before putting food in it. Check the flow of cold air in the freezer compartment to ensure proper cooling.
CAUTION
- Putting food in the refrigerator before it has cooled could cause the food to spoil, or a bad odor to remain inside the refrigerator.
The refrigerator makes a loud noise after initial operation.
This is normal. The volume will decrease as the temperature decreases.
Control Panel
Depending on the model, some of the following functions may not be available. The actual control panel may differ from model to model.
Control Panel Features
This feature is only available on some models.
- Refrigerator
Indicates the set temperature of the refrigerator compartment in Celsius (°C) or Fahrenheit (°F). The default refrigerator temperature is 37 °F (3 °C). Press the Refrigerator button repeatedly to select a new set temperature from 33 °F to 43 °F (1 °C to 7 °C).
NOTE- To change the temperature mode from °F to °C (or vice versa) press and hold the Refrigerator and Freezer buttons simultaneously for approximately five seconds. The temperature indicator on the display window switches between Celsius and Fahrenheit.
- The displayed temperature is the target temperature, and not the actual temperature of the refrigerator. The actual refrigerator temperature depends on the food inside the refrigerator.
- Water Filter
Replace the water filter when the Water Filter indicator turns on. After replacing the water filter, press and hold the Water Filter button for three seconds to turn the indicator light off. Replace the water filter approximately every six months. - Air Filter
The air filter helps remove odors from the refrigerator.
NOTE- Replace the air filter when the air filter indicator turns on. After replacing the air filter, press and hold the
- Air Filter button for 3 seconds to turn the indicator off. Replace the air filter approximately every six months.
- Freezer
Indicates the set temperature of the freezer compartment in Celsius (°C) or Fahrenheit (°F). The default freezer temperature is 0 °F (-18 °C). Press the Freezer button repeatedly to select a new set temperature from – 7 °F to 5 °F (-23 °C to -15 °C). - Smart Grid
Press the Smart Grid button to turn the function On/Off. When the function is on, the indicator illuminates. The function automatically turns on when the refrigerator is connected to the Wi-Fi network. The Smart Grid function is only available if your electric utility company supports the function.
When the refrigerator is responding to a Demand Response (DR) message from the electric company, the indicator blinks. - Wi-Fi
The Wi-Fi button, when used with the LG ThinQ app, allows the refrigerator to connect to a home Wi-Fi network. Refer to Smart Functions for information on the initial setup of the app.
The Wi-Fi indicator shows the status of the refrigerator’s network connection. The indicator illuminates when the refrigerator is connected to the Wi-Fi network.
Press and hold the Wi-Fi button for 3 seconds to connect to the network. The indicator blinks while the connection is being made and then turns on once the connection is successfully made. - Ice Plus
This function increases both ice making and freezing capabilities.- Press the Ice Plus button to illuminate the icon and activate the function for 24 hours. The function automatically shuts off after 24 hours.
- Stop the function manually by pressing the button once more.
- In-Door Ice
Press and hold the In-Door Ice button for three seconds to turn the in-door icemaker on/off. - Craft Ice
Press the Craft Ice button repeatedly to select between the 3 ICE, 6 ICE and OFF modes. After 5 seconds of idle time, the last mode will be saved, and the display will return to normal.- To turn off the Craft Ice maker, select the OFF mode.
- To turn on the Craft Ice maker, select the 3 ICE or 6 ICE mode.
NOTE: For more ice, select the 6 ICE mode. For clearer ice, select the 3 ICE mode.
- Cubed Mini Ice
Press and hold the Cubed Mini Ice button for three seconds to turn the Cubed Mini Ice maker on/off. - Cubed Ice
Press and hold the Cubed Ice button for three seconds to turn the Cubed Ice maker on/off. - Self Care
UV light is used to keep the water outlet clean. UV clean function runs automatically for 10 minutes every hour or can be manually activated at any time.
Press and hold this button for 3 seconds to activate it manually.
NOTE- During operation, the function stops if the Water button is pressed. It resumes automatically after 1 hour.
- The function runs automatically for 10 minutes every hour without requiring you to press the Self Care button.
- UV nano is a compound word derived from the words UV and its unit, a nanometer.
- Lock
The lock function disables every other button on the display.- When power is initially connected to the refrigerator, the lock function is off.
- To lock the control panel buttons, press and hold the Lock button until the indicator appears in the display and the function is activated.
- To disable the function, press and hold the Lock button for approximately three seconds.
NOTE
Display Mode and InstaView Display Mode (For Store Use Only)
- The Display Mode disables all cooling in the refrigerator and freezer sections to conserve energy while on display in a retail store. When activated, OFF is displayed on the control panel and the display remains on for 20 seconds.
- To deactivate/activate the Display Mode:
Open either refrigerator door. Press the Ice Plus button 3 times while pressing and holding the Refrigerator button. The control panel beeps and the temperature settings display to confirm that Display Mode is deactivated. Use the same procedure to activate Display Mode.
- To deactivate/activate the Display Mode:
- The InstaView Display Mode automatically turns the LED light inside the InstaView Door-in-Door on and off in cycles of 10 seconds ON and 2 minutes 50 seconds OFF.
- To activate the InstaView Display Mode:
Activate the Display Mode first. Then open all refrigerator and freezer doors and within 5 seconds knock 3 times on the door glass. - To deactivate the InstaView Display Mode:
Open all refrigerator and freezer doors and within 5 seconds knock 3 times on the door glass. The refrigerator is now in Display Mode.
- To activate the InstaView Display Mode:
- To deactivate the Display Mode and InstaView Display Mode at once:
Open either refrigerator door. Press the Ice Plus button 3 times while pressing and holding the Refrigerator button.
Sabbath Mode
Using the Sabbath Mode
Sabbath mode is used on the Jewish Sabbath and Holidays.
- To turn Sabbath mode on, touch the display to activate it, then press and hold the Freezer and Wi-Fi buttons for 3 seconds until sb appears in the display.
- To turn Sabbath mode off manually, press and hold the Freezer and Wi-Fi buttons for 3 seconds.
NOTE
- Sabbath mode automatically turns off after 96 hours.
- Once turned on, Sabbath mode is maintained even after a power outage.
- Selecting Sabbath mode automatically turns off the alarm functions.
- The dispenser and InstaView are disabled in Sabbath mode, on applicable models.
Water Dispenser
Using the Water Dispenser
Press the dispenser paddle a with a glass or other container to dispense water.
CAUTION
- Keep children away from the dispenser to prevent children playing with or damaging the controls.
- If water dispenses unexpectedly, turn off the water supply and contact an LG Electronics Customer Information Center.
- If the cup rim is small, water may splash out of the glass or miss it completely.
NOTE
- The first water dispensed may include particles or odor from the water supply line or the water tank. This is also necessary if the appliance has not been used for a long time.
- Keep containers at an appropriate distance from the dispenser. A container with a very small opening should be held as close to the dispenser as possible to avoid spilling.
- Some dripping may occur after dispensing. Hold the cup beneath the dispenser for a few seconds after dispensing to catch all of the drops.
Cleaning the Dispenser
- Wipe the entire area with a damp cloth. The dispenser may become wet easily due to spilled water.
- Wipe the dispenser outlet frequently with a clean cloth as it may get dirty easily.
NOTE: Lint from a cloth may adhere to the outlet.
Automatic Icemaker
WARNING
- DO NOT place fingers in the automatic icemaker when the refrigerator is plugged in.
- Avoid contact with any moving parts of the ejector mechanism or with the heater that releases the ice cubes.
Before Using the In-Door Icemaker
NOTE
- Ice is made in the automatic in-door icemaker and sent to the dispenser. The icemaker produces 70 – 182 cubes in a 24-hour period, depending on freezer compartment temperature, room temperature, number of door openings and other operating conditions.
- It takes about 12 to 24 hours for a newly installed refrigerator to begin making ice.
- Ice-making stops when the in-door ice bin is full. When full, the in-door ice bin holds approximately 6 to 8 (12-16 oz.) glasses of ice.
- Foreign substances or frost on the ice-detecting sensor can interrupt ice production. Make sure the sensor area is clean at all times for proper operation.
- To increase ice production, use the Ice Plus function. The function increases both ice making and freezing capabilities.
In-Door Icemaker
- Auto Shutoff (feeler arm)
Before Using the Freezer Icemaker
This feature is only available on some models.
The feature may vary depending on model purchased.
CAUTION
- Store only ice in the ice bin. Do not store ice scooping tools or other items in the ice bin.
- Ice may overflow when removing or assembling the ice bin. Remove any ice in the bin area before assembling the ice bin.
- Make sure that the ice bin is assembled in the correct orientation front to back.
- Models with two ice bins in the freezer:
- The Craft Ice bin is located on the left and the Cubed Mini Ice bin is located on the right. Do not change the positions of the two ice bins.
- Do not store Craft Ice in the Cubed Mini Ice bin or Cubed Mini Ice in the Craft Ice bin.
NOTE
- Throw away the first bin full of ice after installation. This is also necessary if the refrigerator has not been used for a long time.
- The icemaker begins producing ice approximately 48 hours after the appliance is initially installed.
- The sound of ice dropping into the ice bin is normal.
- If the ice bin is completely filled with ice, ice production will stop.
- The amount and shape of ice may vary according to the environment (ambient temperature around the appliance, frequency of the door being opened, amount of food stored in the appliance, water pressure, etc.).
- In the event of a power outage, throw away the ice stored in the ice bin.
Freezer Icemaker (Cubed Ice)
This feature is only available on some models.
- Feeler Arm
NOTE
- This automatic freezer icemaker produces 12 cubes at a time, 50-110 pieces within a 24 hour period if conditions are favorable. This amount may vary according to the environment (ambient temperature around the appliance, frequency of the door being opened, amount of food stored in the appliance, etc.).
- Ice cubes which are stored in the ice bin for a long time may clump together and be difficult to separate. If this happens, empty the ice bin completely and clean it before reinstalling it.
Normal Sounds You May Hear
- Keeping the power turned on to the icemaker before the water line is connected can damage the icemaker.
- The icemaker water valve buzzes as the icemaker fills with water. If the icemaker power button is in the ON position, it will buzz even if it has not yet been hooked up to water. To stop the buzzing, press the icemaker power button to turn it off.
- You will hear the sound of ice dropping into the bin and water running in the pipes as the icemaker refills.
Preparing for Vacation
Set the icemaker power button to OFF and shut off the water supply to the refrigerator.
NOTE
- The ice bin should be emptied any time the icemaker power button is turned to the OFF position.
If the ambient temperature will drop below freezing, have a qualified technician drain the water supply system to prevent serious property damage due to flooding caused by ruptured water lines or connections.
Storing Food
NOTE
- If you are leaving home for a short period, like a short vacation, the refrigerator should be left on. Refrigerated foods that are able to be frozen will stay preserved longer if stored in the freezer.
- If you are leaving the refrigerator turned off for an extended period, remove all food and unplug the power cord. Clean the interior, and leave the door open to prevent fungi from growing in the refrigerator.
- If doors are opened or closed too often, warm air may penetrate the refrigerator and raise its temperature. This can increase the running costs of the unit.
Food Storage Tips
Wrap or store food in the refrigerator in airtight and moisture-proof material unless otherwise noted. This prevents food odor and taste transfer throughout the refrigerator. For dated products, check date code to ensure freshness.
CAUTION
- Do not overfill or pack items too tightly into door bins. Doing so may cause damage to the bin or personal injury if items are removed with excessive force.
- Do not store glass containers in the freezer. Contents may expand when frozen, break the container and cause injury.
How to Store Food
- Butter or Margarine
- Keep opened butter in covered dish or closed compartment. When storing an extra supply, wrap in freezer packaging and freeze.
- Cheese
- Store in original wrapping until used. Once opened, rewrap tightly in plastic wrap or aluminum foil.
- Milk
- Wipe milk cartons. For coldest milk, place containers on an interior shelf.
- Eggs
- Store in original carton on interior shelf, not on door shelf.
- Fruit
- Do not wash or hull fruit until it is ready to be used. Sort and keep fruit in original container in a crisper, or store in completely closed paper bag on refrigerator shelf.
- Leafy Vegetables
- Remove store wrapping, trim or tear off bruised and discolored areas, wash in cold water, and drain. Place in plastic bag or plastic container and store in crisper.
- Vegetables with skins (carrots, peppers)
- Place in plastic bags or plastic container and store in crisper.
- Fish
- Freeze fresh fish and shellfish if they are not being eaten the same day purchased. Eating fresh fish and shellfish the same day purchased is recommended.
- Leftovers
- Cover leftovers with plastic wrap or aluminum foil, or store in plastic containers with tight lids.
NOTE
- Do not store food with high moisture content towards the top of the refrigerator. The moisture could come into direct contact with the cold air and freeze.
- Wash food before storing it in the refrigerator. Vegetables should be washed, and food packaging should be wiped down to prevent adjacent foods from being contaminated.
- If the refrigerator is kept in a hot and humid place, frequent opening of the door or storing a lot of vegetables in the refrigerator may cause condensation to form. Wipe off the condensation with a clean cloth or a paper towel.
Storing Frozen Food
Check a freezer guide or a reliable cookbook for further information about preparing food for freezing or food storage times.
Freezing
Your freezer will not quick-freeze a large quantity of food. Do not put more unfrozen food into the freezer than will freeze within 24 hours (no more than 2 to 3 pounds of food per cubic foot of freezer space). Leave enough space in the freezer for air to circulate around packages. Be careful to leave enough room at the front so the door can close tightly.
Storage times will vary according to the quality and type of food, the type of packaging or wrap used (how airtight and moisture-proof) and the storage temperature. Ice crystals inside a sealed package are normal. This simply means that moisture in the food and air inside the package have condensed, creating ice crystals.
NOTE
- Allow hot foods to cool at room temperature for 30 minutes, and then package and freeze. Cooling hot foods before freezing saves energy.
Packaging
Successful freezing depends on correct packaging. When you close and seal the package, it must not allow air or moisture in or out. If it does, you could have food odor and taste transfer throughout the refrigerator and could also dry out frozen food.
Packaging Recommendations
- Rigid plastic containers with tight-fitting lids
- Straight-sided canning/freezing jars
- Heavy-duty aluminum foil
- Plastic-coated paper
- Non-permeable plastic wraps
- Specified freezer-grade self-sealing plastic bags
Follow package or container instructions for proper freezing methods.
Do not use
- Bread wrappers
- Non-polyethylene plastic containers
- Containers without tight lids
- Wax paper or wax-coated freezer wrap
- Thin, semi-permeable wrap
Humidity Controlled Crispers
Using the Humidity Controlled Crispers
This feature is only available on some models.
The crispers provide fresher tasting fruit and vegetables by letting you easily control humidity inside the drawer.
You can control the amount of humidity in the moisture-sealed crispers by adjusting the control to any setting between Vegetables and Fruit.
- Vegetables keeps moist air in the crisper for best storage of fresh, leafy vegetables.
- Fruit lets moist air out of the crisper for best storage of fruit.

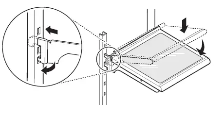
Removing/Assembling the Humidity Controlled Crispers
- To remove, pull the crisper out to full extension, lift the front up, and pull straight out.

- Lift the front of the cover up with both hands until it detaches from the back wall of the cabinet, and pull it out.

- To reassemble, insert the cover into the refrigerator with both hands and lower it onto the guides.
- Slightly tilt up the front of the crisper, insert it into the frame, and push it back into place.

Glide‘N’Serve
Using the Glide‘N’Serve
This feature is only available on some models.
This function provides storage space with a variable temperature control that can keep the compartment at a slightly different temperature than the refrigerator section. This drawer can be used for large party trays, deli items and beverages. (This drawer should not be used to store vegetables that require high humidity.)
Press the Select button to choose between Produce (Cold), Deli (Colder) and Meat (Coldest).
CAUTION
- Do not place any items on the Glide’N’Serve cover.

Detaching/Assembling the Glide‘N’Serve
- To remove the Glide’N’Serve, pull out the drawer until it stops, lift the front up, and pull straight out.

- To assemble, slightly tilt up the front, insert the drawer into the frame and push it back into place.

Refrigerator Shelves
The shelves in the refrigerator are adjustable to meet individual storage needs.
Adjusting the shelves to fit items of different heights will make finding the exact item you want easier.
Detaching/Assembling Shelves
CAUTION
- Do not clean glass shelves with warm water while they are cold. Shelves may break if exposed to sudden temperature changes or impact.
- To detach a shelf, hold the adjoining shelf so that it does not move.
- Pull the two shelves apart in the middle and tilt up the front of the shelf you want to remove until it’s free from the other shelf.

- Support the shelf from the bottom and lift it straight up.

- Pull the shelf out.

- To assemble, tilt the front of the shelf up and guide the shelf hooks into the slots at a desired height.
- Lower the front of the shelf so that the hooks drop into the slots.
CAUTION
- Make sure that shelves are level from one side to the other. Failure to do so may result in the shelf falling or spilled food.

InstaView
This feature is only available on some models.
InstaView Compartment
Knock twice on the glass to turn the LED light inside the InstaView on or off. The LED light turns off automatically after 10 seconds.
NOTE
- The LED light does not turn on if the right refrigerator door is open.
- The InstaView function will not activate for two seconds after closing the door.
- The InstaView function is disabled when the ice dispenser is in use.
Door Bins
Detaching/Assembling Door Bins
The door bins are removable for easy cleaning and adjustment.
- To remove the bin, simply lift the bin up and pull straight out.

- To assemble the bin, slide it in above the desired support and push down until it snaps into place.
CAUTION
- Regularly detach and wash the storage bins and shelves; they can become easily contaminated by food.
- Do not apply excessive force while detaching or assembling the storage bins.
- Do not use the dishwasher to clean the storage bins and shelves.
Durabase
Using the Durabase
The Durabase divider allows you to organize the Durabase area into 2 sections. It can be adjusted from side to side to accommodate items of different sizes.
WARNING
- If the Durabase divider is removed, there is enough open space for children or pets to crawl inside. To prevent accidental child and pet entrapment or suffocation risk, DO NOT allow children or pets to touch or go near the drawer.
SMART FUNCTIONS
LG ThinQ Application
This feature is only available on models with Wi-Fi.
The LG ThinQ application allows you to communicate with the appliance using a smartphone.
LG ThinQ Application Features
- Smart Learner
- Provides a more personalized experience based on an analysis of your usage patterns.
- Smart Sabbath
- Activates or deactivates the Sabbath mode and sets the schedule for the mode activation.
- Energy Monitoring
- This feature keeps track of the refrigerator’s power consumption and the number of door openings.
- Remote Control
- Controls the refrigerator temperature, air filter and Ice Plus from the smartphone app.
- Push Messages
- If the door remains open for more than ten minutes, you will receive a push message. When Ice Plus is finished, you will receive a push message.
- Smart DiagnosisTM
- This function provides useful information for diagnosing and solving issues with the appliance based on the pattern of use.
- Settings
- Allows you to set various options on the refrigerator and in the application.
This feature is only available on some models.
NOTE
- If you change your wireless router, Internet service provider, or password, delete the registered appliance from the LG ThinQ application and register it again.
- This information is current at the time of publication. The application is subject to change for product improvement purposes without notice to users.
Installing LG ThinQ App and
Connecting an LG Appliance
Models with QR Code
Scan the QR code attached to the product using the camera or a QR code reader app on your smartphone.
Models without QR Code
- Search for and install the LG ThinQ app from the Google Play Store or Apple App Store on a smartphone.
- Run the LG ThinQ app and sign in with your existing account or create an LG account to sign in.
- Touch the add (~) button on the LG ThinQ app to connect your LG appliance. Follow the instructions in the app to complete the process.
NOTE
- To verify the Wi-Fi connection, check that the Wi-Fi indicator on the control panel is lit.
- LG ThinQ is not responsible for any network connection problems or any faults, malfunctions, or errors caused by network connection.
- The surrounding wireless environment can make the wireless network service run slowly.
- If the distance between the appliance and the wireless router is too far, the signal becomes weak. It may take a long time to connect or fail to install the app.
- If the appliance is having trouble connecting to the Wi-Fi network, it may be too far from the router. Purchase a Wi-Fi repeater (range extender) to improve the Wi-Fi signal strength.
- The network connection may not work properly depending on the Internet service provider.
- The Wi-Fi may not connect or the connection may be interrupted because of the home network environment.
- If the appliance cannot be connected due to problems with the wireless signal transmission, unplug the appliance and wait about a minute before trying again.
- If the firewall on your wireless router is enabled, disable the firewall or add an exception to it.
- The wireless network name (SSID) should be a combination of English letters and numbers. (Do not use special characters.)
- Smartphone user interface (UI) may vary depending on the mobile operating system (OS) and the manufacturer.
- If the security protocol of the router is set to WEP, network setup may fail. Change the security protocol (WPA2 is recommended), and connect the product again.
- To disable the Wi-Fi function, press and hold the Wi-Fi button for 3 seconds. The Wi-Fi indicator will be turned off.
- To reconnect the appliance or add another user, press and hold the Wi-Fi button for 3 seconds to temporarily turn it off. Run the LG ThinQ app and follow the instructions in the app to connect the appliance.
Radio Equipment Specifications
To identify RF module installed in the appliance, refer to the label attached to the appliance.
| Model Name | LCWB-001 |
| Wireless LAN Frequency Range | 2412 – 2462 MHz |
| Wireless LAN Output Power (Max) | < 30 dBm |
| Bluetooth Frequency Range | 2402 – 2480 MHz |
| Bluetooth Output Power (Max) | < 30 dBm |
| Wireless LAN Frequency Range | 2412 – 2462 MHz |
| Wireless LAN Output Power (Max) | < 30 dBm |
FCC Notice
The following notice covers the transmitter module contained in this product.
This equipment has been tested and found to comply with the limits for a Class B digital device, pursuant to Part 15 of the FCC Rules. These limits are designed to provide reasonable protection against harmful interference in a residential installation. This equipment generates, uses, and can radiate radio frequency energy and, if not installed and used in accordance with the instructions, may cause harmful interference to radio communications. However, there is no guarantee that interference will not occur in a particular installation. If this equipment does cause harmful interference to radio or television reception, which can be determined by turning the equipment off and on, the user is encouraged to try to correct the interference by one or more of the following measures:
- Reorient or relocate the receiving antenna.
- Increase the separation between the equipment and the receiver.
- Connect the equipment into an outlet on a circuit different from that to which the receiver is connected.
- Consult the dealer or an experienced radio/TV technician for help.
This device complies with part 15 of the FCC Rules. Operation is subject to the following two conditions:
- This device may not cause harmful interference and
- This device must accept any interference received, including interference that may cause undesired operation.
Any changes or modifications in construction of this device which are not expressly approved by the party responsible for compliance could void the user’s authority to operate the equipment.
FCC RF Radiation Exposure Statement
This equipment complies with FCC radiation exposure limits set forth for an uncontrolled environment. This transmitter must not be co-located or operating in conjunction with any other antenna or transmitter.
This equipment should be installed and operated with a minimum distance of 20 cm (7.8 inches) between the antenna and your body. Users must follow the specific operating instructions for satisfying RF exposure compliance.
Industry Canada Statement
This device contains license-exempt transmitter(s)/receiver(s) that comply with Innovation, Science and Economic Development Canada’s licence-exempt RSS(s). Operation is subject to the following two conditions:
- This device may not cause interference.
- This device must accept any interference, including interference that may cause undesired operation of the device.
IC Radiation Exposure Statement
This equipment complies with IC radiation exposure limits set forth for an uncontrolled environment.
This equipment should be installed and operated with a minimum distance of 20 cm (7.8 inches) between the antenna and your body.
NOTE
- THE MANUFACTURER IS NOT RESPONSIBLE FOR ANY RADIO OR TV INTERFERENCE CAUSED BY UNAUTHORIZED MODIFICATIONS TO THIS EQUIPMENT. SUCH MODIFICATIONS COULD VOID THE USER’S AUTHORITY TO OPERATE THE EQUIPMENT.
Open Source Software Notice Information
To obtain the source code that is contained in this product, under GPL, LGPL, MPL, and other open source licenses that have the obligation to disclose source code, and to access all referred license terms, copyright notices and other relevant documents, please visit https://opensource.lge.com.
LG Electronics will also provide open source code to you on CD-ROM for a charge covering the cost of performing such distribution (such as the cost of media, shipping, and handling) upon email request to [email protected].
This offer is valid to anyone in receipt of this information for a period of three years after our last shipment of this product.
Smart Grid Function
When the refrigerator operates in Smart Grid mode, the Smart Refrigerator function can control energy usage or delay the operation of some functions to save energy during peak usage periods.
- You can override the Smart Grid function any time (using the Smart Grid button or application).
- To use the Smart Grid function, you need to register your appliance with your electric utility company, provided that your electric utility company supports the function. In other words, the Smart Grid function will not be available if your electric utility company does not support the function or does not have the capability to support the function.
Smart Grid Application Features
- Smart Saving_Demand Response
- You can lower energy usage based on Demand Response (DR) signals from the utility company. If the refrigerator is operating in Smart Saving mode according to the DR signal, you can see a pop up.
- Seasonal Energy Savings
- Lower energy usage based on time period.
Using the Smart Grid Function
This feature responds to notification events from your utility company to run high energy consuming tasks during off-peak periods when demand is lower. These notification events are known as Demand Response signals.
If the refrigerator receives a Demand Response signal from the utility company, the refrigerator will turn on the Grid LED on the refrigerator display and control its power consumption according to the signal. The refrigerator will respond to the signals received from the utility company as long as product performance is maintained.
If the refrigerator receives a Demand Response signal, the refrigerator will operate in Delay Appliance Load (DAL) or Temporary Appliance Load Reduction (TALR) mode.
Delay Appliance Load (DAL)
The refrigerator responds to a DAL signal by providing a moderate load reduction for the duration of the delay period.
This mode controls functions that consume a lot of energy such as adjusting the cooling system, running the defrost cycle, and making ice.
- When the refrigerator operates in DAL mode, the Grid LED is illuminated on the refrigerator display.
- DAL mode is automatically deactivated after the period stipulated by the DAL signal (max. 4 hours) or when you override the Smart Grid function.
Temporary Appliance Load Reduction (TALR)
The refrigerator responds to a TALR signal by aggressively reducing the load for a short time period, typically 10 minutes. This mode reduces energy consumption by stopping the compressor and controlling the functions that consume a lot of energy such as the defrost cycle and fan.
- When the refrigerator operates in TALR mode, the Grid LED is illuminated on the refrigerator display.
- TALR mode is automatically deactivated after the received duration (max. 10 minutes), or when you override the Smart Grid function. The mode is immediately deactivated and the refrigerator returns to its normal state when the door is opened or closed, or the dispenser is used.
Override Smart Grid Mode
To ignore the Demand Response signal from the utility company and override the Smart Grid function, push the Smart Grid button while the refrigerator is in Smart Grid mode.
When you override the Smart Grid function, the refrigerator ignores the Demand Response signal and is no longer controlled by the utility company until the next Demand Response signal is sent. You can also override the Smart Grid function using the smart phone app.
LG Open API
You can manage Smart Grid features for the LG Smart Refrigerator.
Please check the detailed specifications on the notice page on us.smartthinq.com.
API List
- Demand Response
- Send demand response signal
- Power Saving
- Set saving mode
- Get schedule of DR/Delay Defrost
- Energy Monitoring
- Get door open event
- Get energy consumption
- Delay Defrost Capability
- Insert a delay defrost schedule event
- Update a delay defrost schedule event
- Delete a delay defrost schedule event
- Get the delay defrost schedule
Smart DiagnosisTM Feature
This feature is only available on models with the c or d logo.
Use this feature to help you diagnose and solve problems with your appliance.
NOTE
- For reasons not attributable to LGE’s negligence, the service may not operate due to external factors such as, but not limited to, Wi-Fi unavailability, Wi-Fi disconnection, local app store policy, or app unavailability.
- The feature may be subject to change without prior notice and may have a different form depending on where you are located.
Using LG ThinQ to Diagnose Issues
If you experience a problem with your Wi-Fi equipped appliance, it can transmit troubleshooting data to a smartphone using the LG ThinQ application.
- Launch the LG ThinQ application and select the Smart Diagnosis feature in the menu. Follow the instructions provided in the LG ThinQ application.
Using Audible Diagnosis to Diagnose Issues
Follow the instructions below to use the audible diagnosis method.
- Launch the LG ThinQ application and select the Smart Diagnosis feature in the menu. Follow the instructions for audible diagnosis provided in the LG ThinQ application.
- Open the right refrigerator door.
- Hold the mouthpiece of your phone in front of the speaker that is located on the right hinge of the refrigerator door.

- Press and hold the Freezer button for three seconds while continuing to hold your phone to the speaker.
- After you hear three beeps, release the Freezer button.
- Keep the phone in place until the tone transmission has finished. The display will count down the time. Once the countdown is over and the tones have stopped, the diagnosis will be displayed in the application.
NOTE
- For best results, do not move the phone while the tones are being transmitted.
MAINTENANCE
Cleaning
WARNING
- Use non-flammable cleaner. Failure to do so can result in fire, explosion, or death.
CAUTION
- Do not use an abrasive cloth or sponge when cleaning the interior and exterior of the refrigerator.
- Do not place your hand on the bottom surface of the refrigerator when opening and closing the doors.
General Cleaning Tips
- Both the refrigerator and freezer sections defrost automatically; however, clean both sections once a month to prevent odors.
- Wipe up spills immediately.
- Unplug the refrigerator or disconnect power before cleaning.
- Remove all removable parts, such as shelves.
- Use a clean sponge or soft cloth and a mild detergent in warm water. Do not use abrasive or harsh cleaners.
- Hand wash, rinse and dry all surfaces thoroughly.
Exterior
For products with black stainless steel exterior, spray glass cleaner on a clean microfiber cloth and rub in direction of grain. Do not spray glass cleaner directly at the display panel. Do not use harsh or abrasive cleaners.
For products with a standard stainless steel exterior, use a damp microfiber cloth and rub in the direction of the grain. Dry with a paper towel to avoid streaks. For stubborn stains and fingerprints, use a few drops of liquid dish soap in water, and rinse with hot water before drying. Do not use abrasive or harsh cleaners.
Inside Walls
- Allow freezer to warm up so the cloth will not stick.
To help remove odors, wash the inside of the refrigerator with a mixture of baking soda and warm water. Mix 2 tablespoons of baking soda to 1 quart of water (26 g soda to 1 liter water.) Be sure the baking soda is completely dissolved so it does not scratch the surfaces of the refrigerator.
Door Liners and Gaskets
Use a clean sponge or soft cloth and a mild detergent in warm water. Do not use cleaning waxes, concentrated detergents, bleaches, or cleaners containing petroleum on plastic refrigerator parts.
Plastic Parts (Covers and Panels)
Use a clean sponge or soft cloth and a mild detergent in warm water. Do not use glass cleaners, abrasive cleansers, or flammable fluids. These can scratch or damage the material.
Condenser Coils
Use a vacuum cleaner with a brush or crevice attachment to clean the condenser cover and vents. Do not remove the panel covering the condenser coil area.

Air Filter
This feature is only available on some models.
Replacing the Air Filter
Replace the Air Filter:
- Approximately every six months.
- When the Air Filter indicator lights up.
- Use replacement air filter: LT120F
- Rotate the filter cover counterclockwise to release the tabs, and remove the cover.

- Remove the filter from the inside of the coverby pressing the side of the filter in and pulling the center out.

- Place the new filter inside of the cover with the side that says FRONT facing outward.

- Align tabs a on the filter cover with hooks b on the refrigerator wall.

- Rotate the air filter cover clockwise until the hooks engage and the cover locks in place.

- Press and hold the Air Filter button on the control panel for 3 seconds to reset the filter sensor.
Water Filter
Before Replacing the Water Filter
WARNING
- To reduce the risk associated with choking, do not allow children under 3 years of age to have access to small parts during the installation of this product.
- To reduce the risk associated with the ingestion of contaminants, do not use with water that is microbiologically unsafe or of unknown quality without adequate disinfection before or after the system. Systems certified for cyst reduction may be used on disinfected water that may contain filterable cysts.
- Use of unauthorized water filters may result in product malfunction, water leakage or water quality issues, which will not be covered under the product warranty.
CAUTION
- Read and follow Use Instructions before installation and use of this system.
- Installation and use MUST comply with all state and local plumbing codes.
- Do not install if water pressure exceeds 120 psi (827 kPa). If your water pressure exceeds 80 psi, you must install a pressure limiting valve. Contact a plumber if uncertain how to check your water pressure.
- Do not install where water hammer conditions may occur. If water hammer conditions exist you must install a water hammer arrester. Contact a plumbing professional if you are uncertain how to check for this condition.
- Do not install on hot water supply lines. The maximum operating water temperature of this filter system is 100 °F (37.8 °C).
- Protect filter from freezing. Drain filter when temperatures drop below 40 °F (4.4 °C).
- The disposable filter cartridge MUST be replaced every 6 months, at the rated capacity or if a noticeable reduction in flow rate occurs.
- To protect it from freezing, remove filter cartridge when temperatures are expected to drop below 33° F.
- Do not install systems in areas where ambient temperatures may go above 110° F (43.3° C).
- Where a backflow prevention device is installed on a water system, a device for controlling pressure due to thermal expansion must be installed.
CAUTION
- Ensure all tubing and fittings are secure and free from leaks.
Replacing the Water Filter
- Replace the water filter:
- Approximately every six months.
- When the Replace Filter h icon or the indicator light turns on.
- When the water dispenser output decreases.
- To purchase a replacement water filter:
- Visit your local dealer or distributor
- Search using “water filter” on lg.com
- Use replacement cartridge: LT1000P, LT1000PC, LT1000PCS or ADQ747935**
- If the top shelf, located below the water filter,is in the highest position, it will need to be removed prior to replacing the water filter.
- To remove any shelf, tilt up the front of the shelf and lift it. Pull the shelf out.

- To remove any shelf, tilt up the front of the shelf and lift it. Pull the shelf out.
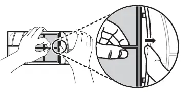
- Pinch the sides to open the water filter cover.

- Pull the water filter downward and turn it counterclockwise before pulling it out.
- Make sure to rotate the filter down completely before pulling it out of the manifold hole.
NOTE - Replacing the water filter causes a small amount of water (around 1 oz. or 25 cc) to drain.
- Wrap a cloth around the front end of the water filter cover to collect any leaking water. Hold the water filter upright, once it is removed, to prevent any remaining water from spilling out of the water filter.

- Make sure to rotate the filter down completely before pulling it out of the manifold hole.
- Replace of its packing and remove the protective cover from the orings. With the water filter tabs in the horizontal position, push the new water filter into the manifold hole and turn it clockwise until it stops.

- Close the water filter cover. The cover will click when closed correctly.

- After the water filter is replaced, dispense 2.5 gallons of water (flush for approximately 5 minutes) to remove trapped air and contaminants from the system.
NOTE- Do not dispense the entire 2.5 gallon amount continuously. Press and release the dispenser
- After changing the filter, press and hold the Water Filter button for three seconds to reset the indicator light.
CAUTION
- LG strongly recommends that you use LG-authorized water filters to prevent water quality issues, water leakage and appliance malfunction.
- For further assistance, call:
- 1-800-243-0000 (USA)
- 1-888-542-2623 (Canada)
Performance Data Sheet
Model: LT1000P, LT1000PC, LT1000PCS
NSF System Trade Name Code: MDJ64844601
The concentration of the indicated substances in water entering the system was reduced to a concentration less than or equal to the permissible limit for water leaving the system as specified in NSF/ANSI Standard 42, Standard 53 and Standard 401.
System tested and certified by NSF International against NSF/ANSI Standard 42, Standard 53 and Standard 401 for the reduction of substances listed below.
| Substance Reduction | Average Influent Challenge | NSF Specified Challenge Concentration | Avg % Reduction | Average Product Water Concentration | Max Permissible Product Water Concentration | NSF Reduction Requirements |
| Chlorine Taste and Odor | 2.0 μg/L | 2.0 μg/L± 10% | >97.5% | 0.050 μg/L | N/A | 2 50.00% |
| Nominal Particulate Class I, , 2 0.5 to < 1.0 μm | 12,000,000 pts/mL | At least 10,000 particles/mL | 99.80% | 24,000 pts/ml | N/A | 2 85.00% |
| Asbestos | 180 MFL | 107 to 108 MFL; fibers greater than 10 μg/Lin length | >99.00% | < 1 MFL | N/A | 2 99.00% |
| Atrazine | 8.5 μg/L | 9.0 μg/L ± 10% | >94.10% | 0.500 μg/L | 3.0 μg/L | NA |
| Benzene | 15.0 μg/L | 15.0 μg/L ± 10% | >96.60% | 0.510 μg/L | 5.0 μg/L | NA |
| Carbofuran | 74.0 μg/L | 80.0 μg/L ± 10% | 98.30% | 1.258 μg/L | 40 μg/L | NA |
| Lindane | 1.9 μg/L | 2.0 μg/L ± 10% | >99.00% | 0.019 μg/L | 0.2 μg/L | NA |
| P-Dichlorobenzene | 230.0 μg/L | 225.0 μg/L ± 10% | >99.80% | 0.460 μg/L | 75.0 μg/L | NA |
| 2,4-D | 210.0 μg/L | 210.0 μg/L ± 10% | >99.90% | 0.210 μg/L | 70.0 μg/L | NA |
| Lead pH @6.5 | 140.0 μg/L | 150.0 μg/L ± 10% | 99.60% | 0.560 μg/L | 10.0 μg/L | NA |
| Lead pH @8.5 | 150.0 μg/L | 150.0 μg/L ± 10% | >99.70% | <0.500 μg/L | 10.0 μg/L | NA |
| Mercury @ pH6.5 | 5.9 μg/L | 6.0 μg/L ± 10% | 91.00% | 0.531 μg/L | 2.0 μg/L | NA |
| Mercury @ pH8.5 | 5.6 μg/L | 6.0 μg/L ± 10% | 92.5% | 0.420 μg/L | 2.0 μg/L | NA |
| Cyst* | 100,000 cysts/L | Minimum 50,000 cysts/L | >99.99% | 10 cysts/L | N/A | 2 99.95% |
| Atenolol | 240 ng/L | 200 ± 40% ng/L | > 95.50% | 10.80 ng/L | 30 ng/L | NA |
| Carbamazepine | 1600 ng/L | 1400 ± 40% ng/L | 98.40% | 25.60 ng/L | 200 ng/L | NA |
| DEET | 1600 ng/L | 1400 ± 40% ng/L | 97.10% | 46.40 ng/L | 200 ng/L | NA |
| Trimethoprim | 170 ng/L | 140 ± 40% ng/L | >96.80% | 5.44 ng/L | 20 ng/L | NA |
| Linuron | 160 ng/L | 140 ± 40% ng/L | >96.60% | 5.44 ng/L | 20 ng/L | NA |
| Phenytoin | 200 ng/L | 200 ± 40% ng/L | >94.80% | 10.40 ng/L | 30 ng/L | NA |
| Ibuprofen | 400 ng/L | 400 ± 40% ng/L | >94.50% | 22.00 ng/L | 60 ng/L | NA |
| Naproxen | 140 ng/L | 140 ± 40% ng/L | >96.10% | 5.46 ng/L | 20 ng/L | NA |
| Estrone | 120 ng/L | 140 ± 40% ng/L | >96.10% | 4.68 ng/L | 20 ng/L | NA |
| Bisphenol A | 2000 ng/L | 2000 ± 40% ng/L | >98.90% | 22.00 ng/L | 300 ng/L | NA |
| Nonyl Phenol | 1600 ng/L | 1400 ± 40% ng/L | >97.10% | 46.40 ng/L | 200 ng/L | NA |
* Based on the use of Cryptosporidium parvum oocysts.
| Guidelines for Application / Water Supply Parameters | |
| Service Flow | 0.5 gpm (1.9 lpm) |
| Water Supply | Community or Private Well – Potable Water |
| Water Pressure | 20 – 120 psi (138 – 827 kPa) |
| Water Temperature | 33 °F – 100 °F (0.6 °C – 37.8°C) |
| Capacity | 200 gallons (757 liters) |
It is essential that the manufacturer’s recommended installation, maintenance and filter replacement requirements be carried out for the product to perform as advertised.
NOTE
- While the testing was performed under standard laboratory conditions, actual performance may vary.
For replacement filters, visit your local dealer or distributor or search under “water filters” on the lg.com website.
For further assistance, contact the LG Electronics Customer Information Center.
USA: 1-800-243-0000
Canada: 1-888-542-2623
Replacement Cartridge: LT1000P, LT1000PC, LT1000PCS or ADQ747935**
LG is a trademark of LG Corp.
NSF is a trademark of NSF International.
Manufactured by LG Electronics, INC:
170, Sungsanpaechoungro, Seongsan-gu, Gyeongsangnam-do, THE REPUBLIC OF KOREA







![Lg French Door Refrigerator [lrfcs2503] Instruction Manual Lg French Door Refrigerator [lrfcs2503] Instruction Manual](https://static-data1.manualsee.com/1/img/383/16064/2020/12/LG-French-Door-Refrigerator-LRFCS2503.jpg)










