AUTOMATIC ICE MAKER
INSTALLATION INSTRUCTIONS
We recommend an authorized service technician to install the ice maker kit.
WARNING
- To avoid electric shock, which can cause death or severe personal injury, disconnect the refrigerator from electrical power before connecting a water supply line to the refrigerator.
- Connect the ice maker to a potable water supply only.
Tools Needed:
- Phillips Screwdriver
- Flat-head Screwdriver
- ¼-inch Socket Wrench or Nut Driver
- Adjustable Wrench
NSF/ANSI/CAN 61: Q≤ 1
Kit Components
Cobra FRZ IM Numbers:
- CD: IMKFD23A
- SD: IMKFD28A


B. Ice Maker (x1) C. Ice Bucket (x1)

E. Shoulder Screws (x2) F. Screw (x1)
P/N A23057902
Ice Maker Installation Instructions
1. Unplug the refrigerator from the electrical outlet.
NOTE
We recommend you remove the freezer door and freezer baskets before proceeding with the installation. Please refer to Removing Freezer Drawer in DOOR REMOVAL and Freezer Features in STORAGE FEATURES in the Use & Care Manual.
2. Use a Phillips screwdriver to install 2 shoulder screws (E) in the upper rear holes. Turn until the shoulder screws are in firm contact with the freezer wall. (See Figure 1).

Figure 1
- Connector Cover
3. Remove the connector cover.
4. Plug the ice maker connector into the connector in the freezer compartment.
5. Hang the ice maker and bracket assembly loosely on the shoulder screws using the keyhole slots in the bracket.
6. Push the ice maker and bracket assembly toward the rear of the freezer compartment to seat the keyhole slots firmly onto the shoulder screws (See Figure 2).
Figure 2
- Connector
7. Insert and tighten screw (F) in the outermost hole on the bracket to fasten it to the upper side of the freezer wall. (See Figure 3).
NOTE
Verify the switch is in the ON position.

Figure 3
- Switch
8. Follow steps in the Use & Care Manual to reinstall the door and add the baskets.
9. Put the ice bucket (C) on the basket as shown in Figure 4.
Figure 4
Connecting Ice Maker to Water Supply
WARNING
To avoid electric shock, which can cause death or severe personal injury, disconnect the refrigerator from the electrical power before connecting a water supply line to the refrigerator.
CAUTION
To Avoid Property Damage:
- We recommend Copper or Stainless Steel braided tubing for the water supply line. We do not recommend using water supply tubing made of ¼ inch plastic. Plastic tubing greatly increases the potential for water leaks, and the manufacturer will not be responsible for any damage if you use plastic tubing for the supply line.
- DO NOT install water supply tubing in areas where temperatures fall below freezing.
- Chemicals from a malfunctioning softener can damage the ice maker. If you connect the ice maker to soft water, ensure the softener is maintained and working properly.
IMPORTANT
Ensure your water supply line connections comply with all local plumbing codes.
Before Installing The Water Supply Line, You Will Need:
- Basic Tools: adjustable wrench, flat-head screwdriver, and Phillips screwdriver
- Access to a household cold water line with water pressure between 30 and 100 psi.
- A water supply line made of ¼ inch (6.4mm) OD, copper or stainless steel tubing. To determine the length of tubing needed, measure the distance from the ice maker inlet valve at the back of the refrigerator to your cold water pipe. Then add approximately 7 feet (2.1 meters), so you can move the refrigerator out for cleaning.
- A shutoff valve to connect the water supply line to your household water system. DO NOT use a self piercing type shutoff valve.
- Do not reuse compression fitting or use thread seal tape.
- A compression nut and ferrule (sleeve) for connecting a copper water supply line to the ice maker inlet valve.
NOTE
Check with your local building authority for recommendations on water lines and associated materials prior to installing your new refrigerator. Depending on your local/state building codes, we recommend for homes with existing valves Smart Choice® water line kit 5305513409 (with a 6 ft. Stainless Steel Water Line), and for homes without an existing valve, we recommend Smart Choice Water® line kit 5304490717 (with a 20 ft. Copper Water Line with self-tapping saddle valve). Please refer to Electrolux.com for more information.
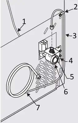
To Connect Water Supply Line To Ice Maker Inlet Valve
1. Disconnect refrigerator from electric power source.
2. Place end of water supply line into sink or bucket. Turn ON water supply and flush supply line until water is clear. Turn OFF water supply at shutoff valve.
3. Remove plastic cap from water valve inlet and discard cap.
4. If you use copper tubing – Slide brass compression nut, then ferrule (sleeve) onto water supply line. Push water supply line into water valve inlet as far as it will go (¼ inch/6.4 mm). Slide ferrule (sleeve) into valve inlet and finger tighten compression nut onto valve. Tighten another half turn with a wrench; DO NOT overtighten. See Figure 1.
5. If you use braided flexible stainless steel tubing The nut is already assembled on the tubing. Slide nut onto valve inlet and finger tighten nut onto valve. Tighten another half turn with a wrench; DO NOT overtighten. See Figure 2.

(Include enough tubing in loop to allow moving refrigerator out for cleaning.)
Figure 1
- Plastic Water Tubing to Ice Maker Fill Tube
- Steel Clamp
- Brass Compression
- Nut Ferrule (Sleeve)
- Copper water line
- Water Valve Bracket
- Valve Inlet
- Water Valve
- Copper water line from household water supply

(Include enough tubing in loop to allow moving refrigerator out for cleaning.)
Figure 2
- Plastic Water Tubing to Ice Maker Fill Tube
- Steel Clamp
- Stainless Steel water Line
- Water Valve Bracket
- Valve Inlet
- Water Valve
- 6 ft (1.8 Meters) Stainless Steel water line from household water supply
6. With steel clamp and screw, secure water supply line (copper tubing only) to rear panel of refrigerator as shown.
7. Coil excess water supply line (copper tubing only), about 2½ turns, behind refrigerator as shown and arrange coils so they do not vibrate or wear against any other surface.
8. Turn ON water supply at shutoff valve and tighten any connections that leak.
9. Reconnect refrigerator to electrical power source.
10. To turn ice maker ON, set the ice maker’s ON/OFF power switch to the “I” position.
Automatic Ice Maker Tips
- Remember water quality determines your ice quality.
- To stop the ice maker, press the switch to the “O” position. The ice maker turns off automatically when the ice container is full.

NOTE
Allow 24 hours for ice maker to make the first batch of ice. Once you make the first batch, please discard.
- Ice stored too long may develop an odd flavor. Empty the container. The ice maker will then produce more ice.
- Occasionally shake the bin to keep ice cubes separated.
- Keep the ice maker in the OFF position until the refrigerator is connected to the water supply or whenever you turn the water supply off.
- The following sounds are normal when the ice maker is operating:
Motor running
Ice loosening from tray
Ice dropping into ice bin
Running water
Water valve opening or closing
CAUTION
DO NOT place the ice bin in your dishwasher.
- Wash the ice bin in warm water with mild detergent. Rinse well and dry.
- Turn OFF ice maker when cleaning the freezer or for short vacations.
- If you will turn the ice maker off for a long period of time, turn the water supply valve to the closed position.




![Frigidaire Lfhb2741pf French Door Refrigerator User Manual] Frigidaire Lfhb2741pf French Door Refrigerator User Manual]](https://static-data1.manualsee.com/1/img/143/101212/2021/03/Frigidaire-LFHB2741PF-French-Door-Refrigerator-featured-1.png)














