CRYSTORAMA ADD-306-AG-AU Addis 6 Light Chandelier

Product Information
- Product Name: ADD-306-AG-AU
- Brand: Crystoram
- Website: Crystorama.com
Dimensions

All electrical components must be installed by a licensed electrician in accordance with the National Electric Code and the appropriate local electrical codes.
You will need -Candelabra Base Bulb 40 Watts Recommended 60 Watts Max. USE LED BULBS FOR EXTENDED USE
This fixture is dry rated.
Product Usage Instructions
How to Install
- Decide the preferred hanging height and choose the correct number of rods needed.
- Feed the wires through the rods, screw collar ring, and canopy (with a bigger center hole). Screw the rods together.
- Screw one end of the rod assembly onto the top of the frame and the other end onto the swivel on the mounting strap.
- Attach the mounting strap onto the outlet box.
- Raise the fixture up to the ceiling and do the wire connections. Slip the canopy up along the rods and over the mounting strap. Secure with the screw collar ring.
- Install the bulb into the socket.
- Dress the glass as illustrated.
Glass Sets
- 30 pieces of various colored glass
- Size: 2 3/4″ x 7 3/4″
Dress the glass from tier #4.

WARNING: This product can expose you to Lead, which is known to the State of California to cause cancer and or birth defects or reproductive harm. For more information go to www.P65Warnings.ca.gov
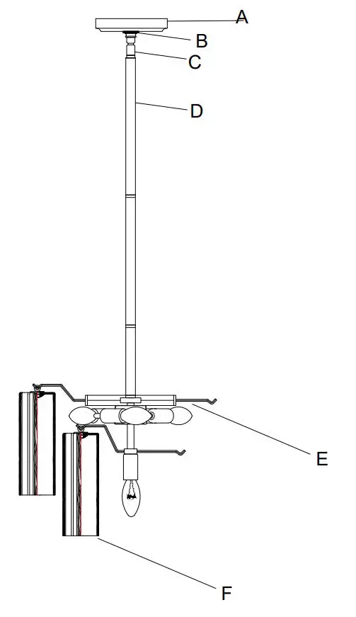
Product Components
Part Number
- A. (1) Canopy – D 5 1/8″ x H1″ – XBN300AGCAN5.125IN
- B. (1) Collar ring
- C. (1) Swivel
- D. (1) 6″ Rod – XBN300AGROD6IN
- E. (3) 12″ Rods – XBN300AGROD12IN
- F. (1) Frame
- G. (24) Glass – D 2 3/4″ x H 7 3/4″ – XBN300AGCLGLA7.75IN















