STAUBLI PV-ADB4-EVO ST PV Surface Mount Socket

Safety instructions
Importance of the assembly instructions
NOT following the assembly and safety instructions could result in life-threatening injuries due to electric shock, electric arcs, fi re, or failure of the system
- Follow the entire assembly instructions
- Use and install the product only according to this assembly instructions and the technical data
- Safely store the assembly instructions and pass them on to subsequent users
Intended use
The MC4-Evo stor connector electrically connects the DC side of an inverter and the BESS (battery energy storage system)
The connector can be used for purposes other than those in a photovoltaic array, eg, as a LVDC component If the component is used for other purposes, then the requirements and specifications may be different from the ones described in this document
For more information, contact Stäubli www.staubli.com/electrical
Requirements for personnel
Only an electrician or electrically instructed person may assemble, install, and commission the system
- An electrician is a person with appropriate professional training, knowledge, and experience to identify and avoid the dangers that may originate from electricity. An electrician is able to choose and use suitable personal protective equipment
- An electrically instructed person is a person who is instructed or supervised by an electrician and can identify and avoid the dangers that may originate from electricity
Prerequisites for installation and assembly
- NEVER use an obviously damaged product
- ONLY tools and procedures approved by Stäubli shall be used
- ONLY approved PV-cables shall be assembled to the connector
Safe assembly and mounting
Live parts can remain energized after isolation or disconnection
ONLY Install the product when the photovoltaic array or -string is de-energized
Mating and disconnecting
- ALWAYS de-energize the photovoltaic system before mating and disconnecting the connectors
- NEVER disconnect the connectors under load
- NEVER connect male or female part of Stäubli connector with connectors of other manufacturers
Do NOT modify NOR repair component
- Mount connector only once
- Do NOT modify connectors after assembly
- Replace defective connectors
Tools required
(ill. 1)
Stripping pliers PV-AZM including built-in stripping blades and Allen key 2.5 mm
| Conductor cross-section | Type | Bestell-Nr. Order no. |
| 1.5/2.5/4/6 mm² (14/12/10 AWG) | PV-AZM-156 | 32.6027-156 |
| 4/6/10 mm² (12/10/8 AWG | PV-AZM-410 | 32.6027-410 |
Note: Operating instructions MA267, www.staubli.com/electrical

(ill. 2)
Crimping pliers PV-CZM and locator
| Crimping range | Crimping pliers | Lokator Locator |
| 2.5/4/6 mm² (14/12/10 AWG) | PV-CZM-61100 32.6020-61100 | PV-LOC-MC4-EVO 2 32.6084 |
| 4/10/6 mm2 (12/8/10 AWG) | PV-CZM-60100 32.6020-60100 | PV-LOC-MC4-EVO 2 32.6083 |

Note: Operating instructions MA704, www.staubli.com/electrical
(ill. 3)
Assembly and unlocking tool PV-MS-PLS, Order No. 32.6058

Note: Operating instructions MA270, www.staubli.com/electrical
(ill. 4)
PV-WZ-Torque-Set, Order No. 32.0065
or Torque wrench 17 mm

(ill. 5)
Test plug PV-EVO-PST, Order No. 32.6073
(ill. 6)
Cable cutter PV-WZ-KS, Order No. 32.6080

Note: Operating instructions MA705, www.staubli.com/electrical
Lead preparation
Cables with a strand class 5 and 6 shall be connected. Use tinned copper cables only.
Attention
Do not use oxidized nor bare (i.e. uncoated) conductors. All Stäubli solar cables have high grade tinned conductors. For safety reasons, Stäubli prohibits the use of PVC cables and the use of non-tinned cables of type H07RN-F.
(ill. 7)
Check dimension b in accordance with ill. 7 and Tab 1.

Tab. 1
| b: Control dimension | Conductor cross-section | Type | |
| mm | mm2 | AWG | |
| ~ 3 | 2.5 | 14 | PV-ADB4-EVO ST/2,5 PV-ADS4-EVO ST/2,5 |
| ~ 5 | 4 – 6 | 12/10 | PV-ADB4-EVO ST/6 PV-ADS4-EVO ST/6 |
| 6.5 | 10 | 8 | PV-ADB4-EVO ST/10 PV-ADS4-EVO ST/10 |
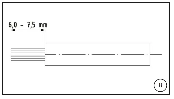
(ill. 8)
Strip lead to dimension 6.0 mm to 7.5 mm.

Attention
Do not cut individual strands when stripping!
Crimping
(ill. 9)
- Open clamp (K) and hold tight
- Insert the contact in the appropriate cross-section range
- Turn the crimping flaps (C) upwards
- Release clamp (K)
- The contact is locked
Note:
Make sure that the contact is placed in the housing and is held by the clamp.
(ill. 10)
Verify if the crimping flaps are still correctly aligned.
Press the pliers gently together until the crimping flaps are properly located within the crimping die.

(ill. 11)
Insert the stripped lead end until the lead strands come up against the locator.
Completely close the crimping pliers.
(ill. 12)
Visually check the crimp according to the criteria written in IEC 60352-2.
Confirm that:
- all of the strands have been captured in the crimp sleeve
- the crimp sleeve is not deformed or missing any portion of the crimp flaps
- that the crimp is symmetrical
- a “brush” of conductor strands are visible on the contact side of crimp.

Installation of receptacles
(ill. 13)
Drill housing plate
For both horizontal and vertical mounting a spacing (X) of at least 25 mm is recommended.
Note:
Ensure a housing wall thickness of 2 – 4 mm for metal housings and 2 – 6 mm for plastic housings. In case of using a wall thickness outside the values mentioned above the validation process has to be done by the installer.
(ill. 14)
Attention
Before mounting the plastic insulations through the bore, the flat gasket must be located on the insulation.
Danger In case of lacking flat gasket or incorrect mounting, the ingress protection IP65 and IP68 will be compromised.

(ill. 15)
Note:
Position the plastic parts (E) so that they can be plugged and unplugged. Screw on the nuts (M) and tighten them with the torque wrench. Typical values lie at 1.7 N m1). The appropriate torque has to be verified in the end use according to the respective housing.
1) We recommend precisely following the calibration procedure defined for each specific torque wrench used!
In mounting position, the flat gasket must lie even on the outer side of the mounting surface.
During a visual check after assembly, no cracks, foldings or other disturbances should exist.
The orientation of the flat gasket does not affect final product performance and must not be respected.

Assembly check
(ill. 16)
Insert the crimped contact into the insulator of the male or female coupler until engaged,
You will typically hear a “click” sound once fully inserted.
Pull gently on the cable to check that the metal part is correctly engaged.
(ill. 17)
Insert the appropriate end of the test pin into the male or female coupler as far as it will go. If the contact is correctly located, the white mark on the test pin must still be visible.
(ill. 18)
The polarity of the PV-string in its enduse has to be marked, for example on the PCE enclosure where the panel receptacles are mounted.


Note:
The following markings for polarity are deemed to be sufficient:
“+” and “-”
“POS” and “NEG”
“POSITIVE” and “NEGATIVE”
Mating and disconnecting
Mating (ill. 19)
Mate the connectors until a „click“ can be heard.
Check correct engagement by lightly pulling the connector (maximum pulling force: 20 N).

Attention
Assembly of not fully engaged connectors is not permitted as this could lead to a permanent deflection of clips and thus to a potential loss of the locking function.
The correct assembly has to be verified at all times.
Note: Unmated connectors must be protected from any contamination using Stäubli sealing caps.
Disconnecting
Use PV-MS-PLS/2 to disconnect.
Notes on installation
General notes on installation
- Unmated connectors must be protected from environmental impact (moisture, dirt, dust, etc.) with sealing caps (socket order no. 32.0716; plug order no. 32.0717).
- Do not mate contaminated connectors.
- Connectors must not come into contact with any chemicals.
- The design of the short-circuit resistance of the entire system must not exceed the short-circuit resistance of the connector. Short-circuit resistance of connectors to be clarified with Stäubli.
Cable routing
Cable management must allow a minimum of 20 mm of cable that exits directly from the cable seal without bending or stress. Refer to cable manufacturers specification for minimum bending radius.

Contaminated/damaged connectors:
- Do not allow connectors to be contaminated by the environment (e.g. soil, water, insects, dust).
- Do not allow the connector to be contaminated on its surface (e.g. stickers, paint, heat shrink tubing).
- Do not allow that the connector is directly on the roofing surface.
- Do not allow that the connector is at the lowest point of cabling where water can collect.
- Do not allow that the connector is in standing water.
- Do not allow that cable ties to be mounted directly on the connector body
Mechanical stress:
- Check that the connectors are not subjected to a permanent mechanical tensile load or vibration.
- Connectors shall not be under strain from cable management.
Technical Data
| Type designation | PV-ADB4-EVO ST/x PV-ADS4-EVO ST/x |
| Connector system | Ø 4 mm |
| Rated voltage | DC 1500 V (IEC 62852:2014+Amd.1:2020) DC 1500 V (UL 6703) |
|
Rated current (IEC) | 32 A (2.5 mm²) 42 A (4.0 mm²) 47 A (6.0 mm²) 62 A (10 mm²) |
|
Rated current (UL) | 30 A (14 AWG) 35 A (12 AWG) 50 A (10 AWG) 70 A (8 AWG) |
| Rated impulse voltage | 16 kV |
| Ambient temperature range | -40 °C…+85 °C (IEC) -40 °C…+90 °C (UL) |
| Transportation/storage temperature range | -30 °C/+60 °C |
| Transportation/storage relative humidity | < 70 % |
| Upper limiting temperature | 115 °C |
| Degree of protection, mated | IP65/IP68 (1 m, 1 h) |
| Degree of protection, unmated | IP2x |
| Overvoltage category/Pollution degree | CAT III/3 |
| Contact system | MULTILAM |
| Type of termination | Crimpen/crimping |
| Contact material | Kupfer verzinnt/Copper, tin plated |
| Insulation material | PA |
| Twist lock | D-Form (siehe/see ill. 12, Seite/page 6) |
| Flame class | UL94-V0 |
| Compatible with Connector type | MC4-Evo stor (PV-KST4-EVO ST/… ; PV-KBT4-EVO ST/…) |
| TÜV-Rheinland certified according to IEC 62852:2014+Amd.1:2020 | R 60163467 |
| UL certified according to UL 6703 | E343181 |
Hersteller/Manufacturer: Stäubli Electrical Connectors AG Stockbrunnenrain 8
4123 Allschwil/Switzerland Tel. +41 61 306 55 55
Fax +41 61 306 55 56
mail [email protected] www.staubli.com/electrical















