Installation Guide
Pack controller
Type AK-PC 651A
Identification

IP 20
CE: -20 – +60 °C, UL: 0 – 50 °C
(CE: 0 – 140 °F, UL: 32 – 122 °F)
RH max. 90% non-condensing
External display

Principle

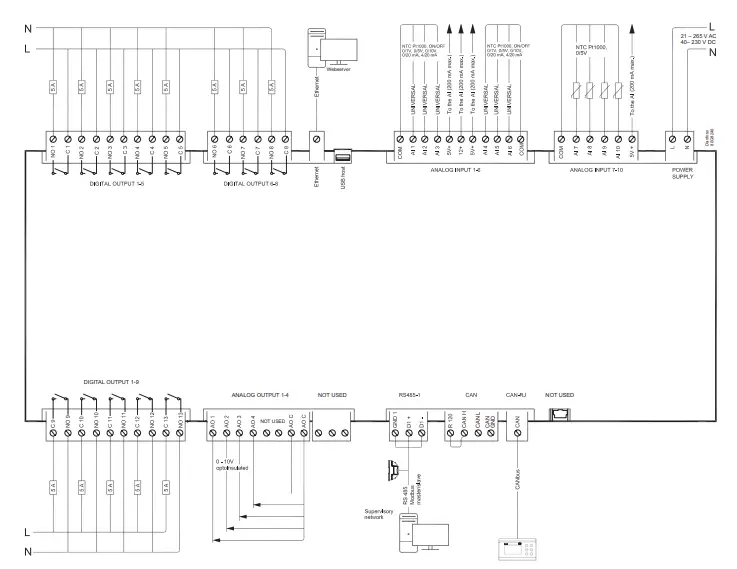
Connection, lower level

| DO | DO1 I DO2 | DO3 I DO4 I DOS I DO6 | DO7 I DO8 I DO9 I D010 I D011 I D012 I D013 | D014 I D015 |
| 1 Max. | Res: SA (100k cycles) Ind: 3A (100k cycles) | 0.5 A, min. 50 mA loff < 1,5 mA | Res: SA (100k cycles) Ind: 3A (100k cycles) | Res: 16A (50k cycles)Ind: 3.5A (230k cycles) |
| U | All 24 V or all 230 V AC | All 24 V or all 230 V AC All 24 V or | all 230 V AC | |
DO – Digital outputs, 15 pcs. DO1 – DO15
Relays from DO3 to DO6 are solid-state relays.
The relays are de-rated to the specified values.
It is possible to use up to two SSR simultaneously.
AI – Analogue inputs, 6 pcs. AI1 – AI6
Temperature sensor
- Pt 1000 ohm, AKS 11 or AKS 21.
- NTC 86K ohms @ 25 °C, from the digital scroll.
Pressure transmitters - Current: 0 – 20 mA / 4 – 20 mA, AKS 33 (supply = 12 V)
AI – Analogue inputs, 4 pcs. AI7 – AI10
Pressure transmitters
- Ratiometric: 10 – 90 % of supply, AKS 32R
- Signal: 1 – 5 V, AKS 32
- PT1000

Factory settings: AI7=Po, AI8=Pc
Temperature sensor
See above
Supply Voltage.
21 – 265 V AC, 50/60 Hz
40 – 230 V DC
AO – Analogue output, 4 pcs. AO1 – AO4
Can be used when using a frequency converter or EC Motor.
Analog outputs 0 – 10 V are self-powered: no need of an additional power supply.
Analog Outputs are
opto-isolated.
Modbus
It is important that the installation of the data communication
cable be done correctly. Cf. separate literature No. RC8AC.
Remember termination at the bus termination.
Termination
(Only if an external display is connected)
Insert a jumper between the two connections on the left (R120CANH).
Connection, upper level

Dimensions

For DIN rail mounting only (IP 20)
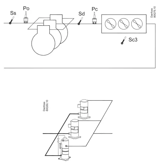
The capacity of the digital scroll compressor

The capacity is divided into period times as “PWM per”. 100% capacity is delivered when cooling takes place for the whole period. An off time is required by the bypass valve within the period and an on time is also permitted. There is “no cooling” when the valve is on.
The controller itself calculates the capacity needed and will then vary it according to the cut-in time of the capacity control valve.
A limit is introduced if low capacity is needed so that the cooling does not go below 10%. This is because the compressor can cool itself. This value can be increased if necessary.
Copeland Stream compressor
The PWM signal can also be used to control one stream compressor with one unloader valve (Stream 4) or one with two unloaders
(Stream 6).
Stream 4: The compressor capacity is distributed by up to 50% for one relay and the remaining 50-100% for the unloader. The unloader is connected to SSR outputs (DO3-6).
Stream 6: The compressor capacity is distributed by up to 33% for one relay and the remaining 33-100% for the unloader. The unloaders are connected to SSR outputs (DO3-6).
Bitzer CRII Ecoline
CRII 4: The pulse signal can also be used to control one CRII with two unloaders (4-cylinder version).
The compressor capacity can be controlled from 10 to 100%, depending on the pulsation of the unloaders. The compressor
start signal is connected to a relay output, and the unloaders are connected to SSR outputs (DO3-6). 
Unloader 2 follows unloader 1, but it remains displaced by a half period.
CRII 6: The pulse signal can also be used to control one CRII with three unloaders (6-cylinder version).
The compressor signal is connected to one relay output.
The three unloaders can be connected to DO3, 4, 5, and 6.
The compressor capacity can be controlled from 10 to 67%, depending on the pulse of the unloaders.
The relay is then connected to the third unloader. When this relay is off, the capacity will be controlled between 33 and 100%.


















