CONRAD V300 Set Video Door Intercom Instruction Manual
WELCOME
Thank you for choosing a Somfy product.
Who is Somfy?
Somfy develops, manufactures and sells motors and automatic control devices for domestic equipment. Motorisation systems for gates, garage doors and roller shutters, alarm systems, lighting controls, heating thermostats; all Somfy products are designed to meet your expectations in terms of safety, comfort and energy efficiency.
At Somfy, the pursuit of quality is a continuous process of improvement. Somfy’s reputation has been built upon the reliability of its products and the Somfy brand is synonymous with innovation and technological expertise worldwide.
Assistance
Getting to know our customers, listening to them, meeting their needs: this is Somfy’s approach. For more information on how to choose, purchase or install Somfy products, please ask for advice at your DIY store or contact a Somfy advisor directly for help and assistance. Internet: www.somfy.fr
Warranty
This product is guaranteed for 2 years from the date of purchase.
IMPORTANT INFORMATION – SAFETY
General information
Read this installation guide and the safety instructions carefully before installing this Somfy product. All the instructions given must be followed closely and this guide must be stored in a safe place throughout the service life of your product. Before installation, check that this Somfy product is compatible with the associated equipment and accessories. These instructions describe how to install and use this product. Any installation or use outside the field of application specified by Somfy is forbidden. This invalidates the Somfy warranty and discharges Somfy of all liability, as does any failure to comply with the instructions provided herein. Somfy cannot be held responsible for changes to norms or standards occurring after the publication of these instructions. Somfy hereby declares that this product is in compliance with the requirements of Directive 2014/53/EU. The full text of the Declaration of Conformity is available at www.somfy.com/ce Non contractual images.
General safety instructions
Do not let children play with the control point. Never immerse the control point in liquid. This product is not designed to be used by persons (including children) with reduced physical, sensory or mental capacities, or persons lacking in experience or knowledge, unless they have received, from a person responsible for their safety, monitoring or prior instruction regarding the use of the product.
Conditions of use
The radio range is limited by radio appliance control standards. The radio range is heavily dependent on the environment in which it is used: interference may be caused by having large-scale electrical equipment near the installation and by the type of material used in the walls and partitions. The use of radio appliances (e.g. a set of Hi-Fi radio headphones) operating on the same radio frequency might be detrimental to the product’s performance. The purpose of this videophone camera is to identify a visitor; under no circumstances should it be used to monitor the street. This installation must be used in compliance with the data processing and civil liberties law. Any use of these products which is not strictly personal is subject to statutory obligations of use and to obtaining the necessary administrative authorisations beforehand. The buyer’s civil and criminal liability may be incurred in the event of inappropriate use of the device aimed at infringing the privacy or image of a third-party; Somfy will under no circumstances be held responsible for use of a videophone that violates current legal and regulatory provisions.
Recycling and disposal
Do not dispose of the product with household waste at the end of its life. Return the product to its distributor or use your local authority’s special waste collection services.
PRODUCT DESCRIPTION
The indoor monitor is fitted with an RTS (Radio Technology Somfy) radio transmitter. This wireless control function enables home products with a Somfy RTS receiver to be controlled (garage door, gate, lighting, roller shutters, awning, etc.).

| Mark | Description | Description | |
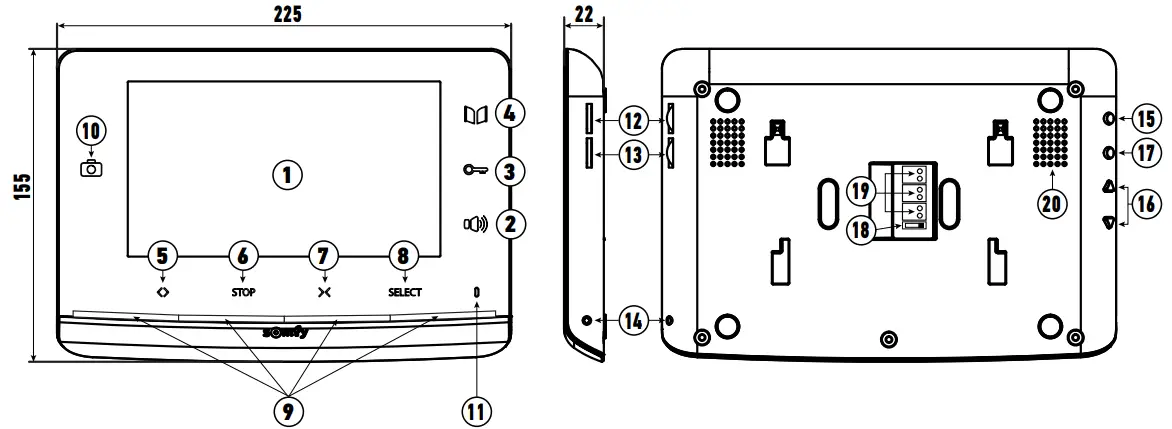
| 1 | Screen | Used to view the visitor. | |
| 2 | Microphone activation button | Activates the microphone on the monitor to speak to a visitor. | |
| 3 | Electric latch/lock button | Controls the electric latch or lock. | |
| 4 | Gate button | Controls the motorised gate. | |
| Wireless controls | 5 | Open/on button | Opens the gate, roller shutter, awning or garage door or switches lighting on. |
| 6 | STOP button | Stops the movement of the gate, roller shutter, awning or garage door. | |
| 7 | Close/off button | Closes the gate, roller shutter, awning or garage door or switches lighting off. | |
| 8 | RTS channel selection button | Enables the radio channel controlling a product or a group of products to be selected (see “9.3 Wireless control of a Somfy RTS device via the monitor” ). | |
| 9 | Channel indicator lights Each indicator light represents one RTS (radio technology Somfy) channel. There are 5 channels in total: for the 5th channel, the 4 indicator lights are lit. | ||
STANDARD INSTALLATION DIAGRAMS
Standard installation for one residence

| Distance between the door station and the furthest monitor | Cable to be used | |
| A | Less than 50 m | 2 wires of min. 0.5 mm² |
| Between 50 and 100 m | 2 wires x 1 mm² | |
| B | 2 wires of min. 0.75 mm² | |
| C | 2 wires of min. 0.5 mm² |
- You are advised to use flexible cables and to tin the bare ends or fit them with end-pieces to be crimped.
- ͉ The maximum wire section for the terminals is 1 mm²
Standard installation for two residences

| A | Less than 50 m | 2 wires of min. 0.5 mm² |
| Between 50 and 100 m | 2 wires x 1 mm² | |
| B | 2 wires of min. 0.75 mm² | |
| C | 2 wires of min. 0.5 mm² |
- You are advised to use flexible cables and to tin the bare ends or fit them with end-pieces to be crimped.
- ͉ The maximum wire section for the terminals is 1 mm².
ADDING A MONITOR
Installing the additional monitor in one residence
Disconnect the mains adapter from the main monitor.
- Fix the monitor mounting plate to the wall.
Important: The monitor mounting brackets must come out towards you.
Note: All the wires must pass inside the mounting bracket so they can be connected to the monitor. - Remove the DC connector from the rear of the monitor, then connect the mains adaptor cable to this connector: white wire with grey lines at the top (+) and completely white wire at the bottom (-).
Important: It is essential to use the mains adaptor provided to power the monitor.
Important: The mains adaptor must be installed close to the monitor and must be easily accessible. - Connect the mains adaptor connector to DC at the rear of the monitor as shown in the illustration (screw to the left).
Important: Do not connect the mains adaptor to a socket until all the wiring is completed.

- Prepare the connection for the additional monitor to the main monitor by connecting a 2-wire cable to the P2 connector at the rear of the monitor and respecting the polarities:
- M+ of the additional monitor to the M+ of the main monitor.
- M- of the additional monitor to the M- of the main monitor.
Note: Identify the wires used for the P2 connector of the main monitor in order to wire the additional monitor correctly.
Note: Connector P1 is not used as the door station is connected to the main monitor.
- Identify the position of the switch (18) on the residence’s main monitor and position the switch (18) on the additional monitor in the same position.
Note: For an installation for a single residence, the switch (18) must be set to position 2.
- Clip the monitor onto its mounting bracket by first positioning the top of the monitor on the station, then the bottom.
Note: Position the mains power adapter wires between the mounting bracket and the monitor.
Installing a main monitor in a second residence
The V300 can be adapted to a two-residence format with a multi-button station. However, this type of installation requires the addition of a junction box (not supplied in the kit) to be placed between the door station and the monitors in each (see diagram below). The monitors are installed as per the standard installation (see section “4.1 Installation for one residence” of the instructions for the V300 kit) with a maximum distance of 100 m between the door station and the monitor furthest away. When wiring, the mains adaptors of residence 1 and residence 2 must be disconnected from the mains. For each residence, the polarities must be respected (see section “5.1 Wiring the door station” of the instructions for the V300 kit):
– M+ of the monitor to M+ of the door station.
– M- of the monitor to M- of the door station.
Before installing the monitors, the switch (18) at the rear of the monitors must be configured to distinguish between the two residences and thus be able to use the two call buttons on the door station:

Switching the installation on
Once installation is complete, reconnect the mains adaptors of the monitors.\
The installation is ready to use.
REPLACING A MONITOR
Disconnect the mains power unit from the monitor being replaced.
- Unhook the monitor being replaced from its mounting bracket by sliding it upwards.
- Mark the connectors so that they can be reconnected in the same order on the new monitor:
- Identify the position of the switch (18).
- Disconnect the connectors of the monitor being replaced by pulling them upwards slightly


- Remove the connectors supplied with the new monitor by pulling them slightly upwards and put them to one side in the event they are required.
- Position the switch (18) on the new monitor in the same position as that on the monitor being replaced.
- Connect the mains adaptor connector at the rear of the monitor to the DC terminal as shown in the illustration
Important: Do not connect the mains adaptor to a socket until all the wiring is completed. - The connect the second connector to terminal P2 and the third connector to terminal P1 (depending on the configuration of the installation).
- Clip the monitor onto its mounting bracket by first positioning the top of the monitor on the station, then the bottom.
Note: Position the mains power adapter wires between the mounting bracket and the monitor.
Switching the installation on
Once installation is complete, reconnect the gate motorization to the power supply.
Next connect the monitor mains adapter to an electrical socket.
SETTING THE VIDEOPHONE
Monitor
| 12 | ![]() | Bell volume dial | This is used to adjust the volume of the monitor bell. |
| 13 |
| Speaker volume dial | This is used to adjust the volume of the monitor. |
Adjusting the screen
- Press the “Menu” button (15).
- Press briefly on the “Menu” button to navigate through the settings menu: the setting selected is highlighted in orange.
- Press the settings buttons (16) to change the value of the parameter selected (brightness, contrast, menu language, time or date) until the desired setting is obtained.
- Press the “Back” button (17) to exit the menu.


Changing the monitor bell-tone
16 bell-tones are available on the monitor. To change the monitor bell-tone, keep the “BACK” button (17) depressed (approx. 5 seconds). The default or previous bell-tone is played. You can then listen to the other bell-tones using the “settings buttons”. Once you have made your choice, press the “Back” button briefly to save the new bell-tone.
Responding to a visitor
When a visitor presses the call button on the door station, the monitor plays the bell-tone selected an image of the visitor is displayed.
Press the microphone and speaker activation button . You can communicate with your visitor.
Note: The V300 offers the possibility of taking a screen shot during a conversation with a visitor by pressing the “Back” button (17) on your monitor briefly during the conversation. A pictogram appears at the top of the screen to indicate that the action is confirmed. The photo is then archived in the photo menu; see the instructions for the V300 kit, section “8.5 Viewing / deleting the photos”.
Note: You can communicate with your visitor for a maximum of 2 minutes. If you press the microphone and speaker activation button again, the monitor screen goes off and communication is cut off.
Opening the gate
With the monitor screen switched on or off, press the button . If the monitor screen is on, it will switch off when the gate opens
Unlocking the electric latch/lock
With the monitor screen switched on or off, press the unlock button .
If the monitor screen was on, it switches off when the electric latch/lock is unlocked.
WIRELESS CONTROL OF SOMFY RTS EQUIPMENT
The monitor is equipped with a Somfy Radio Technology (RTS) transmitter. It is only compatible with devices equipped with Somfy Radio Technology (RTS). It is used to control the following Somfy equipment, individually or simultaneously:
- garage door motorization,
- lighting receiver,
- roller blind motorisation,
- gate motorisation. (for a SOMFY RTS gate motorisation sold in DIY superstores, see the instructions for the V300 kit, section “7.3.1 Programming the gate motorisation in the monitor memory”),
- Etc.
This functionality is possible thanks to a system of radio channels identified by indicator lights at the bottom of the monitor. Each channel corresponds to an individual remote control and can be used to control one or more devices. There is no limit to the number of devices that can be controlled by a single channel. To control a channel, simply press one of the “open/on” (5), “stop” (6) or “close/ off” (7) buttons.
Important: Check that the equipment to be controlled is wireless and within the radio range of the monitor.
Adding an RTS device (radio technology Somfy
To add an RTS device (radio technology Somfy), you must carry out 2 steps:
- identify the original RTS control for the equipment (remote control, transmitter, etc.)
- pair the monitor with the RTS device on the channel of your choice
Example: Adding a Somfy RTS roller shutter
- Identify the original control of the roller shutter, i.e. the remote control or the control point which only controls this roller shutter.
Note:- If the original control is lost or broken, and it is the only one that controls the roller shutter, contact one of our Somfy advisers.
- If another control operates the roller shutter, use that to follow the steps below.
- Partially open the roller shutter using the original control.
- Press the original control’s PROG button for at least 3 seconds: the product reacts (for example, with a brief up and down movement or a series of 3 BEEPS). The programming function is activated for 2 minutes.
Note: If you cannot locate the PROG button on your control point, refer to the instructions. - Select a free channel by pressing the “SELECT” button (8) on the monitor.
- Press the PROG button (14), located at the bottom right of the monitor, for 1 second.
- Check that pairing has worked by pressing an open or close button. 9.2 Removing Somfy RTS equipment It is possible to delete control of a Somfy RTS device: when a device is already paired to the monitor, beginning the procedure described above again cancels the pairing.

Wireless control of a Somfy RTS device via the monitor
- Selected the channel associated with the device that you want to control by pressing the SELECT button (8): the indicator light of the channel selected flashes (or the 4 indicator lights flash for channel 5). Press the channel selection button as many times as necessary until the indicator lights show the required channel.
- Control your equipment using the Open/On, STOP and Close/Off buttons on the monitor. The equipment will react as stated in the table below:
| Equipment controlled | Press button: | ||
| Open/on (5) | STOP (6) | Close/off (7) | |
| Garage door | Open | Stopped (if the door is moving) | Closed |
| Lighting | On | Of | |
| Roller shutter | Open | Stopped (if the roller shutter moving) • Favourite position (if the roller shutter is stopped) | Closed |
| Gate | Open | Stopped (if the gate is moving) | Closed |
TECHNICAL DATA
| Monitor | ||
| Power supply | Type | 100-240 V / 50-60 Hz mains adaptor, 0.5 A Output: 17 Vdc, 1.1 A |
| Protection against inversion of polarity | Yes | |
| Screen | 7’’ (17 cm) screen – Resolution: 800 x 480 pixels | |
| Settings | bell-tone volume, listening volume, brightness, contrast, colours, language, time, date, bell-tone | |
| Image memory | 100 photos on the internal memory | |
| Mounting | Wall mount | |
| Dimensions (w x h x d) | 225 x 155 x 22 mm | |
| Operating temperature | From -10°C to +55°C | |
| Radio transmitter | Frequency Range | 433.42 MHz < 10 mW 200 metres (free field) |
























![Hikvision Video Intercom Villa Door Station [ads-24s-12 1224gpcn] User Manual Hikvision Video Intercom Villa Door Station [ads-24s-12 1224gpcn] User Manual](https://static-data1.manualsee.com/1/img/266/17650/2020/12/Video-Intercom-Villa-Door-Station.png)


