INSTALLATION MANUAL
Read these instructions carefully before starting to use any components. Keep the manual so you can refer to it at a later date if required. If you hand over the device to other persons for use, please hand over the operating manual as well.
You can always find the most up-to-date version of the installation manual on www.doorbird.com/support
To make things easier we use the term “device” for the product “IP Video Door Station D11x series” and “mobile device” for a smartphone or tablet.
Liability
Every care has been taken in the preparation of this document. Please inform Bird Home Automation GmbH of any inaccuracies or omissions. Bird Home Automation GmbH cannot be held responsible for any technical or typographical errors and reserves the right to make changes to the product and manuals without prior notice. Bird Home Automation GmbH makes no warranty of any kind with regard to the content of this document, including, but not limited to, the implied warranties of merchantability and fitness for a particular purpose. Bird Home Automation GmbH shall neither be liable nor responsible for incidental or consequential damages in connection with the furnishing, performance or use of this material. This product is only to be used for its intended purpose.
Equipment Modifications
This equipment must be installed and used in strict accordance with the instructions given in the user documentation. This equipment contains no components that require service by the user. Unauthorized equipment changes or modifications will invalidate all applicable regulatory certifications and approvals.
Symbols used
Danger: Indicates a hazardous situation which, if not avoided, will result in death or serious injury.
Warning: Indicates a hazardous situation which, if not avoided, could result in death or serious injury.
Caution: Indicates a hazardous situation which, if not avoided, could result in minor or moderate injury.
Notice: Indicates a situation which, if not avoided, could result in damage to property.
Important: Indicates significant information which is essential for the product to function correctly.
Note: Indicates useful information which helps in getting the most out of the product.
Hazard information
WARNING
- Mounting, installation and servicing work on electrical devices may only be performed by a qualified eletrician. Failure to observe this regulation could result in the risk of serious damage to health or fatal injury due to electric shocks.
- Devices with 110-240 V connection: The device may only be connected to an easily accessible power socket outlet. The mains adapter must be pulled out if a hazard occurs.
- For power supply, only use the original plugin mains adapter delivered with the device or a recommended PoE-Switch/PoE-Injector as specified in this manual.
- Because of electrostatic charging, direct contact with the circuit board can result in destruction of the device. Direct contact with the circuit board must therefore be avoided at any time.
- Observe the EN 60065 resp. EN 60950 resp. EN 62368 standard.
- Do not use the device if there are signs of damage to the housing, control elements or connecting sockets, for example, or if it demonstrates a malfunction. If you have any doubts, please have the device checked by an authorized expert.
- Do not open the device. This voids the warranty of the device. The device does not contain any parts that can be maintained by the user. In the event of an error, please have the device checked by an authorized expert.
- For safety, approval and licensing reasons (CE/FCC/IC etc.), unauthorized change and/or modification of the device is not permitted.
- The device is not a toy; do not allow children to play with it. Do not leave packaging material lying around. Plastic films/bags, pieces of polystyrene, etc. can be dangerous in the hands of a child.
- Always lay cables in such a way that they do not become a risk to people and domestic animals.
- Voltage is applied to parts within the equipment. Do not touch any parts that are not associated with the installation, wiring, or connection. Electric shock could result.
- On devices which are not marked as weatherproof: Keep the device away from water or any other liquid.
- Do not install or make any wire terminations while power supply is plugged in. It can cause eletric shock or damage to the device.
- Before turning on power, make sure wires are not crossed or shorted. If not, fire or eletric shock could result.
- High voltage may be present internally. Do not open the device. Electric shock could result.
- The device is not of explosion-proof. Do not install or use near gases or flammable materials. Fire or explosion could result.
- Do not install two power supplies in parallel to a single input. Fire or damage to the device could result. Be sure to connect a single power supply to the device.
- Do not connect any terminal on the device to an AC power line. Fire or electric shock could result.
- Keep AC cord from being marred or crushed. If the AC cord is fractured, fire or electric shock could result.
- Do not plug or unplug with wet hands. Electric shock could result.
- Do not put any metal or flammable material into the device. Fire, electric shock, or device trouble could result.
- Existing wiring may contain high voltage AC electricity. Damage to the device or electric shock could result. Wiring and installation must be done by a qualified eletrician.
- When mounting the device on a wall or ceiling, install the device in a convenient location, but not where it could be jarred or bumped. Injury could result.
- On devices with ground terminals, connect to an earth ground. Otherwise fire or malfunction could result.
- On devices with plastic or real glass, do not put high pressure on the glass. If fractured, injury could result.
- On devices with LCD, if LCD is punctured, do not allow contact with the liquid crystal inside. Injury could result. If necessary, gargle your mouth and clean your eyes or skin with clear water for at least 15 minutes and consult your doctor.
- Do not put anything on the device or cover the device with cloth, silicone, glue, coating, separate covering etc. Fire or device issues could result.
- Do not install the device in any of the following locations. Fire, electric shock, or device trouble could result.
– Places under direct sunlight or places near heating equipment that varies in temperature.
– Places subject to dust, oil, chemicals, hydrogen sulfide (hot spring).
– Places subject to moisture and humidity extremes, such as bathrooms, cellars, greenhouses, etc.
– Places where the temperature is very low, such as inside a refrigerated area or in front of an air conditioner.
– Places subject to steam or smoke (e.g. near heating or cooking surfaces).
– Where noise generating devices such as dimmer switches or inverter electrical appliances are closeby.
– Locations subject to frequent vibration or impact. - On devices with intercom, be sure to perform a call test with low audio volume on both intercom devices. A sudden call etc. may arrive causing for example damage to your ear.
- If the device does not operate properly, unplug the power supply.
- All devices which are not marked as weatherproof are designed for indoor use only. Do not use outdoor.
- On devices which are marked weather-proof: Do not spray with high-pressure water. Device issues could result.
- We do not assume any liability for damage to property or personal injury caused by improper use or the failure to observe the
- hazard information. In such cases, any claim under warranty ceases. For consequential damages, we assume no liability!
Safety instructions

- The device shall be used in compliance with local laws and regulations.
- Store the device in a dry and ventilated environment.
- Avoid exposing the device to shocks or heavy pressure.
- Do not install the device on unstable brackets, surfaces or walls. Make sure the material is strong enough to support the weight of the device.
- Use only applicable tools when installing the device. Using excessive force with tools could cause damage to the device.
- Do not use chemicals, caustic agents, or aerosol cleaners.
- Use a clean dry cloth for cleaning.
- Use only accessories that comply with technical specification of the device. These can be provided by Bird Home Automation GmbH.
- Use only spare parts provided by or recommended by Bird Home Automation GmbH.
- Do not attempt to repair the device by yourself. Contact Bird Home Automation GmbH for service matters.
- Keep the device more than 1 m (3.3′) away from microwave, radio, TV, wireless router and any other wireless devices.
- On devices with intercom or built-in speaker or built-in microphone or signal transmission functions, keep the wires more than 30 cm (12”) away from AC 100-240 V wiring. AC induced noise and/or device malfunction could result.
- Install the device in an area that will be accessible for future inspections, repairs and maintenance.
- If the device is used close to a cellular phone, the device may malfunction.
- The device can be damaged if dropped. Handle with care.
- The device turns inoperative during power failure.
- On devices with intercom or built-in speaker or built-in microphone, in areas where cellular or Radio / TV broadcasting station antennas are closeby, the device may be affected by radio frequency interference.
- On devices with LCD screen, it must be noted in advance that the LCD panel, though manufactured with very high precision techniques, inevitably will have a very small portion of its picture elements always lit or not lit at all. This is not considered a device malfunction.
- On devices with intercom, due to the environmental sound around the device, it may hinder smooth communication, but this is not a malfunction.
- On devices with Username/Password, the Username/Password to access the device is the customer’s responsibility. Make sure to use a password that cannot be easily guessed by a third party. We recommend that you change the Password on a regular basis.
- We will, under no circumstances, be liable for damage that occurs due to failures in power supply, network equipment or terminal devices; failures due to Internet providers and cellular network providers; failures such as disconnected lines and other losses in communication, which makes it impossible to provide this service as well as in any way delay this service due to any other causes outside of our responsibility; or if an error or missing data occurs during transmission.
Information on disposal for users of waste electrical & electronic equipment (private household)
This symbol on the products and/or accompanying documents means that used electrical and electronic products should not be mixed with general household waste. For proper treatment, recovery and recycling, please take these products to designated collection points, where they will be accepted an a free of charge basis. Alternatively, in some countries you may be able to return your products to your local retailer upon the purchase of an equivalent new product. Disposing of this product correctly will help to save valuable resources and prevent any potential negative effects on human health and the environment which could otherwise arise from inappropriate waste handling. Please contact your local authority for further details of your nearest designated collection point. Penalties may be applicable for incorrect disposal of this waste, in accordance with national legislation.
Information on disposal in other countries outside the European Union
This symbol is only valid in the European Union. If you wish to discard this product, please contact your local authorities or dealer and ask for the correct method of disposal.
Transportation
When transporting the device, use the original packaging or equivalent to prevent damage to the device.
Warranty Information
For information about the device warranty, see www.doorbird.com/warranty
COMPONENTS*

1x Main Electrical Unit with call button(s) and front panel

1x Back-housing with wall-mounting bracket

1x Installation manual

1x Quickstart guide with Digital Passport

1x Drilling template

1x Waterproof A4 laser printer paper for labelling name plates

1x Power supply unit (mains adaptor) with four country-specific adaptors

1x RJ45 Adapter

1x Screw connection terminal plug

Small parts
* The sketches in this manual may differ from the purchased model.
Front

1) Front panel
2) HDTV Video
3) Security screws
4) Light Sensor
For night-vision mode
5) Bluetooth transceiver
6) Speaker
7) Microphone
8) 4D Motion sensor
9) Illuminated call button with nameplate
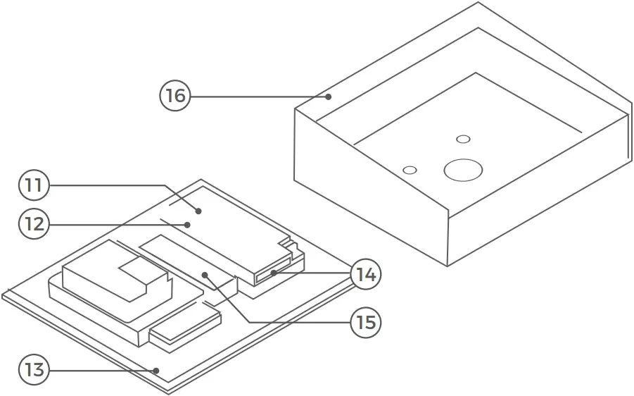
Inside


10) Diagnostic-LED
Lights up a few seconds after connecting the device to power
11) Main Electrical Unit
12) Screw connection terminal
13) Gasket
14) Housing with wall-mounting bracket
The flush-mounted model may differ optically.
Front

1) Front panel
2) HDTV Video
3) Security screws
4) Light Sensor
For night-vision mode
5) Bluetooth tranceiver
6) Speaker
7) Microphone
8) 4D Motion sensor
9) First illuminated call button with nameplate
10) Second illuminated call button with nameplate
Inside


11) Diagnostic-LED
Lights up a few seconds after connecting the device to power
12) Main Electrical Unit
13) Screw connection terminal
14) Gasket
15) Housing with wall-mounting bracket
The flush-mounted model may differ optically.
DEVICE WITH KEYPAD MODULE
Front

1) Front panel
2) HDTV Video
3) Speaker
4) Security screws
5) Light Sensor
For night-vision mode
6) Microphone
7) Bluetooth tranceiver
8) 4D Motion sensor
9) Keypad Module
The illumination is also acting as Diagnostic LED(s)
10) Illuminated modern call button (with nameplate) or illuminated classic call button (round)
Inside

11) Main Electrical Unit
12) Diagnostic-LED
Lights up a few seconds after connecting the device to power
13) Gasket
14) Screw connection terminal
15) Holder for 2-Wire Ethernet PoE Converter A1071 (optional)
16) Housing with wall-mounting bracket
The flush-mounted model may differ optically.
VIDEOS
Need help with the installation? Be sure to watch our installation videos which can be found on http://www.doorbird.com/support
Each individual step of the installation is clearly documented in the videos.
INSTALLATION
All the steps below should be carried out carefully by a competent adult, taking into consideration any applicable safety regulations. Please contact us directly or seek the advice of a competent specialist.
Please ensure that all wires used for the installation are undamaged along their entire length and approved for this type of use.
Network speed and network components
Please ensure that the upload speed of your Internet connection is at least 0.5 Mbps. The user experience is only as good as your network speed, network stability and quality of your network components, such as your Internet Router and WiFi access points or WiFi repeaters. Please also make sure that your network components are no older than two years old, have been manufactured by a well-known manufacturer, and have the latest firmware installed.
Should these requirements not be fulfilled, it may occur, for example that the performance of audio and video is poor or push notifications are delayed or do not arrive on your smartphone or tablet at all.
Requirements:
High-speed Internet (via landline): DSL, cable or optical fibre
Network: Ethernet, with DHCP
[1] SWITCHING OFF POWER
Switch off the power to all wires leading to the assembly location, i.e. the door chime, electric door opener, power supply unit for the video door station etc.
[2] DISMANTLING THE EXISTING DOORBELL
Should there already be a doorbell or door station on the exterior wall of the house, please remove it.
[3] DETERMINING THE ASSEMBLY LOCATION
The device uses an ultra wide-angle hemispheric lens so that even when the person is a minimum distance of 50 cm (19.68 in) away from the device, a low installation height is sufficient. The lens is therefore not mechanically adjustable. The camera lens should be located at an altitude of at least 145 cm (57 in). You may check this prior to the final mounting.

Only for D1101V & D1102V
We offer additional wall-mounting kits for D1101V and D1102V Surface-Mount with a wedge corner wall-mount adapter (7.5° vertical down or up) and alternatively an angle corner wall-mount adapter (45° horizontal, mounts left or right).

A8001 Wedge corner wall-mount adapter (7.5°, mounts vertical down or up), sold separately

A8002 Angle corner wall-mount adapter (45° horizontal, mounts left or right), sold separately
When choosing the assembly location, consider the lighting conditions. Avoid direct sunlight, direct backlight and reflective surfaces.
Do not expose the device to direct sunlight. The housing temperature can exceed the maximum allowed temperature limit. This can result in damage of electric and mechanic components of the device and injuries especially when touching exterior parts of the device. White and bright silver-colored front plates absorb less sunlight than dark ones.
An image sensor must not be exposed to NOTICE direct sunlight for an extended period of time. Direct sunlight will “blind” the camera and may permanently bleach the small color filters on the image sensor chip.
Any defects caused by direct sunlight are not covered by warranty.
[4] ASSEMBLING THE MOUNTING HOUSING
The product is available as a surface-mounted and flush-mounted version. In the flush-mounted version, the front panel is slightly larger to better cover the hole in the wall and the mounting housing (backbox) is made entirely of metal instead of plastic.
If you use the flush-mounted housing, lever up the wall accordingly.

If the wall of the house is not made of wood, you should drill dowel holes 5 mm (0.19 in) in diameter in the wall according to the drilling template and then place the dowels provided into the boreholes.
If you must drill holes in a wall, insert screws into a wall or lever up a wall, ensure that no cables or mains (gas, water, etc.) are to be found in the wall.

If the wall of the house is made of wood, dowels are not normally required. There are special dowels for assembling the device on an insulating wall, e.g. Fischer insulating dowels.
4.1 ASSEMBLING THE FRONT PANEL
Remove the front panel with the attached Main Electrical Unit carefully from the mounting housing (backbox) using the screw driver provided.
We have designed the front panel and safety screws in a way that they cannot be screwed through the front panel so that they do not fall off / get lost during installation.
D1101V D1102V
Turn the safety screws counter-clockwise until they are loose.


Pull the front panel with attached Main Electrical Unit out of the mounting housing (backbox).
D1101KH
Turn the safety screws counter-clockwise until they are loose.


Pull down the front panel. Pull the front panel with attached Main Electrical Unit out of the mounting housing (backbox).
4.2 MOUNTING
Lead all cables and wires you want to connect to the device through the mounting housing.
Flush-mounted models

Surface-mounted models
Before mounting: Pierce through the middle of the rubber seal for the cable entry using a screwdriver.

Screw the wall-mounting bracket of the mounting housing to the wall.
Flush-mounted models

Please make sure that the outer frame of the flush-mounted housing rests on the outside of the wall and that the edge of the flush-mounted housing is sealed all around against moisture from the outside.
Surface-mounted models

[5] NETWORK CONNECTION OPTIONS
You can connect the device to the network by either using a WiFi 2.4 GHz connection (only for D1101V and D1102V) or a network cable.

OPTION 1
Network cable
(recommended, maintenance free)
Install a network cable (which is plugged into a network switch / router with Internet access) from the inside of your building to the assembly location. The network cable between the assembly location and the network switch / router can have a maximum length of 80 m/262 ft (IEEE 802.3). If you must span a distance of more than 80 meters/262 feet you can put a network switch in between.
If you have only two wires available at the assembly location, you may use the “DoorBird 2-Wire Ethernet PoE Converter A1071”, sold separately. It allows you to transfer network data (Ethernet) and power (PoE) with a simple two-wire cable over long distances. For example, existing buildings with a simple two-wire bell wire can be equipped with network technology without having to retrofit any network cables.


OPTION 2
WiFI 2.4 GHz
(only for D1101V and D1102V)
For reasons of network stability, we principally recommend using a network cable, as WiFi is sensitive to interference (range, house walls acting as shields, reliability of performance, third party WiFi networks, wireless transmitters causing interference in the area, etc.).
When using WiFi please make sure you have a good WiFi signal at the assembly location of the device. You can increase the WiFi signal by using so called “WiFi repeaters”, which can boost your WiFi signal. You should install such a WiFi repeater close to the assembly location of the device, typically inside your home and close to the device.
[6] PREPARE POWER SUPPLY
The device does not have a battery as power supply, therefore, choose one of the following options.

OPTION 1
Power supply using the power supply unit (mains adaptor)
To power the device using the provided mains adapter, 2 insulated wires are required. The power supply unit has a 300 cm (9.8 ft) long cable with two insulated wires. The network connection is then established via a network cable or alternatively via WiFi.
The provided mains adaptor is only capable to power one device. It is not designed to power multiple devices simultanously.
If you must power more than one device with one power supply, we recommend to use a PoE-Switch with PoE Standard IEEE 802.3af Mode A or an appropriate DIN rail power supply (see “OPTION 3”).
Do not plug the power supply unit into the wall socket yet.
Only use the power supply unit provided along with the device, or a DIN-rail power supply unit (see “OPTION 3”) that you can obtain from us separately, since this has been specially stabilized electrically and is equipped with an integrated audio interference reduction device. Other power supply units may destroy the device or cause poor transmission quality. The warranty automatically expires if you use a different power supply unit.
The power supply unit is plugged into a wall socket inside your house (Step 10), usually where the two wires from your assembly location come out of the wall in the interior of the house.
The provided mains adapter is not outdoor-ready, it is for indoor-use only.

OPTION 2
Power supply and network connection using PoE (Power over Ethernet)
To power the device via a PoE-Switch (e.g. D-Link DGS-1008P) or PoE-Injector (e.g. DoorBird Gigabit PoE Injector A1091), use a CAT.5 cable or higher in accordance with the PoE standard IEEE 802.3af Mode A.
A CAT.5 cable or higher must be used for this purpose, as network signals can only be transmitted over completely insulated, shielded and twisted cables. If you use PoE as a source of power, the four wires for PoE then simultaneously form the data line. The device will not start if your PoE-Switch/ PoE-Injector does not support the PoE Standard IEEE 802.3af Mode A.
If you must power more than one device with one power supply , we recommend to use a PoE-Switch with PoE Standard IEEE 802.3af Mode A or an appropriate DIN rail power supply (see “OPTION 3”).
Theoretically (not recommended by us!), an unshielded, but over the whole length (max. 80 m/262 ft) twisted bell wire with two pairs of wires (first twisted pair of wires: “T+, T-“, second twisted pair of wires “R+, R-“) can be used for the network and PoE transmission as an alternative to a Cat.5 network cable or better. This is comparable to a Cat.3 network cable. In this case, however, we cannot guarantee the data throughput or the stability of the network connection and power supply; this must be measured and checked on site by qualified personnel over several hours (network data is transmitted at high frequency, therefore a shielded Cat.5 network cable twisted in pairs or better must normally be used).
Do not combine the power supply from the power supply unit (mains adaptor) with the power supply via PoE.
You can find further information about PoE here: http://www.doorbird.com/poe

- Disconnect the PoE-Switch or PoE-Injector from the power grid.
- Place the network cable in the installation site of the device.

OPTION 3
Power supply using a DIN rail power supply unit
Alternatively to the mains adapter, we offer DIN rail power supplies in our online shop, which can be installed by a specialist. The network connection is then made via a network cable or alternatively via WiFi.
If you must power more than one device with one power supply, we recommend to use a PoE-Switch with PoE Standard IEEE 802.3af Mode A or an appropriate DIN rail power supply.
[7] CONNECTING THE DEVICE
It is possible to connect the cables and wires to the device conveniently and safely via the labeled screw connection terminal. You can connect all necessary cables and wires to the device now.
For easier installation we strongly recommend to remove the plug from screw connection terminal while you connect the cables and wires.
Please remove any cables and wires from the connection ports of the device that you do not need.

| Port | Description | |
| LAN/POE | ![]()
| The device does not have an integrated standarized RJ45 socket to ensure … • that the device rests as flat as possible on the wall. • that no wall needs to be levered up. • that a strong and inflexible Cat.6 or Cat.7 installation cable can be used.Use only four wires (1, 2, 3 and 6) of a standard Network cable Cat.5 or better, coming from the Internet Router/PoE-Switch/PoE-Injector. Cat.5 / Cat.6 Network cable Cat.7 Network cable (Installation cable)
|
| R1, R1
| ![]()
| Bi-stable latching relay #1, max. 24 V DC/AC, 1 A. Security feature: The relay keeps its state even in the case of loss of power. You can configure the default state of the relay (open/close) via the DoorBird App. These ports can be used to connect e.g. an electric door opener. The device does not supply power to the connected device. The power supply for the electric door opener must be installed separately.
|
| E1, E1 | ![]() | Digital input (0 V, 0 A (NO)), for door opener button, max. 0 V DC/AC, 0 A. These ports can be used to connect e.g. a door opener button inside the home. It will can trigger the bi-stable latching relay of the device (R1, R1) Please make sure to add no voltage on these ports. Extra voltage may destroy the device immediately. |
| 15 VDC – | ![]() | 15 V DC Power supply input, negative pole (-). Please connect the black wire of the power supply unit (mains adaptor) supplied with this device if you do not power the device using PoE.
|
| 15 VDC + | 15 V DC Power supply input, positive pole (+). Please connect the red wire of the power supply unit (mains adaptor) supplied with the device here, if you do not power the device using PoE.
| |
| COM1 | Jack for authorized peripherals of Bird Home Automation which will be released in the future, e.g. keypad | |
| CB2 | Jack for second call button. | |
| CB1 | Jack for first call button. |
The jacks “CB1”, “CB2” and “COM1” on the rear side of the Main Electrical Unit must only be used to connect components certified by Bird Home Automation.
| CALL BUTTON PORT | ![]() | |
| SWITCH (4 PIN) | Use the four wire call-button cable provided to connect the call-button to the Main Electrical Unit (already connected in delivery condition to the jack “CB1″/ “CB2”). | |
Please take care when connecting the cables and wires. Connecting the cables and wires the wrong way NOTICE may damage the device. Wires without insolation material must not protrude out of the green screw connection terminal, it may lead to electrical short and damage the device.
[8] ASSEMBLE THE DEVICE TO THE MOUNTNG HOUSING (BACKBOX)
Assemble the front panel with the attached Main Eletrical Unit carefully using the screwdriver provided to the mounting housing.
D1101V D1102V



D1101KH


Turn the safety screws clockwise until they are firmly tightened.
Tighten the safety screws by hand only (less than 5 newton meter [Nm]), otherwise the Main Eletrical Unit housing may be damaged.
If any of the black foam rubber gasket under the front panel protrudes, you can carefully press it in with the triangle tool provided in the small parts bag. Please do not press too hard, so that the gasket is not pressed too far into the inside of the housing and the unit will have a leak.


























