![]()
Installation Manual
IP Video Door Station
D21x Series

VERSION 2.2, MIN. HW 1.50
INSTALLATION MANUAL
Read these instructions carefully before starting to use any components. Keep the manual so you can refer to it at a later date if required. If you hand over the device to other persons for use, please hand over the operating manual as well.
You can always find the most up-to-date version of the installation manual on www.doorbird.com/support
To make things easier we use the term “device” for the product “IP Video Door Station” and “mobile device” for a smartphone or tablet.
Liability
Every care has been taken in the preparation of this document. Please inform Bird Home Automation GmbH of any inaccuracies or omissions. Bird Home Automation GmbH cannot be held responsible for any technical or typographical errors and reserves the right to make changes to the product and manuals without prior notice. Bird Home Automation GmbH makes no warranty of any kind with regard to the content of this document, including, but not limited to, the implied warranties of merchantability and fitness for a particular purpose. Bird Home Automation GmbH shall neither be liable nor responsible for incidental or consequential damages in connection with the furnishing, performance or use of this material. This product is only to be used for its intended purpose.
Equipment Modifications
This equipment must be installed and used in strict accordance with the instructions given in the user documentation. This equipment contains no components that require service by the user. Unauthorized equipment changes or modifications will invalidate all applicable regulatory certifications and approvals.
Symbols used
Danger: Indicates a hazardous situation which, if not avoided, will result in death or serious injury.
Warning: Indicates a hazardous situation which, if not avoided, could result in death or serious injury.
Caution: Indicates a hazardous situation which, if not avoided, could result in minor or moderate injury.
Notice: Indicates a situation which, if not NOTICE avoided, could result in damage to property.
Important: Indicates significant information which is essential for the product to function correctly.
Note: Indicates useful information which helps in getting the most out of the product.
Hazard information
WARNING
- Mounting, installation and servicing work on electrical devices may only be performed by a qualified eletrician. Failure to observe this regulation could result in the risk of serious damage to health or fatal injury due to electric shocks.
- Devices with 110-240 V connection: The device may only be connected to an easily accessible power socket outlet. The mains adapter must be pulled out if a hazard occurs.
- For power supply, only use the original plug-in mains adapter delivered with the device or a recommended PoE-Switch/PoE-Injector as specified in this manual.
- Because of electrostatic charging, direct contact with the circuit board can result in destruction of the device. Direct contact with the circuit board must therefore be avoided at any time.
- Observe the EN 60065 resp. EN 60950 resp. EN 62368 standard.
- Do not use the device if there are signs of damage to the housing, control elements or connecting sockets, for example, or if it demonstrates a malfunction. If you have any doubts, please have the device checked by an authorized expert.
- Do not open the device. This voids the warranty of the device. The device does not contain any parts that can be maintained by the user. In the event of an error, please have the device checked by an authorized expert.
- For safety, approval and licensing reasons (CE/FCC/IC etc.), unauthorized change and/or modification of the device is not permitted.
- The device is not a toy; do not allow children to play with it. Do not leave packaging material lying around. Plastic films/bags, pieces of polystyrene, etc. can be dangerous in the hands of a child.
- Always lay cables in such a way that they do not become a risk to people and domestic animals.
- Voltage is applied to parts within the equipment. Do not touch any parts that are not associated with the installation, wiring, or connection. Electric shock could result.
- On devices which are not marked as weather-proof: Keep the device away from water or any other liquid.
- Do not install or make any wire terminations while power supply is plugged in. It can cause eletric shock or damage to the device.
- Before turning on power, make sure wires are not crossed or shorted. If not, fire or eletric shock could result.
- High voltage may be present internally.
Do not open the device. Electric shock could result. - The device is not of explosion-proof. Do not install or use near gases or flammable materials. Fire or explosion could result.
- Do not install two power supplies in parallel to a single input. Fire or damage to the device could result. Be sure to connect a single power supply to the device.
- Do not connect any terminal on the device to an AC power line. Fire or electric shock could result.
- Keep AC cord from being marred or crushed. If the AC cord is fractured, fire or electric shock could result.
- Do not plug or unplug with wet hands. Electric shock could result.
- Do not put any metal or flammable material into the device. Fire, electric shock, or device trouble could result.
- Existing wiring may contain high voltage AC electricity. Damage to the device or electric shock could result. Wiring and installation must be done by a qualified eletrician.
- When mounting the device on a wall or ceiling, install the device in a convenient location, but not where it could be jarred or bumped. Injury could result.
- On devices with ground terminals, connect to an earth ground. Otherwise fire or malfunction could result.
- On devices with plastic or real glass, do not put high pressure on the glass. If fractured, injury could result.
- On devices with LCD, if LCD is punctured, do not allow contact with the liquid crystal inside. Injury could result. If necessary, gargle your mouth and clean your eyes or skin with clear water for at least 15 minutes and consult your doctor.
- Do not put anything on the device or cover the device with cloth, silicone, glue, coating, separate covering etc. Fire or device issues could result.
- Do not install the device in any of the following locations. Fire, electric shock, or device trouble could result.
– Places under direct sunlight or places near heating equipment that varies in temperature.
– Places subject to dust, oil, chemicals, hydrogen sulfide (hot spring).
– Places subject to moisture and humidity extremes, such as bathrooms, cellars, greenhouses, etc.
– Places where the temperature is very low, such as inside a refrigerated area or in front of an air conditioner.
– Places subject to steam or smoke (e.g. near heating or cooking surfaces).
– Where noise generating devices such as dimmer switches or inverter electrical appliances are closeby.
– Locations subject to frequent vibration or impact. - On devices with intercom, be sure to perform a call test with low audio volume on both intercom devices. A sudden call etc. may arrive causing for example damage to your ear.
- If the device does not operate properly, unplug the power supply.
- All devices which are not marked as weat her-proof are designed for indoor use only. Do not use outdoor.
- On devices which are marked weather-proof: Do not spray with high-pressure water. Device issues could result.
- We do not assume any liability for damage to property or personal injury caused by improper use or the failure to observe the hazard information. In such cases, any claim under warranty ceases. For consequential damages, we assume no liability!
Safety instructions
![]()
- The device shall be used in compliance with local laws and regulations.
- Store the device in a dry and ventilated environment.
- Avoid exposing the device to shocks or heavy pressure.
- Do not install the device on unstable brackets, surfaces or walls. Make sure the material is strong enough to support the weight of the device.
- Use only applicable tools when installing the device. Using excessive force with tools could cause damage to the device.
- Do not use chemicals, caustic agents, or aerosol cleaners.
- Use a clean dry cloth for cleaning.
- Use only accessories that comply with technical specification of the device. These can be provided by Bird Home Automation GmbH.
- Use only spare parts provided by or recommended by Bird Home Automation GmbH.
- Do not attempt to repair the device by yourself. Contact Bird Home Automation GmbH for service matters.
- Keep the device more than 1 m (3.3′) away from microwave, radio, TV, wireless router and any other wireless devices.
- On devices with intercom or built-in speaker or built-in microphone or signal transmission functions, keep the wires more than 30 cm (12″) away from AC 100-240 V wiring. AC induced noise and/or device malfunction could result.
- Install the device in an area that will be accessible for future inspections, repairs and maintenance.
- If the device is used close to a cellular phone, the device may malfunction.
- The device can be damaged if dropped. Handle with care.
- The device turns inoperative during power failure.
- On devices with intercom or built-in speaker or built-in microphone, in areas where cellular or Radio / TV broadcasting station antennas are closeby, the device may be affected by radio frequency interference.
- On devices with LCD screen, it must be noted in advance that the LCD panel, though manufactured with very high precision techniques, inevitably will have a very small portion of its picture elements always lit or not lit at all. This is not considered a device malfunction.
- On devices with intercom, due to the environmental sound around the device, it may hinder smooth communication, but this is not a malfunction.
- On devices with Username/Password, the Username/Password to access the device is the customer’s responsibility. Make sure to use password that cannot be easily guessed by a third party. We recommend that you change the Password on a regular basis.
- We will, under no circumstances, be liable for damage that occurs due to failures in power supply, network equipment or terminal devices; failures due to Internet providers and cellular network providers; failures such as disconnected lines and other losses in communication, which makes it impossible to provide this service as well as in any way delay this service due to any other causes outside of our responsibility; or if an error or missing data occurs during transmission.
Transportation
![]()
When transporting the device, use the original packaging or equivalent to prevent damage to the device.
Warranty Information
For information about the device warranty, see www.doorbird.com/warranty
Front

1) HDTV Video
2) Light Sensor
For night-vision mode
3) Security screws
4) Motion Sensor
5) Illuminated call button with nameplate
The illumination is also acting as Diagnostic LED(s).
6) Night Vision LEDs
7) Microphone
8) Loudspeaker
9) RFID Reader
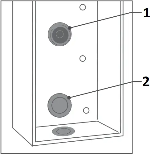
Inside

1) Main Electrical Unit
2) Yellow cable for call button
Connected to the illuminated call button with nameplate
3) Red cable for Module Port 1(unused)
4) Green cable for Module Port 2 (unused)
5) Screw connection terminal
6) LAN/PoE jack
7) Nylon cord
To secure the front panel during assembly
Front

1) HDTV Video
2) Light Sensor
For night-vision mode
3) Security screws
4) Motion Sensor
5) Illuminated call buttons with nameplate
The illumination is also acting as Diagnostic LED(s).
6) Night Vision LEDs
7) Microphone
8) Loudspeaker
9) RFID Reader
Inside

1) Main Electrical Unit
2) Velcro tape 1
To fix the Multi Tenant Module temporary on the Main Electrical Unit during assembly
3) Yellow cable for call button (unused)
4) Red cable for Module Port 1
Connected to Multi Tenant Module
5) Green cable for Module Port 2 (unused)
6) Screw connection terminal
7) LAN/PoE jack
8) Nylon cord
To secure the front panel during assembly
9) Velcro tape 2 To fix the Multi Tenant Module permanently on the backbox

10) DoorBird Multi Tenant Module MTM18A
DEVICE EXAMPLE WITH DISPLAY MODULE AND KEYPAD MODULE
Front

1) Night Vision LEDs
2) HDTV Video
3) Microphone
4) Light Sensor
For night-vision mode
5) Security screws
6) Loudspeaker
7) RFID Reader
8) Motion Sensor
9) Display Module
10) Keypad Module
The illumination is also acting as Diagnostic LED(s)
Inside

1) Main Electrical Unit
2) Yellow cable for call button (unused)
3) Red cable for Module Port 1
Connected to the Keypad Module
4) Green cable for Module Port 2
Connected to the Display Module
5) Screw connection terminal
6) LAN/PoE jack
7) Nylon cord
To secure the front panel during assembly
DEVICE EXAMPLE WITH INFO MODULE AND KEYPAD MODULE
Front

1) Night Vision LEDs
2) HDTV Video
3) Microphone
4) Light Sensor
For night-vision mode
5) Security screws
6) Loudspeaker
7) RFID Reader
8) Motion Sensor
9) Info Module
10) Keypad Module
The illumination is also acting as Diagnostic LED(s)
11) Illuminated call button with nameplate
The illumination is also acting as Diagnostic LED(s).
Inside

1) Main Electrical Unit
2) Yellow cable for call button (unused)
3) Red cable for Module Port 1
Connected to the Keypad Module
4) Green cable for Module Port 2
Connected to the Info Module
5) Screw connection terminal
6) LAN/PoE jack
7) Nylon cord
To secure the front panel during assembly
VIDEOS
Need help with the installation? Be sure to watch our installation videos which can be found on http://www.doorbird.com/support
Each individual step of the installation is clearly documented in the videos.
INSTALLATION
All the steps below should be carried out carefully by a competent adult, taking into consideration any applicable safety regulations. Please contact us directly or seek the advice of a compeent specialist.
Please ensure that all wires used for the installation are undamaged along their entire length and approved for this type of use.
Network speed and network components
Please ensure that the upload speed of your Internet connection is at least 0.5 Mbps. You can also carry out a speed test at any time via the DoorBird App. The user experience is only as good as your network speed, network stability and quality of your network components, such as your Internet Router and WiFi access points or WiFi repeaters. Please also make sure that your network components are no older than two years old, have been manufactured by a well-known manufacturer, and have the latest firmware installed.
Should these requirements not be fulfilled, it may occur, for example that the performance of audio and video is poor or push notifications are delayed or do not arrive on your smartphone or tablet at all.
Requirements:
High-speed Internet (via landline): DSL, cable or optical fibre
Network: Ethernet, with DHCP
STEP 1: SWITCHING OFF POWER
Switch off the power to all wires leading to the assembly location, i.e. the door chime, electric door opener, power supply unit for the video door station etc.
STEP 2: DISMANTLING THE EXISTING DOORBELL
Should there already be a doorbell or door station on the exterior wall of the house, please dismantle it.
STEP 3: DETERMINING THE ASSEMBLY LOCATION
The device uses an ultra wide-angle hemispheric lens so that even when the person is a minimum distance of 50 cm (19.68 in) away from the device, a low installation height is sufficient. The lens is therefore not mechanically adjustable. The camera lens should be located at an altitude of at least 145 cm (57 in). You may check this prior to the final mounting.
When choosing the assembly location, consider the lighting conditions. Avoid direct sunlight, direct backlight and reflective surfaces.
Do not expose the device to direct sunlight. NOTICE The housing temperature can exceed the maximum allowed temperature limit. This can result in damage of electric and mechanic components of the device and injuries especially when touching exterior parts of the device. White and bright silver-colored front plates absorb less sunlight than dark ones.
An image sensor must not be exposed to NOTICE direct sunlight for an extended period of time. Direct sunlight will “blind” the camera and may permanently bleach the small color filters on the image sensor chip.
Any defects caused by direct sunlight are not covered by warranty.
The network cable between the device and the PoE-Switch/PoE-Injector/Internet Router can have a maximum length of 80 meters/262 feet (IEEE 802.3).
If you have only two wires available at the assembly location, you may use of the “DoorBird 2-Wire Ethernet PoE Converter A1071”, sold separately. It allows you to transfer network data (Ethernet) and power (PoE) with a simple two-wire cable over long distances. For example; existing buildings with a simple two-wire bell wire can be equipped with network technology without having to retrofit any network cables.
STEP 4: REMOVING THE FRONT PLATE
Remove the front plate carefully using the screw driver provided with the device from the mounting housing (backbox).

1.) Turn out the security screws for 1 cm

2.) Pull down the front panel.

3.) Pull the front panel towards you.
STEP 5: ASSEMBLING THE MOUNTING HOUSING
Assemble the mounting housing (backbox) to the wall. You can find detailed drawings and measurements of the device in the corresponding datasheet.
If you must drill holes in a wall, insert screws into a wall or lever up a wall, ensure that no cables or mains (gas, water, etc.) are to be found in the wall.
Mounting the surface-mounted housing

- Rubber seal for cable entry
- Cover for unused openings
Place the rubber seal for the cable entry on the mounting opening.

Pierce through the middle of the rubber seal using a screwdriver.

Feed all cables and wires that you want to connect to the device through the rubber seal.
STEP 6: POWER SUPPLY OPTIONS
The device can be powered using the power-supply unit (mains adaptor) supplied with it (Option 1) or via PoE (Power over Ethernet) using a network cable (Option 2). The device can be alternatively also be supplied with power using a DIN-rail power supply unit that you can obtain direclty from us.
The device does not use battery power.

OPTION 1:
POWER SUPPLY USING THE POWER SUPPLY UNIT (MAINS ADAPTOR)
The power supply unit (mains adaptor) supplied with the device has a 300 c m long cable with two insulated wires.
Do not plug the power supply unit into the NOTICE wall socket yet. Only use the power supply unit provided along with the device, or a DIN-rail power supply unit that you can obtain from us separately, since this has been specially stabilized electrically and is equipped with an integrated audio interference reduction device. Other power supply units may destroy the device or cause poor transmission quality. The warranty expires automatically if you use a different power supply unit.

OPTION 2:
POWER SUPPLY AND NETWORK CONNECTION USING POE (POWER OVER ETHERNET)
To power the device via a PoE-Switch (e.g. D-Link DGS-1008P) or PoE-Injector (e.g. DoorBird Gigabit PoE Injector A1091) in accordance with the PoE standard IEEE 802.3af Mode A, the four wires bearing the numbers 1, 2, 3 and 6 of a Cat.5 cable or better are to be used. A Cat.5 cable or better must be used as network signals can only be transmitted over completely insulated, shielded and twisted cables. If you use PoE as a source of power the four wires for PoE then simultaneously form the data link. The device won’t start if your PoE-Switch/PoE-Injector does not support the PoE Standard IEEE 802.3af Mode A (see Diagnostic-LED and Diagnostic-Sounds).

- Disconnect the PoE-Switch or PoE-Injector from the power grid.
- Run the network cable to the installation location of the device.
STEP 7: CONNECTING THE DEVICE
It is possible to connect the cables and wires to the device conveniently and safely via labelled connection ports. You can connect all necessary cables and wires to the device now. Please remove any cables and wires from the connection ports of the device that you do not need. Remove about 5 mm of insulation material at the end of the wires that you would like to connect to the green screw connection terminal of the device.
Please take care when connecting the cables NOTICE and wires. Connecting the cables and wires the wrong way may damage the device. Wires without insolation material must not protrude out of the green screw connection terminal, it may lead to electrical short and damage the device.
The yellow, green, and red cables that lead NOTICE out from the side of the Main Electrical Unit must only be used to connect components certified by Bird Home Automation.
Handle the front plate with care. The surface of the front plate could be scratched or otherwise damaged if handled without care.

You can use the nylon cord to temporary fix the front plate to the mounting housing (backbox) while connecting the cables and wires to the device.

- Only related for devices with call button(s)
Each Call Button is equipped with one jack.
| PORT | DESCRIPTION |
| LAN/POE | RJ45 jack to connect a standard Network cable Cat.5 or better, coming from the Internet Router/PoE-Switch/PoE-Injector. |
| REL1, REL1
| Bi-stable latching relay #1, max. 24 V DC/AC, 1 Ampere. Security feature: The relay keeps its state even in the case of loss of power. You can configure the default state of the relay (open/close) via the DoorBird App. These ports can be used to connect e.g. an electric door opener. The device does not supply power to the connected device. The power supply for the electric door opener must be installed separately. When wiring an electric door opener directly to a door station, there is a risk that the electric door opener could be tampered by unauthorized third parties (e. g. by breaking the door station and short-circuiting the wiring of the door opener). Therefore, we generally recommend the use of a remote safety relay mounted indoors (e. g. DoorBird I/O Door Controller A1081) for wiring an electric door opener for a more secure installation in your home. |
| REL2, REL2
| Bi-stable latching relay #2, max. 24 V DC/AC, 1 Ampere. Security feature: The relay keeps its state even in the case of loss of power. You can configure the default state of the relay (open/close) via the DoorBird App. These ports can be used to connect e.g. an electric door opener. The device does not supply power to the connected device. The power supply for the electric door opener must be installed separately. When wiring an electric door opener directly to a door station, there is a risk that the electric door opener could be tampered by unauthorized third parties (e. g. by breaking the door station and short-circuiting the wiring of the door opener). Therefore, we generally recommend the use of a remote safety relay mounted indoors (e. g. DoorBird I/O Door Controller A1081) for wiring an electric door opener for a more secure installation in your home. |
| BELL, BELL | |
| EXT, EXT
| Door opener button, max. 0 V DC/AC, 0 Ampere. These ports can be used to connect e.g. a door opener button inside the home. It will trigger the first bi-stable latching relay of the device (REL1, REL1). |
| 15 VDC – | 15 V DC Power supply input, negative pole (-). Please connect the black wire of the power supply unit (mains adaptor) supplied with the device here, if you do not power the device using PoE. |
| 15 VDC + | 15 V DC Power supply input, positive pole (+). Please connect the red wire of the power supply unit (mains adaptor) supplied with the device here, if you do not power the device using PoE. |
Only related for devices with call button(s): | |
| 4 PIN (SWITCH) | Use the yellow cable to connect the button to the IP Video Door Station. |
Please take care when connecting the cables and wires. Connecting the cables and wires the wrong way may damage the device. Wires without insolation material must not protrude out of the green screw connection terminal, it may lead to electrical short and damage the device.
The yellow, green, and red cables that lead out from the side of the Main Electrical Unit must only be used to connect components certified by Bird Home Automation.
STEP 8: ASSEMBLING THE FRONT PLATE
Assemble the front plate of the device to the mounting housing (backbox) of the device.

1.) Pull the front panel into the mounting housing (backbox)

2.) Push the front panel up

3.) Insert the security screws.
STEP 9: ACTIVATING THE DEVICE
Switch on the power leading to the assembly location again. If you use PoE, make sure to switch on power of the PoE-Switch or PoE-Injector you have connected the device to.
Do not power the device simultaneously via NOTICE the power supply from the power supply
unit (mains adaptor) and the power supply via PoE.
You can see if the device is powered by checking the Diagnostic-LED, which lights up after about 30 to 60 seconds after the power is connected. The device is ready for operation (booting up process, any software updates, etc.) once it has emitted a short diagnosis sound from the integrated loudspeaker. This may last for up to 5 minutes. If the Diagnostic LED does not light up, please check the power supply. Please also check whether you have used a wall-plug power supply and not PoE and whether you have connected the positive pole and negative pole to the device correctly.
STEP 10: DOWNLOADING AND INSTALLING THE APP
Download the “DoorBird” App by Bird Home Automation onto your mobile device from the Apple App Store or Google Play Store. You can always find the most up-to-date version of the App manual on www.doorbird.com/support
Go to DoorBird App “Settings > Add device” and click on the QR code icon in the “User” field. Scan the user QR code found on the “Digital Passport” provided with the device.
If you have problems adding the device to the App please check if the device is online (www.doorbird.com/checkonline). If the device is not online, please check the network connection and the power supply of the device.
DIAGNOSTIC-LED
You can see if the device is powered by checking the Diagnostic-LED, which lights up after about 30 to 60 seconds after the power is connected.
DIAGNOSTIC-SOUNDS
After around one to five minutes, the device emits brief diagnostic sounds after it has been connected to the power grid.
MOTION SENSOR
The device has a built-in Motion Sensor with 4D Technology. You can use it for numerous applications, e. g. to send an alarm to a mobile device or to switch a relay to turn on an outdoor light.
RFID READER
The built-in RFID reader can be used for many applications, e.g. to open/lock doors or arming/ disarming your alarm system. For security reasons, the RFID reader has a very short range (0 – 3 cm, 0 – 1.18 in), so you must place the compatible RFID tag (key fob) very close to the RFID reader. You can configure the RFID reader using the DoorBird App.
The RFID reader works only on short distance, for security reasons.
API
The device features a well documented API for third-party integration. For information, terms and conditions see www.doorbird.com/api
DOORBIRD CONNECT
The device features many options to integrate it into third-party applications. For information, terms and conditions see www.doorbird.com/connect
Applies only to devices with 1 and more illuminated call buttons with nameplate.
Engraving Service
Engraving service for a modern and clean appearance: www.doorbird.com/engraving
Please follow STEP 1 to switch off power. We recommend to use a thin slot screwdriver to remove the cover of the nameplate. We recommend to use white paper for the label which does not absorb moisture.


CHANGING THE LABEL OF THE INFO MODULE
Applies only to devices with Info Module.
Please follow STEP 1 to switch off power and STEP 2 to open the device. You can then change the labeling of the Info Module in the inside. We recommend to use white paper for the label which does not absorb moisture.
Applies only to devices with 2 and more illuminated call buttons with nameplate.
Connect only call buttons to the Multi Tenant Module (e.g. Multi Tenant Module MTM18A) certified by Bird Home Automation.

(1) = 1. call button jack
(18) = 18. call button jack
MAINTENANCE FOR DOORBIRD PRODUCTS
Cleaning and maintenance instructions
All DoorBird door stations are made of high-quality materials and are designed for a durable lifetime. Since door stations are usually installed in unprotected outdoor areas, they are exposed to adverse weather conditions and aggressive substances, especially close to frequently used roads, in coastal and industrial areas. Therefore please consider the following care instructions. Unfortunately, we cannot accept any liability for damage if these instructions are not being observed.
Aggressive dirt such as bird droppings should be removed as quickly as possible.
Never use abrasive detergents such as steel NOTICE wool or scouring milk!
Warm water is usually sufficient, if necessary with a little detergent, a soft cloth or brush. Plastic parts (camera or name tags) must not be treated with metal care products. Remove all residues of cleaning agents or lubricants to avoid stains or discolouration after the maintenance.
Stainless Steel
Only high-quality German stainless steel is used for all available DoorBird door stations. However, high-quality stainless steel can also rust, as approx. 70% of stainless steel is made of iron. Rust resistance is only achieved by a protective layer (also called passive layer), which covers the iron like a skin. This protective layer consists essentially of chromium and other precious metals.
Iron particles, grinding dust and chips deposited on stainless steel can lead to corrosion (rust film). These iron particles can be found everywhere, but especially in coastal and industrial areas and close to frequently used roads. Please remove ferrous deposits immediately, as they will attack your door station and lead to real rust if not removed. To remove rust, simply wipe off the dust; in addition, a care product is recommended, e.g. WD 40, available e.g. at Amazon for less than 5.00. Simply apply in a thin layer and rub in. The same applies if rust appears on the engravings on the stainless steel surface.
Cement or lime splashes should be carefully removed as soon as possible with a wooden spatula before hardening.
The following cleaning detergents are not to be used as they reduce corrosion resistance:
- products containing chloride and hydrochloric acid
- Bleach (in case of accidental use, rinse thoroughly with water)
- Silver polish
After the cleaning with clear water wipe with damp cloth and rub dry to avoid lime traces. Lime residues can be avoided by using demineralised water.
Stainless steel PVD coated
PVD coated, chrome-plated or gold-plated surfaces are recommended to be cleaned with a grease-dissolving detergent and clear water or with a clean and dust-free microfibre cloth. For high-gloss surfaces, use a scratch-free cloth (e.g. cleaning cloth for glasses, furniture polishing cloth, etc.).
Lacquered surfaces
Clean painted surfaces and lettering with a soft, scratch-free cloth moistened with a mild soap solution (e.g. cleaning cloth for glasses, furniture polishing cloth, etc.). To prevent stains or discolouration, the detergents should be wiped off without leaving any residue. Be particularly careful with lettering in order not to damage the film or the print.
TECHNICAL SPECIFICATIONS
| GENERAL | |
| Power supply | 15 V DC (max. 15 W) or Power over Ethernet (PoE 802.3af Mode-A) |
| Info Module* | 3.5″, illuminated |
| Display Module* | 3.5″ LCD (no touch function), illuminated, for the display of a 2-line free text and the name directory (max. 100 entries) |
| Keypad Module* | 16 keys, illuminated, configurable via App, e.g.
|
| Connectors |
|
| Weather-proof | Yes, IP65 |
| Approvals | IP65, CE, FCC, IC, RoHS, IK08, REACH, IEC/EN 62368, IEC/EN 62471 |
| Operating conditions | -25 to +55°C / -13 to 131°F Humidity 10 to 85 % RH (non-condensing) |
| Scope of delivery | 1x Main Electrical Unit 1x Front panel* 1x Mounting housing (backbox)* 1x Power supply unit (mains adaptor) with four country-specific outlet adaptors (110 – 240 V AC to 15 V DC) 1x RFID key fob 1x Screwdriver 1x Quickstart guide with Digital Passport 1x Installation manual 1x Small parts |
| Warranty | see www.doorbird.com/warranty |
* Only contained in certain models or configurations
| CURRENT SYSTEM REQUIREMENTS | |
| System requirements | Mobile device: Newest iOS on iPhone/iPad, newest Android on Smartphone/Tablet Internet: High-Speed Landline Broadband Internet connection, DSL, cable or fiber optic, no socks or proxy server Network: Ethernet Network, with DHCP |
| Recommended installation height | Camera lens should be at a min. height of 145 cm (57 in). Before the installation please determine your optimal installation height. |
| VIDEO | |
| Camera | HDTV 720p, dynamic (VGA – HDTV) |
| Lens | High-end ultra wide-angle hemispheric lens 180° (D), 140° (H), 100° (V), straightened, IR-capable |
| Night-vision | Yes, light sensor, automatic IR-cut filter, 12 Infrared LEDs (850 nm) |
| AUDIO | |
| Audio components | Speaker and microphone, noise reduction and echo cancellation (ANR, AEC) |
| Audio streaming | Two-way, full duplex |
| NETWORK | |
| Ethernet | RJ45 jack, PoE 802.3af Mode-A, 10/100 Base-T |
| Supported protocols | HTTP, HTTPS, SSL/TLS, Bonjour, DNS, RTSP, RTP, TCP, UDP, RTCP, ICMP, DHCP, ARP, SIP, DTMF (RTP [RFC-2833], SIP INFO [RFC-2976]), STM |
| MOTION SENSOR | |
| Type | Active |
| Detection angle | 54° (H), 70° (V) |
| Range | 1 – 10 m (3.3 – 32.9 ft), depends on environment, configurable in 1 m (3.3 ft) steps. If a “Display Module” is connected to the Main Electrical Unit, the range is limited to 1 m (3.3 ft). |
| Technology | 4D. Based on multiple integrated sensors and algorithms, e.g. Radio Frequency Energy (RFE) |
| Configuration | Via App, e.g.
|
| RFID | |
| Type | Active Reader Passive Tag (ARPT) system |
| Standard | ISO/IEC 18000-2:2009 Part 2, EM4100, EM4102 |
| Frequency | 125 KHz |
| Range | 0 – 3 cm, depends on environment |
| Antenna | Internal |
| Compatible Transponder | RFID key fobs, sold separately, see www.doorbird.com/buy Up to 100 tags manageable |
| Configuration | Via App, e.g.
|
| INTEGRATED WIRELESS MODULES | |
| RFID | 125 KHz |
| Sensor | 24 GHz, can be disabled |
| THIRD-PARTY INTEGRATION (DOORBIRD CONNECT) | |
| Partnerintegrations | see www.doorbird.com/connect |
| API | see www.doorbird.com/api |
| Simultaneous video streams | One, for event-based and continuous recording |
| OPTIONAL ACCESSORIES | |
| Sold separately | see www.doorbird.com/buy |
Errors and omissions excepted.
LEGAL NOTES
General remarks
- DoorBird is a registered trademark of Bird Home Automation GmbH.
- Apple, the Apple logo, Mac, Mac OS, Macintosh, iPad, Multi-Touch, iOS, iPhone and iPod touch are trademarks of Apple Inc.
- Google, Android and Google Play are trademarks of Google, Inc.
- The Bluetooth® word mark and logos are registered trademarks of Bluetooth SIG, Inc.
- All other company and product names may be trademarks of the respective companies with which they are associated.
- We reserve the right to make changes to our products in the interests of technical advancement. The products shown may also look different from the products supplied based on ongoing enhancement.
- Reproducing or using texts, illustrations and photos from this instruction manual in any media – even if only in the form of excerpts – shall only be permitted with our express written consent.
- The design of this manual is subject to copyright protection. We do not accept any liability for any errors or any erroneous content or printing errors (even in the case of technical specifications or within graphics and technical sketches).
- Our products are in compliance with all technical guidelines, electrical and telecommunications regulations applicable in Germany, the EU and the USA.
Data privacy and data security
- For maximum security, the device uses the same encryption technologies as are used in online banking. For your security, no port forwarding or DynDNS is used either.
- The data centre location for remote access over the Internet by means of an App is obligatory in the EU if the determined Internet IP-Address location of the device is within the EU. The data centre is operated in line with the most stringent security standards.
- Video, audio and any other surveillance methods can be regulated by laws that vary from country to country. Check the laws in your local region before installing and using this device for surveillance purposes.
If the device is a door-, indoor station or camera:
- In many countries video and voice signal may only be transmitted once a visitor has rung the bell (data privacy, configurable in the App).
- Please carry out the mounting in such a way that the detection range of the camera limits the device exclusively to the immediate entrance area.
- The device may come with a visitor history and motion sensor. You can activate/deactivate this function if required.
If necessary, indicate the presence of the device in a suitable place and in a suitable form.
Please observe any relevant country-specific statutory regulations concerning the use of surveillance components and surveillance cameras applicable at the installation site.
Check with the property owner and your house community if you are allowed to install and use this product. Bird Home Automation GmbH cannot be held responsible for any miss-use or miss-configuration of this product, including the unauthorized opening of a door.
Bird Home Automation cannot be held responsible for damages caused by improper existing installations or improper installation.
Software and operating system’s updates (so-called “firmware updates”) are generally automatically installed on the products of Bird Home Automation GmbH via Internet, if technically possible. Automatic firmware updates keep the products’ software up to date so that they always work reliably, safely and efficiently. Through further development, features can be added, extended or slightly changed. Major changes or limitations to existing features will generally occur if Bird Home Automation GmbH deems it necessary (e.g. for data protection, data security or stability reasons, or to keep them up to date). When a firmware update is available, Bird Home Automation GmbH’s servers generally automatically distribute it to all compatible products connected to the Internet or Bird Home Automation GmbH’s servers. This process is gradual and can take several weeks. As soon as a product receives a firmware update, the system will be installed and will restart by itself. Installed firmware updates cannot be undone. Since the products and software of Bird Home Automation GmbH are not explicitly customer-specific products, a customer cannot deny an automatic update if the product is connected to the Internet or to the Bird Home Automation GmbH’s server.
Instructions for disposal
Do not dispose of the device with regular domestic waste. Electronic equipment must be disposed e.g. at local collection points for waste electronic equipment in compliance with the Waste Electrical and Electronic Equipment Directive.
Publisher
Bird Home Automation GmbH
Uhlandstraße 165
10719 Berlin
Germany
Web: www.doorbird.com
Email: [email protected]






















