DS-KD8023-E6 IP Door Station Video Intercom
User Manual
DS-KD8023-E6
D Series Door Station
UD19916B
Diagram References
Appearance

- IR Supplement Light
- Camera
- LCD Display Screen
- Card Reading Area
- Loudspeaker
- Keypad
- Call Button
- Call Center Button
- Microphone
- TAMPER
Note: The appearance of the device vary according to different model. Refers to the actual device.
Terminal
DC 12 V: Power Supply Input
AO1+/AO1- : Alarm Relay Output 1
AO2+/AO2- : Alarm Relay Output 2
NC1/NC2: Door Lock Relay Output (NC)
NO1/NO2: Door Lock Relay Output (NO)
COM1/COM2: Common Interface
AIN1/AIN2/AIN3/AIN4: Alarm Input
BTN1/BTN2: Door Contact Detection Input/Exit Button
SEN1/SEN2: Door Contact Detection Input/Door Contact
485A-: RS-485 Communication Terminal
485A+: RS-485 Communication Terminal
TAMP: Wiegand Card Reader TAMPER
OK: Card Reader Indicator Output (Valid)
ERR: Card Reader Indicator Output (Invaild)
BZ: Card Reader Buzzer Output
W0: Data Input Interface Wiegand Card Reader
W1: Data Input Interface Wiegand Card Reader
RES: Reserved
GND: Grounding
Note: Wiring description refers to the User Manual.
Installation
Before you begin:
- Accessories that you need to prepare for installation: gang box and mounting template.
- Make sure the power supply meet the power requirements of the door station (12 VDC, 1 A).
- Make sure all the related equipment is power-off during the installation.
- Wire the cables before installation.
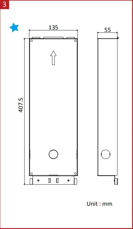
Accessory
The dimension of the gang box is: 407.5 mm(W) × 135 mm(H) × 55 mm(D).
The installation hole should be larger than gang box. The suggested dimension of the installation hole is 408 mm(W) × 135.5 mm(H) × 55.5 mm(D).
Flush Mounting

- Drill an installation hole on the wall.
Note: The size of the hole should be larger than that of the gang box. The suggested size of hole is 408 mm(W) × 135.5 mm(H) × 55.5 mm(D). - Insert the gang box into the hole and fix it with 4 PA4 screws. Make sure the edges of the gang box align to the wall and the hook A and hook B of the gang box hook onto the wall.Route the cables of the door station through the cable hole.
- Insert the door station into the gang box and then move the door station downward to hook the lock catches on the rear panel onto the hook C of the gang box. Fix the door station with 2 PM3 screws.
- After fixing the door station onto the gang box, secure it by inserting the plate and insert 2 POM2 screws.
Configuration
- Activate Device
You are required to activate the device first by setting a strong password for it before you can use the device.- Power on the device to enter the activation page automatically.
- Create a password and confirm it.
- Press # to activate the door station.
Note:
Enter an 8 to 16 characters admin password.
When entering the password, taking the numeric key 2 as example, press the numeric key 2 once, the text field shows “2”, and press it again in 1.5 s, the text field shows “a”, and press it again in 1.5 s, the text field shows “b”, and so on.
Hold 0 to enter special characters.
Press # to confirm the password.
Press * to delete the password during entering.
- Call Resident
The door station can work as main/sub door station, and outer door station, which correspond to different calling resident modes respectively.
Call from Main/Sub Door Station
Press number button to enter the calling page.
Enter the room No. and press call button again to call.
Call from Outer Door Station
Press number button to enter the calling page.
Enter【Building No. + # + Unit No. + # + Room No.】 and press call button to call resident. - Call Center
Press number button to enter the calling page.
Press center button to call. Press * to cancel during calling management center. - Unlock Door
The device support unlock the door by presenting card, entering password, and fingerprint. Here takes unlock by entering password and unlock by presenting card for example.
Note: You should create the password and add the card to the device first.
Unlock by Entering Password
Common Password
Press number button, enter【# + room No. + password + #】 to unlock the door.
Public Password
Note: Create the public password via iVMS-4200 Client Software remotely first.
Press number button, enter【# + public password + #】 to unlock the door.
Unlock by Presenting Card
Present the card on the card reading area to unlock the door.
Refer to Video Intercom D Series Door Station User Manual (scan the QR code) for details.
http://enpinfodata.hikvision.com/analysisQR/showQR/50846236
©2020 Hangzhou Hikvision Digital Technology Co., Ltd. All rights reserved.
About this Manual
The Manual includes instructions for using and managing the Product. Pictures, charts, images and all other information hereinafter are for description and explanation only. The information contained in the Manual is subject to change, without notice, due to firmware updates or other reasons. Please find the latest version of this Manual at the Hikvision website (https://www.hikvision.com/).
Please use this Manual with the guidance and assistance of professionals trained in supporting the Product.
and other Hikvision’s trademarks and logos are the properties of Hikvision in various jurisdictions. Other trademarks and logos mentioned are the properties of their respective owners.
Disclaimer
TO THE MAXIMUM EXTENT PERMITTED BY APPLICABLE LAW, THIS MANUAL AND THE PRODUCT DESCRIBED, WITH ITS HARDWARE, SOFTWARE AND FIRMWARE, ARE PROVIDED “AS IS” AND “WITH ALL FAULTS AND ERRORS”. HIKVISION MAKES NO WARRANTIES, EXPRESS OR IMPLIED, INCLUDING WITHOUT LIMITATION, MERCHANTABILITY, SATISFACTORY QUALITY, OR FITNESS FOR A PARTICULAR PURPOSE. THE USE OF THE PRODUCT BY YOU IS AT YOUR OWN RISK. IN NO EVENT WILL HIKVISION BE LIABLE TO YOU FOR ANY SPECIAL, CONSEQUENTIAL, INCIDENTAL, OR INDIRECT DAMAGES, INCLUDING, AMONG OTHERS, DAMAGES FOR LOSS OF BUSINESS PROFITS, BUSINESS INTERRUPTION, OR LOSS OF DATA, CORRUPTION OF SYSTEMS, OR LOSS OF DOCUMENTATION, WHETHER BASED ON BREACH OF CONTRACT, TORT (INCLUDING NEGLIGENCE), PRODUCT LIABILITY, OR OTHERWISE, IN CONNECTION WITH THE USE OF THE PRODUCT, EVEN IF HIKVISION HAS BEEN ADVISED OF THE POSSIBILITY OF SUCH DAMAGES OR LOSS.
YOU ACKNOWLEDGE THAT THE NATURE OF THE INTERNET PROVIDES FOR INHERENT SECURITY RISKS, AND HIKVISION SHALL NOT TAKE ANY RESPONSIBILITIES FOR ABNORMAL OPERATION, PRIVACY LEAKAGE OR OTHER DAMAGES RESULTING FROM CYBER-ATTACK, HACKER ATTACK, VIRUS INFECTION, OR OTHER INTERNET SECURITY RISKS; HOWEVER, HIKVISION WILL PROVIDE TIMELY TECHNICAL SUPPORT IF REQUIRED.
YOU AGREE TO USE THIS PRODUCT IN COMPLIANCE WITH ALL APPLICABLE LAWS, AND YOU ARE SOLELY RESPONSIBLE FOR ENSURING THAT YOUR USE CONFORMS TO THE APPLICABLE LAW. ESPECIALLY, YOU ARE RESPONSIBLE, FOR USING THIS PRODUCT IN A MANNER THAT DOES NOT INFRINGE ON THE RIGHTS OF THIRD PARTIES, INCLUDING WITHOUT LIMITATION, RIGHTS OF PUBLICITY, INTELLECTUAL PROPERTY RIGHTS, OR DATA PROTECTION AND OTHER PRIVACY RIGHTS. YOU SHALL NOT USE THIS PRODUCT FOR ANY PROHIBITED END-USES, INCLUDING THE DEVELOPMENT OR PRODUCTION OF WEAPONS OF MASS DESTRUCTION, THE DEVELOPMENT OR PRODUCTION OF CHEMICAL OR BIOLOGICAL WEAPONS, ANY ACTIVITIES IN THE CONTEXT RELATED TO ANY NUCLEAR EXPLOSIVE OR UNSAFE NUCLEAR FUEL-CYCLE, OR IN SUPPORT OF HUMAN RIGHTS ABUSES.
IN THE EVENT OF ANY CONFLICTS BETWEEN THIS MANUAL AND THE APPLICABLE LAW, THE LATER PREVAILS.
This product and – if applicable – the supplied accessories too are marked with “CE” and comply therefore with the applicable harmonized European standards listed under the RE Directive 2014/53/EU, the EMC Directive 2014/30/EU, the RoHS Directive 2011/65/EU.
2012/19/EU (WEEE directive): Products marked with this symbol cannot be disposed of as unsorted municipal waste in the European Union. For proper recycling, return this product to your local supplier upon the purchase of equivalent new equipment, or dispose of it at designated collection points. For more information see: www.recyclethis.info
2006/66/EC (battery directive): This product contains a battery that cannot be disposed of as unsorted municipal waste in the European Union. See the product documentation for specific battery information. The battery is marked with this symbol, which may include lettering to indicate cadmium (Cd), lead (Pb), or mercury (Hg). For proper recycling, return the battery to your supplier or to a designated collection point. For more information see: www.recyclethis.info
BATTERY CAUTION replacement of a battery with an incorrect type that can defeat a safeguard (for example, in the case of some lithium battery types);
– disposal of a battery into fire or a hot oven, or mechanically crushing or cutting of a battery, that can result in an explosion;
– leaving a battery in an extremely high temperature surrounding environment that can result in an explosion or the leakage of flammable liquid or gas; and – a battery subjected to extremely low air pressure that may result in an explosion or the leakage of flammable liquid or gas Chemical burning danger
Do not swallow the battery.
Keep new and used batteries away from the children.
If you think batteries might have been swallowed or placed inside any part of the body, seek immediate medical attention.
Risk of explosion if batteri is replaced by an incorrect type.
Replacement of a battery with an incorrect type that can defeat a safeguard.
Dispose of used batteries according to the instructions and local regulation.
If the battery compartment does not close securetyly, stop using the product and keep it away from children.
INSTALLATION CAUTION
The additional force shall be equal to three times the weight of the equipment but not less than 50N. The equipment and its associated mounting means shall remain secure during the installation. After the installation, the equipment, including any associated mounting plate, shall not be damaged. 


![Hikvision Video Intercom Villa Door Station [ads-24s-12 1224gpcn] User Manual Hikvision Video Intercom Villa Door Station [ads-24s-12 1224gpcn] User Manual](https://static-data1.manualsee.com/1/img/266/17650/2020/12/Video-Intercom-Villa-Door-Station.png)













