HIKVISION DS-KV9503-WBE1 Video Intercom Villa Door Station User Guide
![]()
UDB
Diagram References
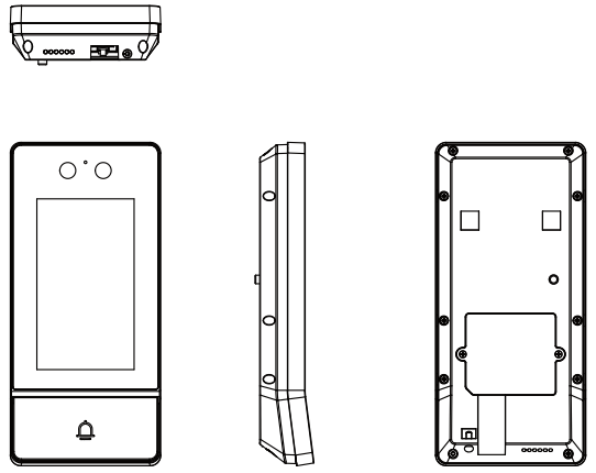
Appearance

- Microphone
- Camera
- Indicator
- Button
- Card Reading Area
- Loudspeaker
- Terminals
- Debugging Port
- TAMPER
- Set Screw
- TF Card Slot
- Network Interface
Note: The debugging port is used for debugging only.
Indicator Description
Unlock: Green
Call: Orange
Communicate: White
Terminal and Wiring

NC: Door Lock Relay Output (NC)
NO: Door Lock Relay Output (NO)
COM: Common Interface
AIN1&AIN2: For the access of Door Contact
AIN3&AIN4: For the access of Exit Button
AUO: Audio Input
485-: RS-485 Interface
485+: RS-485 Interface
12 VDC IN: Power Supply Input
GND: Grounding
Installation Accessory

- Mounting Template
- Mounting Plate
Note: The dimension of the mounting plate is 102.58 mm × 39.24 mm × 6.2 mm.
Installation
Recommended Installation Height (The distance between the camera and the ground): 1.4 m to 1.6 m

Note: Video intercom villa door station supports surface mounting.
Before You Start
- Make sure all related equipments are power-off during the installation.
- Tools that you need to prepare for installation:
Drill (ø2.846) and gradienter. - Purchase the protective shield before installation.
Surface Mounting without Protective Shield

- Stick the mounting template on the wall. Drill screw holes according to the mounting template. Remove the template from the wall.
- Secure the mounting plate on the wall with 4 supplied screws according to the screw holes.
- Install the villa door station to the mounting plate. Fix the device on the mounting plate with the set screw.
Surface Mounting with Protective Shield

- Stick the mounting template on the wall. Drill the screw holes according to the mounting template. Remove the template from the wall.
- Align the protective shield with the mounting template.
- Secure the mounting plate and protective shield on the wall with 4 supplied screws according to the screw holes.
- Install the villa door station to the mounting plate. Fix the device on the mounting plate with the set screw.
Configuration via Web
Activate Device via Web
You are required to activate the device first by settings a strong password before you can use the device.
Default parameters of door station are as follows:
- Default IP Address: 192.0.0.65.
- Default Port No.:8000.
- Default User Name: admin
- Power on the device, and connect the device to the network.
- Enter the IP address into the address bar of the web browser, and click Enter to enter the activation page.
Note: The computer and the device should belongs to the same subnet. - Create and enter a password into the password field.
- Confirm the password.
- Click OK to activate the device.
Note: When the device is not activated, the basic operation and remote configuration of device cannot be performed.
Access to the Device by Web Browsers
- In the browser address bar, enter the IP address of the device, and press the Enter key to enter the login page.
- Enter the user name and password and click Login.
Communicate with Indoor Station
- Click Settings -> Intercom -> Press Button to Call to enter the settings page
- Set the parameters.
– Edit call No. for every button.
– Check Call Management Center to set the button calling center.
Note: If you check Call Management Center and set the call No. as well, call management center has higher privilege than call No. - Press button to call indoor station.
Issue Card
- Click Settings -> Access Control and Elevator Control to enter the settings page.
- Click Issue Card. Present the card on the card reading area.
- When issuing finished, the windows pop up on the settings page.
Note:- Only Mifare card supported, and Mifare card with non-standard shape is recommended.
- Up to 10000 cards can be issued and managed by V series door station. A voice prompt (No more cards can be issued.) can be heard when the issued card amount exceeds the upper limit.
Unlock Door
After issuing cards, you can unlock the door by presenting the issued cards.
Refers to Video Intercom Villa Door Station User Manual (scan the QR code) for details.
Legal Information
© 2020 Hangzhou Hikvision Digital Technology Co., Ltd. All rights reserved.
This Manual is the property of Hangzhou Hikvision Digital Technology Co., Ltd. or its affiliates (hereinafter referred to as “Hikvision”), and it cannot be reproduced, changed, translated, or distributed, partially or wholly, by any means, without the prior written permission of Hikvision. Unless otherwise expressly stated herein, Hikvision does not make any warranties, guarantees or representations, express or implied, regarding to the Manual, any information contained herein.
About this Manual
The Manual includes instructions for using and managing the Product. Pictures, charts, images and all other information hereinafter are for description and explanation only. The information contained in the Manual is subject to change, without notice, due to firmware updates or other reasons. Please find the latest version of this Manual at the Hikvision website (https://www.hikvision.com/).
Please use this Manual with the guidance and assistance of professionals trained in supporting the Product.
Trademarks Acknowledgement
and other Hikvision’s trademarks and logos are the properties of Hikvision in various jurisdictions.- Other trademarks and logos mentioned are the properties of their respective owners.
LEGAL DISCLAIMER
TO THE MAXIMUM EXTENT PERMITTED BY APPLICABLE LAW, THIS MANUAL AND THE PRODUCT DESCRIBED, WITH ITS HARDWARE, SOFTWARE AND FIRMWARE, ARE PROVIDED “AS IS” AND “WITH ALL FAULTS AND ERRORS”. HIKVISION MAKES NO WARRANTIES, EXPRESS OR IMPLIED, INCLUDING WITHOUT LIMITATION, MERCHANTABILITY, SATISFACTORY QUALITY, OR FITNESS FOR A PARTICULAR PURPOSE. THE USE OF THE PRODUCT BY YOU IS AT YOUR OWN RISK. IN NO EVENT WILL HIKVISION BE LIABLE TO YOU FOR ANY SPECIAL, CONSEQUENTIAL, INCIDENTAL, OR INDIRECT DAMAGES, INCLUDING, AMONG OTHERS, DAMAGES FOR LOSS OF BUSINESS PROFITS, BUSINESS INTERRUPTION, OR LOSS OF DATA, CORRUPTION OF SYSTEMS, OR LOSS OF DOCUMENTATION, WHETHER BASED ON BREACH OF CONTRACT, TORT (INCLUDING NEGLIGENCE), PRODUCT LIABILITY, OR OTHERWISE, IN CONNECTION WITH THE USE OF THE PRODUCT, EVEN IF HIKVISION HAS BEEN ADVISED OF THE POSSIBILITY OF SUCH DAMAGES OR LOSS.
YOU ACKNOWLEDGE THAT THE NATURE OF THE INTERNET PROVIDES FOR INHERENT SECURITY RISKS, AND HIKVISION SHALL NOT TAKE ANY RESPONSIBILITIES FOR ABNORMAL OPERATION, PRIVACY LEAKAGE OR OTHER DAMAGES RESULTING FROM CYBER-ATTACK, HACKER ATTACK, VIRUS INFECTION, OR OTHER INTERNET SECURITY RISKS; HOWEVER, HIKVISION WILL PROVIDE TIMELY TECHNICAL SUPPORT IF REQUIRED.
YOU AGREE TO USE THIS PRODUCT IN COMPLIANCE WITH ALL APPLICABLE LAWS, AND YOU ARE SOLELY RESPONSIBLE FOR ENSURING THAT YOUR USE CONFORMS TO THE APPLICABLE LAW. ESPECIALLY, YOU ARE RESPONSIBLE, FOR USING THIS PRODUCT IN A MANNER THAT DOES NOT INFRINGE ON THE RIGHTS OF THIRD PARTIES, INCLUDING WITHOUT LIMITATION, RIGHTS OF PUBLICITY, INTELLECTUAL PROPERTY RIGHTS, OR DATA PROTECTION AND OTHER PRIVACY RIGHTS. YOU SHALL NOT USE THIS PRODUCT FOR ANY PROHIBITED END-USES, INCLUDING THE DEVELOPMENT OR PRODUCTION OF WEAPONS OF MASS DESTRUCTION, THE DEVELOPMENT OR PRODUCTION OF CHEMICAL OR BIOLOGICAL WEAPONS, ANY ACTIVITIES IN THE CONTEXT RELATED TO ANY NUCLEAR EXPLOSIVE OR UNSAFE NUCLEAR FUEL-CYCLE, OR IN SUPPORT OF HUMAN RIGHTS ABUSES.
IN THE EVENT OF ANY CONFLICTS BETWEEN THIS MANUAL AND THE APPLICABLE LAW, THE LATER PREVAILS.
Data Protection
During the use of device, personal data will be collected, stored and processed. To protect data, the development of Hikvision devices incorporates privacy by design principles. For example, for device with facial recognition features, biometrics data is stored in your device with encryption method; for fingerprint device, only fingerprint template will be saved, which is impossible to reconstruct a fingerprint image.
As data controller, you are advised to collect, store, process and transfer data in accordance with the applicable data protection laws and regulations, including without limitation, conducting security controls to safeguard personal data, such as, implementing reasonable administrative and physical security controls, conduct periodic reviews and assessments of the effectiveness of your security controls.
Regulatory Information
FCC Information
Please take attention that changes or modification not expressly approved by the party responsible for compliance could void the user’s authority to operate the equipment.
FCC compliance: This equipment has been tested and found to comply with the limits for a Class B digital device, pursuant to part 15 of the FCC Rules. These limits are designed to provide reasonable protection against harmful interference in a residential installation. This equipment generates, uses and can radiate radio frequency energy and, if not installed and used in accordance with the instructions, may cause harmful interference to radio communications. However, there is no guarantee that interference will not occur in a particular installation. If this equipment does cause harmful interference to radio or television reception, which can be determined by turning the equipment off and on, the user is encouraged to try to correct the interference by one or more of the following measures:
- Reorient or relocate the receiving antenna.
- Increase the separation between the equipment and receiver.
- Connect the equipment into an outlet on a circuit different from that to which the receiver is connected.
- Consult the dealer or an experienced radio/TV technician for help.
This equipment should be installed and operated with a minimum distance 20cm between the radiator and your body.
FCC Conditions
This device complies with part 15 of the FCC Rules. Operation is subject to the following two conditions:
- This device may not cause harmful interference.
- This device must accept any interference received, including interference that may cause undesired operation.
EU Conformity Statement
This product and – if applicable – the supplied accessories too are marked with “CE” and comply therefore with the applicable harmonized European standards listed under the EMC Directive 2014/30/EU, the LVD Directive 2014/35/EU, the RoHS Directive 2011/65/EU.
2012/19/EU (WEEE directive): Products marked with this symbol cannot be disposed of as unsorted municipal waste in the European Union. For proper recycling, return this product to your local supplier upon the purchase of equivalent new equipment, or dispose of it at designated collection points. For more information see: www.recyclethis.info
2006/66/EC (battery directive): This product contains a battery that cannot be disposed of as unsorted municipal waste in the European Union. See the product documentation for specific battery information. The battery is marked with this symbol, which may include lettering to indicate cadmium (Cd), lead (Pb), or mercury (Hg). For proper recycling, return the battery to your supplier or to a designated collection point. For more information see: www.recyclethis.info
Industry Canada ICES-003 Compliance
This device complies with Industry Canada licence-exempt RSS standard(s). Operation is subject to the following two conditions:
(1) this device may not cause interference, and
(2) this device must accept any interference, including interference that may cause undesired operation of the device.
This equipment should be installed and operated with a minimum distance 20cm between the radiator and your body.
Under Industry Canada regulations, this radio transmitter may only operate using an antenna of a type and maximum (or lesser) gain approved for the transmitter by Industry Canada. To reduce potential radio interference to other users, the antenna type and its gain should be so chosen that the equivalent isotropically radiated power (e.i.r.p.) is not more than that necessary for successful communication.
Note: The regulatory information varies according to different products. For detailed information, refers to the user manual of actual products.
Applicable Models
This manual is applicable to the accessories of access control products and video intercom products.
Symbol Conventions
The symbols that may be found in this document are defined as follows.

Safety Instructions
Warnings
- All the electronic operation should be strictly compliance with the electrical safety regulations, fire prevention regulations and other related regulations in your local region.
- Please use the power adapter, which is provided by normal company. The power consumption cannot be less than the required value.
- Do not connect several equipments to one power adapter as adapter overload may cause over-heat or fire hazard.
- Please make sure that the power has been disconnected before you wire, install or dismantle the equipment.
- When the product is installed on wall or ceiling, the equipment shall be firmly fixed.
- If smoke, odors or noise rise from the equipment, turn off the power at once and unplug the power cable, and then please contact the service center.
- If the product does not work properly, please contact your dealer or the nearest service center. Never attempt to disassemble the equipment yourself. (We shall not assume any responsibility for problems caused by unauthorized repair or maintenance.)
Cautions
- Do not drop the equipment or subject it to physical shock, and do not expose it to high electromagnetism radiation. Avoid the equipment installation on vibrations surface or places subject to shock (ignorance can cause equipment damage).
- Do not place the equipment in extremely hot (refer to the specification of the equipment for the detailed operating temperature), cold, dusty or damp locations, and do not expose it to high electromagnetic radiation.
- The equipment cover for indoor use shall be kept from rain and moisture.
- Exposing the equipment to direct sun light, low ventilation or heat source such as heater or radiator is forbidden (ignorance can cause fire danger).
- Do not aim the equipment at the sun or extra bright places. A blooming or smear may occur otherwise (which is not a malfunction however), and affecting the endurance of sensor at the same time.
- Please use the provided glove when open up the equipment cover, avoid direct contact with the equipment cover, because the acidic sweat of the fingers may erode the surface coating of the equipment cover.
- Please use a soft and dry cloth when clean inside and outside surfaces of the equipment cover, do not use alkaline detergents.
- Please keep all wrappers after unpack them for future use. In case of any failure occurred, you need to return the equipment to the factory with the original wrapper. Transportation without the original wrapper may result in damage on the equipment and lead to additional costs.
- Improper use or replacement of the battery may result in hazard of explosion. Replace with the same or equivalent type only. Dispose of used batteries according to the instructions provided by the battery manufacturer.
- Biometric recognition products are not 100% applicable to anti-spoofing environments. If you require a higher security level, use multiple authentication modes.
Note: The safety instruction varies according to different products. For detailed information, refers to the user manual of actual products.
Installation
Wall Mounting
Step 1 If required, insert gang box to the wall.
Note: The gang box size varies according to different products.
Step 2 If required, install base plate.
Step 3 If required, install mounting plate.
Step 4 If required, install protective shield on the device.
Step 5 If required, install fingerprint module.
Step 6 Install device.
Step 7 If required, fix cover to the device.
Step 8 If required, present card on the device card presenting area.
Note: Installation method varies according to the device model. For detailed installation methods, refers to the user manual of actual products.
Base Mounting
Step 1 If required, install protective shield or fingerprint module on the device.
Step 2 Install device on the bracket or floor stand.
Step 3 Put the installed device on the desk or floor.
Step 4 If required, present card on the device card presenting area.
Note: Installation method varies according to the device model. For detailed installation methods, refers to the user manual of actual products.

Scan the QR Code to Download the Document





![Hikvision Video Intercom Villa Door Station [ads-24s-12 1224gpcn] User Manual Hikvision Video Intercom Villa Door Station [ads-24s-12 1224gpcn] User Manual](https://static-data1.manualsee.com/1/img/266/17650/2020/12/Video-Intercom-Villa-Door-Station.png)











