PETZL Z329.15 ASAP Lock Mobile Fall Arresters Instruction Manual
WARNING/ATTENTION
- Activities involving the use of this equipment are inherently dangerous.
- You are responsible for your own actions and decisions.
- Before using this equipment, you must:
- Read and understand all Instructions for Use.
- Get specific training in Its proper use.
- Become acquainted with Its capabilities and limitations.
- Understand and accept the risks Involved.
FAILURE TO HEED ANY OF THESE WARNINGS MAY RESULT IN SEVERE INJURY OR DEATH.
These instructions explain how to correctly use your equipment. Only certain techniques and uses are described. The warning symbols inform you of some potential dangers related to the use of your equipment, but it is impossible to describe them all. Check Petzl.com for updates and additional information. You are responsible for heeding each warning and using your equipment correctly. Any misuse of this equipment will create additional dangers. Contact Petzl if you have any doubts or difficulty understanding these instructions.
Traceability and Marking

Field of Application
[ text part]
Nomenclature

Inspection, points,to verify

Compatibility

Working Principle

Installation and function tests

Installation
Precaution for Use



Clearance

Clearing
[Text Part]
Additional Information

Field of application
Personal protective equipment (PPE).
ASAP LOCK: mobile fall arrester for rope, with locking function. This product must not be pushed beyond its limits, nor be used for any purpose other than that for which it is designed.
Responsibility
WARNING
Activities involving the use of this equipment are inherently dangerous. You are responsible for your own actions, decisions and safety. Before using this equipment, you mustz
- Read and understand all Instructions for Use.
- Get specific training in its proper use
- Become acquainted with its capabilities and limitations.
- Understand and accept the risks involved.
Failure to heed any of these warnings may result in severe injury or death.
This product must only be used by competent and responsible persons, or those placed under the direct and visual control of a competent and responsible person.
You are responsible for your actions, your decisions and your safety and you assume the consequences of same. If you are not able, or not in a position to assume this responsibility, or if you do not fully understand the Instructions for Use, do not use this equipment.
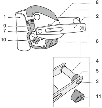
Nomenclature
- Frame
- Clevis
- Screw
- Connection pin
- Spacer
- Safety catches
- Arm
- Arm axle
- Locking wheel
- Locking button
- STRING.
- Principal materials: aluminum alloy (frame, arm)
- stainless steel (locking wheel, clevis)
- polyester
- nylon (ropes).
Inspection, points to verify
Your safety depends upon the integrity of your equipment. Petzl recommends a detailed inspection by a competent person at least once every 12 months (depending on current regulations in your country, and your conditions of usage).Warning: your intensity of use may cause you to inspect your PPE more frequently. Follow the procedures described at Petzl.com. Record the results on your PPE inspection form: type, model, manufacturer contact info, serial number or individual number, dates: manufacture, purchase, first use, next periodic inspection; problems, comments, inspector’s name and signature
Before each use
ASAP LOCK: verify that the absorber is correctly installed on the clevis, and that the screw is properly tightened. Verify the absence of any cracks, nicks, deformation, wear, corrosion (on the frame, wheel, arm, clevis).
Verify the condition of the safety catches, and that their return spring works.
Verify that the arm pivots on the axle, and that the return spring works. Verify that the locking wheel is clean and that the teeth are not worn out. Warning: if one or more teeth are missing, do not use the ASAP LOCK.
If the teeth are dirty, see the paragraph on Cleaning, maintenance. Verify that the locking wheel rotates smoothly, through one complete revolution in both directions.
Rope: check the condition of the rope according to the manufacturer’s instructions. The rope must be retired if it has held a fall, if the core seems deformed, or if the sheath is damaged or stained.
During use
It is important to regularly monitor the condition of the product and its connections to the other equipment in the system. Make sure that all items of equipment are correctly positioned with respect to each other.
Beware of foreign objects that can prevent the locking wheel from pressing against the rope, or from turning. Protect your ASAP LOCK from splashes while working (paint, cement…). Make sure that the locking wheel is always engaged on the rope.
Compatibility
Verify that this product is compatible with the other elements of the system in your application (compatible = good functional interaction).
Harness:
Connect your ASAP LOCK’s energy absorber to a fall arrest attachment point on your harness.
Energy-absorbing lanyard:
Use the ASAP LOCK only with compatible Petzl energy absorbers certified to the ANSI
Z359.13 standard:
- ASAP’SORBER 20 and 40 (2019 and later versions).
- ASAP’SORBER AXESS.
The energy absorber must not be extended (one connector maximum (12 cm maximum length) at each end).
Rope:
Use the ASAP LOCK with RAY 11-12 mm rope.
Working principle
Preparation:
Use only your ASAP LOCK’s original screw. Apply thread lock to the screw before assembly. Install the energy absorber and close the clevis. Tighten, check the correct positioning of the axle and the screw tightness.
Harness attachment:
Use only the OXAN TRIACT-LOCK connector (international version) with CAPTIV bar.
Installation: open the safety catches to place the rope in the frame, close the catches to engage the locking wheel on the rope.
Warning: the ASAP LOCK is a directional device and locks in only one direction. Danger of death if the ASAP LOCK is positioned upside down on the rope. Perform a function test for each installation.
Unlocking: after the function test, unlock the wheel to enable normal movement on the rope.
Locking function: use the wheel’s locking button to prevent the ASAP LOCK from moving downward on the rope. Warning: in case of accidental suspension on a locked ASAP LOCK, it cannot be unlocked while under load.
Precautions for use
- Possible to create a travel-stop by tying a knot in the rope.
- As you progress, regularly check that the rope is sliding properly in the ASAP LOCK, to avoid creating a loop of slack that could increase the potential fall distance. Maximum allowable fall distance: twice the length of the energy absorber (including connectors).
- The mobile fall arrester must not be connected to more than one rope.
- The mobile fall arrester must not be connected to more than one user.
- Working load of 130 lbs (58 kg) to 310 lbs (140 kg).
- Do not use the mobile fall arrester when the user is positioned on an unstable surface, fine grain material or particulate solids such as sand or coal.
- To move the ASAP LOCK along the rope, do not hold it with your whole hand; pull it using the energy absorber.
- A dynamic overload can damage the rope. If the ASAP LOCK’s rope is loaded, the user must be equipped with another backup system.
- Usage on an incline:
WARNING: in case of a slow slide on a low-angle roof, for example, the ASAP may not activate immediately. Be sure to tie a stopper knot in the rope if there is a risk of hitting an obstacle.
Clearance
Your position relative to the mobile fall arrester determines the potential fall distance: if you find yourself above the mobile fall arrester – with no slack in the rope – your potential fall distance is twice the length of the energy absorber (including connectors).
Clearance is the minimum amount of clear space below the user that prevents the user from hitting an obstacle in the event of a fall. Clearance takes into account:
- The length of the fall.
- The ASAP LOCK’s stopping distance.
- The tearing length of the energy absorber.
- The average height of the user.
- A safety margin of 1 m.
The rope’s elasticity (E) varies according to the situation and must be added to your clearance calculation.
For more information, see the ASAP LOCK technical tips at Petzl.com.
The values presented are based on theoretical estimations and fall tests using a rigid mass.
In a fall arrest system, take into account the length of any connectors that will have an effect on the fall distance.
Cleaning, maintenance
Avoid getting any liquid inside the locking wheel’s mechanism.
To clean the locking wheel teeth, using a solvent is not recommended, but is possible if applied with a brush, taking care to avoid getting any solvent in the mechanism.
Additional information
Maximum arrest distance according to the ANSI Z359.15 standard: 11 ft (3.35 m).
- You must have a rescue plan and the means to rapidly implement it in case of difficulties encountered while using this equipment.
- The anchor point for the system should preferably be located above the user’s position and should meet the requirements of the EN 795 standard (12 kN minimum strength).
- In a fall arrest system, it is essential to check the required clearance below the user before each use, in order to avoid hitting the ground or an obstacle in case of a fall.
- Make sure that the anchor point is correctly positioned, in order to reduce the pendulum risk and the fall distance.
- A fall arrest harness is the only device allowable for supporting the body in a fall arrest system.
- When using multiple items of equipment, a dangerous situation can arise in which the safety function of an item of equipment can be affected by the safety function of another item of equipment.
- WARNING – DANGER: ensure that your products do not rub against abrasive or sharp surfaces.
- Users must be medically fit for activities at height. WARNING: inert suspension in a harness can result in serious injury or death.
- The Instructions for Use for each item of equipment used in conjunction with this product must be followed.
- The Instructions for Use must be provided to the user of this equipment, in the language of the country where the equipment is used.
- Make sure the markings on the product are legible.
When to retire your equipment:
WARNING: an exceptional event can lead you to retire a product after only one use, depending on the type and intensity of usage and the environment of usage (harsh environments, marine environments, sharp edges, abrasive surfaces, machines in motion, electrical hazards, extreme temperatures, chemicals…).
A product must be retired when:
- It has been subjected to a major fall or load.
- It fails to pass inspection. You have any doubt as to its reliability.
- You do not know its full usage history.
- When it becomes obsolete due to changes in legislation, standards, technique or incompatibility with other equipment…
Destroy these products to prevent further use.
Icons:
- A. Unlimited lifetime
- B. Acceptable temperatures
- C. Usage precautions
- D. Cleaning/ disinfection
- E. Drying
- F. Storage/transport
- G. Maintenance
- H. Modifications/ repairs (prohibited outside of Petzl facilities, except replacement parts)
- I. Questions/contact
3-year guarantee
Against any material or manufacturing defect. Exclusions: normal wear and tear, oxidation, modifications or alterations, incorrect storage, poor maintenance, negligence, uses for which this product is not designed.
Warning symbols
- Situation presenting an imminent risk of serious injury or death.
- Exposure to a potential risk of accident or injury.
- Important information on the functioning or performance of your product.
- Equipment incompatibility
Traceability and markings
- Meets PPE regulatory requirements. Notified body performing the EU type examination
- Number of the notified body responsible for the production control of this PPE
- .Traceability: datamatrix
- Rope compatibility
- Serial number
- Year of manufacture
- Month of manufacture
- Batch number
- Individual identifier
- Standards
- Read the Instructions for Use carefully
- Model identification – m. Nominal maximum load
- ANSI/ ASSE certification body.
















