E16/A05
Intercom Smart
Quick Guide
Unpacking
Please make sure the package contains the following items:
Universal Accessories:
![]() | A05/E16 x 1 | M3x6 torx head screw x5 | |
| Diode x 1 | Rubber Plug x 3 (S,M,L) | ||
| Torx Wrench x 1 | M2.5×6 crosshead screw x 2 | ||
| Wiring cover x 1 | Sealing pressing plate x 1 | ||
| Wall-mounting bracket x 1 | Plastic wall anchor x 4 | ||
| M4x30 crosshead screw x 2 | ST4x20 crosshead screw x 4 |
| Digital Forehead Temperature Detector x 1 | |
| M3x10.5 hex socket screw x 2c | |
| Digital Wrist Temperature Detector x 1 | |
| M3x4 crosshead screw x 2 | |
| Allen Wrench x 1 |
Product Overview
Installation Environment
Please do not place the device under direct sunlight, it will bring bad effects or be broken with high temperatures.
If installing the device indoors, please keep the device at least 2 meters away from light, and at least 3 meters away from window and door.![]()
Attention:
Biometric recognition products may not be considered 100% to fit in any identification application.
For higher security purposes or scenarios, please set up an access authentication combination.
Installation
1. Step1: Wall-mounting Bracket Installation
1.1 With embedded one-gang junction box (86×86 mm or 2×3 inches in size) in the wall
1.1.1 With 86×86 mm embedded junction box in the wall
![]() | ![]() | ![]() |
| Fix the wall-mounting bracket on the embedded box with two M4x30 crosshead screws. | Mark the two positioning holes of the wall-mounting bracket on the wall. Note: the positioning holes should be marked in the center of the holes. | Remove the two M4x30 crosshead screws and take off the wall-mounting bracket. |
![]() | ![]() | ![]() |
| Fix the wall-mounting bracket with two M4x30 crosshead screws and two ST4x20 crosshead screws. | Insert two plastic wall anchors into the two drilled holes. | Use a hand drill with a 6 mm diameter bit to make two positioning holes with 25 mm in depth in the marked positions. |
1.1.2 With 2×3 inches embedded single-gang box in the Wall
![]() | ![]() |
| Fix the wall-mounting bracket on the single-gang junction box with the two M4x30 crosshead screws. | Finish the bracket installation. |
1.2 Without embedded gang box in the wall
![]() | ![]() |
| According to the position of the cable, put the wall-mounting bracket closely onto the wall and mark the four positioning holes, while making sure that the relative positions between the wall-mounting bracket and wire hole are correct. Note: The positioning holes should be marked in the center of the holes. | Take off the wall-mounting and drill the four marked positioning holes and the wire holes using 6 mm hand drills. |
![]() | ![]() |
| Fix the wall-mounting bracket with four ST4x20 crosshead screws. | Insert four plastic wall anchors into the holes. |
2. Step 2: Device Installation
2.1 Device Installation without Digital Forehead or Wrist Temperature Detector
![]() | ![]() |
| Take out the device along with the wiring cover, sealing pressing plate, rubber plug and corresponding screws. | Lead the wires from the wall-mounting bracket and the detector through the square hole on the wiring cover, connecting them to the corresponding interface of the main board. Select a suitable size rubber plug to push all the cables into the wiring cover. Fix sealing pressing plate to the wiring cover with two M2.5×6 crosshead screws. |
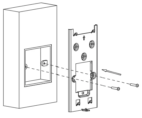
![]() | ![]() | ![]() |
| And please remove the protective film until installation is completed. | Hang the device onto the square hanger on the wall-mounting bracket, pull down the device to make it fall completely onto the square hanger on the wall-mounting bracket, then use the Torx wrench attached to tighten the device with the M3x6 Torx head screw. | Fasten the wiring cover with four M3x6torx head screws using the torx wrench attached. |
2.2 Device Installation with Digital Forehead Temperature Detector (Optional)
![]() | ![]() |
| Take out the device and the digital forehead temperature detector and then take out the wiring cover, sealing pressing plate, rubber plug, and corresponding screws. | Fasten the detector onto the nuts on the device’s wiring cover with two M3X10.5 hex socket screws using the alien wrench attached, and lead the wires from the wall-mounting bracket and the detector through the square hole on the wiring cover, connecting them to the corresponding interface of the main board. And then select a suitable size rubber plug to push all the cables into the wiring cover. Fix sealing pressing plate to the wiring cover with two M2.5×6 crosshead screws. |
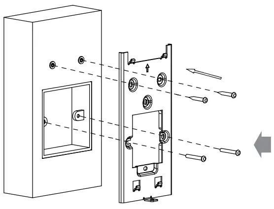
![]() | ![]() | ![]() |
| And please remove the protective film. Installation is completed. | Hang the device onto the square hanger on the wall-mounting bracket, pull down the device to make it fall completely onto the square hanger on the wall-mounting bracket, then use the Torx wrench attached to tighten the device with the M3x6 Torx head screw. | Fasten the wiring cover with four M3X6 torx head screws using the torx wrench attached. |
2.3 Device Installation with Digital Wrist Temperature Detector (Optional)
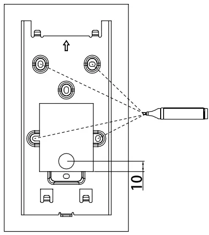
![]() | ![]() | ![]() |
| Fix the two holes of the detector onto the installation pins on the wall bracket either on the left or right according to your preference. | Tighten the detector onto the inner threaded bolt with two M3x4 crosshead screws using the alien wrench attached in the same way on both sides. | Take out the device along with the wiring cover, sealing pressing plate, rubber plug, and corresponding screws. |
![]() | ![]() |
| Fasten the wiring cover with four M3x6 torx screws using the Torx wrench attached. | Lead the wires from the wall-mounting bracket and the detector through the square hole on the wiring cover, connecting them to the corresponding interface of the main board. And then select a suitable size rubber plug to push all the cables into the wiring cover. Fix sealing pressing plate to the wiring cover with two M2.5×6 crosshead screws. |
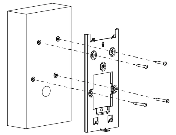
![]() | ![]() |
| Hang the device onto the square hanger on the wall-mounting bracket, pull down the device to make it fall completely onto the square hanger on the wall-mounting bracket, then use the Torx wrench attached to tighten the device with the M3x6 torx head screw. | And please remove the protective film. Installation is completed. |
Device Wiring
Warning
When you connect a device containing a coil, such as a relay or an electromagnetic lock, it is necessary to protect the intercom against voltage peak while switching off the induction load. For this way of protection, we recommend a diode 1A/ 200 V (included in the accessories) connected antiparallel to the device.
Application Network Topology
Configuration
- P address Checking: Long press anywhere on the initial screen for approximately five seconds to go to the project PIN screen where you enter the default PIN “admin” and press Confirm tab to go to the Setting screen where you press Info icon to check for the device IP address. ( for E16 series door phone only)
- Account Registration:On the web interface, go to the path Account -> Basic page to register and fill in the account information. (please refer to user manual for more information)
- DTMF code configuration: On the web interface, go the path: Access Control->relay to set up the DTMF code in the corresponding area.
Operation
Make a call:
Press the Dial icon into the dial interface, enter the IP or SIP number and press the Dial key to make a call ( for E16 series door phone only).
Receive a call:
E16 supports Auto Answer by default. Incoming calls from the indoor devices will be answered automatically.
Unlock by DTMF:
During the call, press the corresponding DTMF code from the answer unit to unlock E16 remotely.
Unlock by RF Card:
Place the predefined RF card in the card reader area to open the door.
Notice Information
Akuvox E16/A05 firmware contains third-party open source software under the terms of the GNU General Public License(GPL). Akuvox is committed to meeting the requirements of the GNU General Public License (GPL) and will make all required source code available.
The source code of software under the terms of GNU GPL can be downloaded online: http://www.akuvox.com/gpl.
Information contained in this document is believed to be accurate and reliable at the time of printing. This document is subject to change without notice, any update to this document can be viewed on Akuvox’s website: http://www.akuvox.com © Copyright 2022 Akuvox Ltd. All rights reserved.
http://www.akuvox.com/
AKUVOX (XIAMEN) NETWORKS CO., LTD.
ADD: 10/F, NO.56 GUANRI ROAD, SOFTWARE PARK II, XIAMEN 361009, CHINA
www.akuvox.com

















































