GIRA 5521 00 System 106 Installation Box for Flush Mounting

Product Information
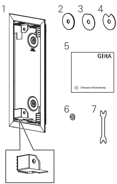
The System 106 installation box is designed for flush mounting and is intended for use by metalworkers. The installation box comes in various color variants (5521 00, 5522 00, 5523 00, 5524 00, 5525 00, 5528 00) and can accommodate up to five modules of various lengths. The package includes an installation box with four mounting corners, washers of different sizes, O-rings, a locking key, a cleaning cloth, and installation instructions.
General Safety Instructions
Installation and connection of electrical devices should only be done by a qualified electrician. The instructions provided are an integral part of the product and must remain with the end customer. It is important to read and follow the instructions before use.
Product Usage Instructions
Step 1: The end customer/contractor must provide a front plate cut-out that fits the installation box.
Step 2: Remove the protective film from the adhesive tape on the installation box. Press the installation box firmly against the back of the front plate. The plastic mounting corners help align the components correctly.
Step 3: Do not apply any pressure to the adhesive bond for at least 15 minutes. The final strength of the bond is reached after 72 hours.
Step 4: Remove the mounting corners and keep them with the mounting screws as they will be used later.
Step 5: Ensure that the eight positioning screws used to position the System 106 housing protrude no more than 1 mm into the front plate opening.
Note: Please ensure that the package contents are complete and undamaged. For any defects, refer to the warranty.
System 106 installation box for flush mounting
- 5521 00
- 5522 00
- 5523 00
- 5524 00
- 5525 00
- 5528 00

General safety instructions
Electrical devices may only be installed and connected by a qualified electrician!
These instructions are an integral part of the product and must remain with the end customer. Read and follow the instructions before use. Installation example: Installation box, 2- gang.
- Required accessories:
- System 106 housing for flush mounting (551X 00)
Installation
The video on installation can be found here:

https://bda.gira.de/VideoSys106EinbauMetall.
Included contents

- 1x installation box with 4 mounting corners
- 12x washers, 1 mm
- 8x washers, 0.5 mm
- 4x washers, 0.25 mm
- 1x installation instructions
- 4x O-rings
- 1x locking key
- 1x cleaning cloth Ensure the package contents are complete and undamaged. Please see “Warranty” in the case of any defects.
Information for the metalworker
System 106 color variant surfaces
- Stainless steel V2A (order no …920): ground, grain: 240, horizontal grinding direction
- Aluminum (order no …926): natural, protective anodized finish
- Traffic white (order no …902): aluminum base material, painted, RAL9016, matt
- Stainless steel V4A (order no …914): brushed, grain: 280, horizontal brushing direction
- Bronze (order no …921): Stainless steel 2VA base material, ground, grain: 180, horizontal grinding direction,
- PVD coating, Lab values: (L=63 / a=8 / b=15.5)
Cut-out dimensions

Number of modules Length in mm Width in mm
- 110.5 110.5
- 217 110.5
- 323.5 110.5
- 430 110.5
- 536.5 110.5 2×2 217 217
Installation
Installation examples

Order of components when installing

- System 106 module
- Function carrier
- Housing
- Front plate
- Installation box
Installation notes
The installation box can be glued to unpainted stainless steel, aluminum, or brass surfaces with a measured roughness (Ra) of 0.5 μm to 0.7 μm. Before installing the system, we advise that you check that the front plate and System 106 surface materials match (see “Information for the metalworker”). The system can be installed at temperatures between 15°C and 25°C. Use the cleaning cloth provided to clean the adhesive area on the front plate and to remove any grease. This will help ensure a permanent adhesive bond.
Requirement: The installation box fits into the front plate cut-out, which the end customer/ contractor must provide.
- Remove the protective film from the adhesive tape on the installation box.
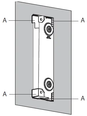
- Press the installation box firmly against the back of the front plate. The plastic mounting corners (A) help the installer to align the components correctly.

- Do not apply any pressure to the adhesive bond for at least 15 minutes. The final strength of the bond is reached after 72 hours.
- Remove the mounting corners and keep them with the mounting screws as they will be used later.
- Ensure that the 8 positioning screws used to position the System 106 housing protrude no more than 1 mm into the front plate opening.

- Pierce the housing’s central opening (A) for cable insertion using a round tool (no cross-cut). Never use the diaphragm (B) for routing cables!

- Insert the mounting screws of the mounting corners through the openings of the housing. If the front plate is thicker than 1 mm: to adjust the height of the front plate, slide washers onto the mounting screws and use an O-ring to secure them.

- Pass the connection cable completely through the installation box and housing openings, insert the housing into the installation box, and tighten the mounting screws (but not so tight that the housing cannot be moved).

Correct positioning of the seal caps
- If a seal cap becomes detached during installation: reinsert the seal cap and check that it is positioned correctly to ensure tightness.

- Insert the modules into the function carrier (observe the TOP mark) and lock them in place. For detailed information about the modules, see the operating instructions for the individual modules.

- Pivot the function carrier into the housing (A). When installing 3- to 5-gang housings, pay attention to the additional catch mechanism (B).

- Fasten the safety bond (l: 120 mm).

- Using the locking key, slightly tighten the screw for locking the housing (0.6 Nm) at an angle of 90°.

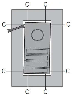
- Use the locking key to adjust the installation box positioning screws (C) so that the gap between the modules and the front plate is symmetrical. Then tighten all positioning screws.

- Disengage the function carrier, loosen the safety bond, and put the function carrier plus modules to one side.
- Tighten the mounting screws of the housing.
- Press the wall fitting plugs firmly into the groove and check that they are positioned correctly.

- Connect the terminating resistors to the function carrier with the modules, followed by the system cable. Always connect a terminating resistor to the first and last modules on the system cable. Observe the plug coding!

- Strip the sheathing from the connection cable as close as possible to the seal cap (see arrow). The stripped part of the connection cable must not be behind the seal cap, otherwise, tightness cannot be ensured.

- Cut the connection cable to length and connect it to the plug terminal (A). Turn the plug terminal by 180° (B) and plug it into the connection on the voice or door station module.
No jumpers between BUS and ZV
- No jumpers may be placed between BUS and ZV on the module. The module automatically detects whether an additional power supply (ZV) is connected.

- Fasten the safety bond (l: 120 mm) (see step 11).
- Pivot the function carrier into housing (A) (see step 12). Pay attention to the position of the cables and safety bond! Do not entrap any cables! When installing 3- to 5-gang housings, pay attention to the additional catch mechanism (B).
- Using the locking key, slightly tighten the screw for locking the housing (0.6 Nm). The application angle is 90° (see step 13).
Technical data
- Mounting height: Recommended: 1.50 m
- Ambient temperature: -25°C to +70°C Protection class IP54
Warranty
- The warranty is provided by the retailer in accordance with the statutory requirements.
- Please hand over or send faulty devices postage paid and with a description of the problem to your sales representative (retailer/installation company/electronics retailer),
- who will forward the devices to the Gira Service Centre.
Gira
- Giersiepen GmbH & Co KG
- Elektro-Installations-Systeme
- Postfach 1220
- 42461 Radevormwald, Germany
- Phone: +49 2195 602 – 0
- Fax: +49 2195 602 – 191[email protected].www.gira.de.

























