STIEBEL ELTRON HTT 4 Automatic Hand Dryer

SPECIAL INFORMATION
- Keep children under the age of 3 away from the appliance if constant supervision cannot be guaranteed.
- Children from the age of 3 to 7 may switch the appliance on and off, provided they are supervised or have been instructed in the safe operation of the appliance and understand any risks that may result therefrom. This is subject to the appliance having been installed as described. Children from the age of 3 to 7 must not plug the power cable into its socket nor regulate the appliance.
- The appliance may be used by children aged 8 and older and persons with reduced physical, sensory or mental capabilities or a lack of experience and know-how, provided that they are supervised or they have been instructed on how to use the appliance safely and have understood the resulting risks.
- Children must never play with the appliance. Children must never clean the appliance or perform user maintenance unless they are supervised.
- Parts of the appliance can get very hot and may cause burns. Particular caution is advised when children or vulnerable persons are present.
- Never cover the appliance.
- Never install the appliance directly below a wall socket.
- Install the appliance in such a way that the control equipment cannot be touched by a person in the bath or shower.
- In the case of a permanent connection, the appliance must be able to be separated from the power supply by an isolator that disconnects all poles with at least 3 mm contact separation.
- In the event of damage to the power cable this must always be replaced by a qualified electrician authorised by the manufacturer, using original spare parts.
- Secure the appliance as described in chapter “Installation/Installation”.
OPERATION
General information
Document information
The chapter Operation is intended for users and contractors. The chapter Installation is intended for heating contractors.
Key to symbols
Symbols in this documentation:
In these instructions, you will come across symbols and highlights. These have the following meaning:
- Risk of injury!
- Information concerning possible risk of injury.
- Danger of electrocution!
- Risk of burning!
- Fire hazard!
- Never cover!
- Possible damage
- Information concerning damage to the appliance, environmental damage or material losses.
- Note! Text next to this symbol is particularly important.
The symbol indicates that you should do something. The action you need to take is described step by step.
Safety
Intended use
The appliance is used to dry wet hands.
This appliance is designed for domestic use. It can be used safely by untrained persons. The appliance can also be used in a nondomestic environment, e.g. in a small business, as long as it is used in the same way.
Any other use beyond that described shall be deemed inappropriate. Observation of these instructions is also part of the correct use of this appliance. Any modifications or conversions to the appliance void all warranty rights.
Safety information
Risk of burning!
Parts of the appliance can get very hot and may cause burns. Particular caution is advised when children or vulnerable persons are present.
Risk of burning!
- Keep children under the age of 3 away from the appliance if constant supervision cannot be guaranteed.
- Children from the age of 3 to 7 may switch the appliance on and off, provided they are supervised or have been instructed in the safe operation of the appliance and understand any risks that may result therefrom. This is subject to the appliance having been installed as described. Children from the age of 3 to 7 must not plug the power cable into its socket nor regulate the appliance.
- The appliance may be used by children aged 8 and older and persons with reduced physical, sensory or mental capabilities or a lack of experience and know-how, provided that they are supervised or they have been instructed on how to use the appliance safely and have understood the resulting risks.
- Children must never play with the appliance. Children must never clean the appliance or perform user maintenance unless they are supervised.
Fire hazard!
Never place any objects on top of the appliance. Never lean any objects against it or place any objects between the appliance and the wall.
Never place any flammable, combustible or insulating objects or materials, such as laundry, blankets, magazines, containers with floor polish or napsan, spray cans or similar, in direct proximity of the appliance.
Fire hazard!
Never operate this appliance
- in rooms where the appliance is at risk from fire or explosion as a result of chemicals, dust, gases or vapours.
- in the direct proximity of pipes or receptacles that carry or contain flammable or explosive materials.
- if work such as laying cables, grinding or sealing is carried out in the installation room.
- if sprays, floor polish or similar products containing napsan are used. Ensure the room is adequately ventilated before using the appliance.
- Danger of electrocution!
Never insert any objects into any aperture in the appliance. This can lead to fatal electric shocks and / or fires. - Never cover!
Never cover the appliance to prevent overheating. - Note!
Never operate the appliance if the minimum clearances to adjacent surfaces are not maintained. - Note!
If you use the appliance in workshops or other rooms where flue gases, oil and petrol vapours, etc. are present, or solvents and chemicals are used, lasting, unpleasant odours and possibly contamination can result. - Note!
Ensure that the air inlet aperture at the bottom and back of the appliance is always open. - Note!
Maintain the minimum clearance (see chapter Specification) to the air outlet grille at the bottom. The hot air must be able to escape unimpeded. - Note!
Never spray the appliance with a water hose to clean it (see chapter Cleaning, care and maintenance).
CE designation
The CE designation shows that the appliance meets all essential requirements according to the:
- Electromagnetic Compatibility Directive
- Low Voltage Directive
Test symbols
See type plate.
Equipment description
The appliance works without contact. It is fitted with an optical proximity sensor, which automatically activates the heater and fan when your hands approach the appliance. The response area is between 4 cm and 13 cm beneath the air outlet grille. When you remove your hands, the appliance stops after approx. three seconds. The casing design makes it virtually impossible to use the appliance as a depository for cigarettes or similar. Avoid any wall offset at the top of the appliance to maintain this effect. The HTT 5 is also protected against damage by its robust diecast aluminium casing.
Operation
- Shake your wet hands over the sink before drying. This reduces the drying time and saves energy.
- Then hold your hands under the air outlet grille and rub them together in the hot air current.
Cleaning, care and maintenance
A damp cloth is sufficient for cleaning the casing. Never use abrasive or corrosive cleaning agents. Go over the casing with a soft cloth. Never spray the appliance using a water hose or other tools. This would let water penetrate the appliance.
What to do if
the appliance does not start
- Check the fuses/ MCBs in your fuse box.
- Covering the optical proximity sensor impairs the function of the appliance. In this case, the appliance stops after approx. three seconds to avoid constant operation. In the event of a fault, check whether the sensor surface is clear. Once you have removed any objects, the appliance will work correctly again.
The fan is running but there is no hot air
When overheating occurs, the heater bank is switched off but the fan continues to run for cooling purposes. The temperature sensor switches the heater on again approx. two minutes after the appliance stops.
The type plate
The type plate is located at the bottom of the appliance.
Safety
Only qualified contractors should carry out installation, commissioning, maintenance and repair of the appliance.
General safety instructions
We guarantee trouble-free operation and operational reliability only if the original accessories and spare parts intended for the appliance are used.
Instructions, standards and regulations
Note!
- Observe all applicable national and regional regulations and instructions.
- When installing the appliance in rooms with a bath and/or shower, take the relevant safety zone into account. Install the appliance in accordance with the information on the type plate. Refer to VDE 0100 – 701 for the standard applicable to safety zones in Germany.
Installation
Installation information
Fit the appliance flat against a solid wall (without any offset) to prevent damage caused by vandalism.
Installation conditions and preparations
- Always fit the appliance to a vertical wall that is temperatureresistant to over 90 °C.
- Always maintain the specified minimum clearances.
Power supply
Note! Observe the type plate. The specified voltage must match the mains voltage.
Danger of electrocution!
Only use a permanent connection to the power supply. The appliance must be able to be separated from the mains power supply by an isolator that disconnects all poles with at least 3 mm contact separation.
- Select a power cable with an adequate cross-section.
- Connect the power cable in accordance with the wiring diagram (see Specification).

Plastic bracket
The plastic bracket fixed to the inside of the HTT 5 casing cover provides additional insulation for the power cable and terminal.
Removing the HTT 4 casing cover
- Casing cover
- Locking slide
- Screws
- Undo the screws on the casing cover and locking slide.
- Pull the locking slide down.
- Remove the casing cover.
Removing the HTT 5 casing cover
- Undo the locking screw.
- Pull the locking slide down.
- Remove the casing cover.

- Casing cover
- Locking slide
- Locking screw
Wall mounting

- Cut out the drilling template. This can be found at the end of these instructions.
- Transfer the four mounting points on to the wall using the drilling template. Pay attention to the length and position of the power cable. Use our height guidelines to help you (see Specification).
- Drill the fixing holes and insert rawl plugs.
- Insert the lower fixing screws into the wall.

1 Cable entry
- Pull the power cable through the cable entry in the back panel of the appliance.
- Fit the appliance with the keyhole fixings on to the fixing screws.
- Secure the appliance to the wall using two more screws.
- Connect the power cable to the appliance.
Note!
- Ensure that the wires of the power cable are not near the fan motor.
- Observe the maximum length of the power cable. (See Specification)
Fitting the HTT 4 casing cover
- Place the casing cover on the appliance so that it is slightly tilted and pivot it towards the wall.
- Push the locking slide up as far as it will go.
- Secure the locking slide and the casing cover with screws.
Fitting the HTT 5 casing cover 
- Slide the casing cover, slightly tilted, over the appliance towards the wall as far as it will go. Ensure that the hooks provided on the bottom of the casing cover catch behind the back panel of the appliance.
- To lock in place, lift the casing cover slightly at the front and push the locking slide up as far as it will go.
- Secure the locking slide with screws.
Appliance handover
Explain the functions of the appliance to the user. Draw special attention to the safety information. Hand the operating and installation instructions to the user.
Specification

| LLJ | ||||||
| Rated outeut | w | 2600 | 2600 | 2600 | 2600 | |
| Outeut | w | 2500 | 2500 | 2500 | 2500 | |
| Fan power | w | 100 | 100 | 100 | 100 | |
| Connection | 1/N 220-240 V 50/60 Hz | 1/N 220-240 V 50/60 Hz | 1/N 220-240 V 50/60 Hz | 1/N 220-240 V 50/60 Hz | ||
| Protection cat. to EN 60335 | II | II | II | II | ||
| Protection | IP 23 | IP 23 | IP 23 | IP 23 | ||
| oeeratin noise | – dB (A) | 68 | 68 | 68 | 68 | |
| Air throughput | – m3/h | 250 | 250 | 250 | 250 | |
| Runtime | s | 20 | 20 | 20 | 20 | |
| Dimensions and weights Dimensions H x W x D |
mm |
250 X 238 X 230 |
266 X 257 X 230 |
266 X 257 X 230 |
266 X 257 X 230 | |
| Weight | kg | 2,7 | 4,2 | 4,2 | 4,2 | |
| Maximum length of the | mm | 200 | 200 | 200 | 200 | |
Wiring diagram
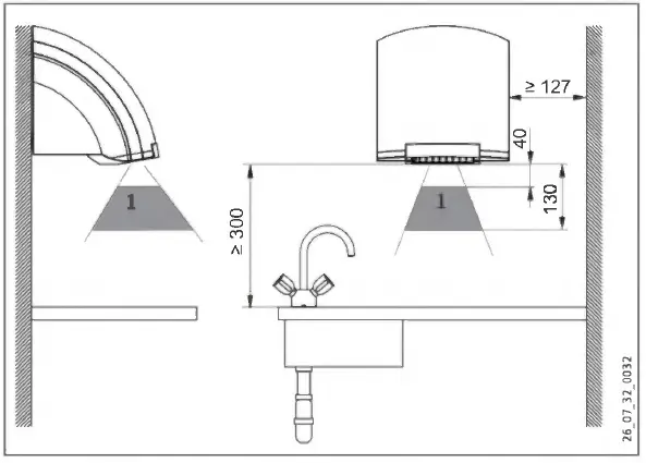
Clearances
1 Detection range of IR proximity sensor
Guidelines for installation height
Note!
Height (mm) indicates the clearance between the bottom of the appliance and the floor.
Dimensions

bO1 Entry electrical cables
(view from the back of the appliance)
HTT 5

Guarantee
The guarantee conditions of our German companies do not apply to appliances acquired outside of Germany. In countries where our subsidiaries sell our products, a guarantee can only be issued by those subsidiaries. Such guarantee is only grant ed if the subsidiary has issued its own terms of the guarantee. No other guarantee will be granted.
We shall not provide any guarantee for appliances acquired in countries where we have no subsidiary to sell our products. This will not affect warranties issued by any importers.
Environment and recycling
We would ask you to help protect the environment. After use, dispose of the various materials in accordance with national regulations.




















