OPERATION AND INSTALLATION
Hand dryer

SPECIAL INFORMATION
- Keep children under the age of 3 away from the appliance if constant supervision cannot be guaranteed.
- Children from the age of 3 to 7 may switch the appliance on and off, provided they are supervised or have been instructed in the safe operation of the appliance and understand any risks that may result. This is subject to the appliance having been installed as described. Children from the age of 3 to 7 must not plug the power cable into its socket nor regulate the appliance.
- The appliance may be used by children aged 8 and older and persons with reduced physical, sensory or mental capabilities or a lack of experience and know-how, provided that they are supervised or have been instructed on how to use the appliance safely and have understood the resulting risks.
- Children must never play with the appliance. Children must never clean the appliance or perform user maintenance unless they are supervised.
- Parts of the appliance can get very hot and may cause burns. Particular caution is advised when children or vulnerable persons are present.
- Never cover the appliance.
- Never install the appliance directly below a wall socket.
- Install the appliance in such a way that the control equipment cannot be touched by a person in the bath or shower.
- In the case of a permanent connection, the appliance must be able to be separated from the power supply by an isolator that disconnects all poles with at least 3 mm contact separation.
- The power cable may only be replaced (for example if damaged) by a qualified contractor authorized by the manufacturer, using an original spare part.
- Secure the appliance as described in chapter “Installation / Installation”.
OPERATION
general information
- General information
The chapters “Special Information” and “Operation” are intended for both the user and qualified contractors.
The chapter “Installation” is intended for qualified contractors.
Note Read these instructions carefully before using the appliance and retain them for future reference. Pass on the instructions to a new user if required.
1.1 Safety instructions
1.1.1 Structure of safety instructions
KEYWORD Type of risk
Here, possible consequences are listed that may result from failure to observe the safety instructions. Steps to prevent the risk are listed.
1.1.2 Symbols, type of risk
| Symbol | Type of risk |
| Injury | |
| Electrocution | |
| Burns (burns, scalding) |
1.1.3 Keywords
| KEYWORD | Meaning |
| DANGER | Failure to observe this information will result in serious injury or death. |
| WARNING | Failure to observe this information may result in serious injury or death. |
| CAUTION | Failure to observe this information may result in non-serious or minor injury. |
1.2 Other symbols in this documentation
Note
General information is identified by the adjacent symbol.
- Read these texts carefully.
| Symbol | Meaning |
| Material losses (appliance damage, consequential losses, and environmental pollution) | |
![]() | Appliance disposal |
- This symbol indicates that you have to do something. The action you need to take is described step by step.
1.3 Information on the appliance
| Symbol | Meaning |
![]() | Never cover the appliance |
1.4 Units of measurement
Note
All measurements are given in mm unless stated otherwise.
Safety
2.1 Intended use
The appliance is used to dry wet hands.
This appliance is intended for domestic use. It can be used safely by untrained persons. The appliance can also be used in a non-domestic environment, e.g. in a small business, as long as it is used in the same way.
Any other use beyond that described shall be deemed inappropriate. Observation of these instructions and of instructions for any accessories used is also part of the correct use of this appliance.
2.2 General safety instructions
WARNING Electrocution
Never insert any objects into apertures in the appliance.
WARNING Injury
- Keep children under the age of 3 away from the appliance if constant supervision cannot be guaranteed.
- Children from the age of 3 to 7 may switch the appliance on and off, provided they are supervised or have been instructed in the safe operation of the appliance and understand any risks that may result. This is subject to the appliance having been installed as described. Children from the age of 3 to 7 must not plug the power cable into its socket nor regulate the appliance.
- The appliance may be used by children aged 8 and older and persons with reduced physical, sensory or mental capabilities or a lack of experience and know-how, provided that they are supervised or have been instructed on how to use the appliance safely and have understood the resulting risks.
- Children must never play with the appliance. Children must never clean the appliance or perform user maintenance unless they are supervised.
WARNING Burns
Never operate this appliance
- in rooms where the appliance is at risk from fire or explosion as a result of chemicals, dust, gases or vapors.
- in the direct proximity of pipes or receptacles that carry or contain flammable or explosive materials.
- if work such as laying tiles, sanding or sealing is being carried out in the installation room.
- if naphtha, sprays, floor polish, or similar products are handled. Ensure the room is adequately ventilated before using the appliance.
https://www.google.com/search?q=CAUTION+Burns+-+Never+lean+any+objects+against+the+appliance+or+insert+them+between+the+appliance+and+the+fixing+wall.+-+Never+place+any+flammable%2C+combustible+or+insulating+objects+or+materials%2C+such+as+laundry%2C+blankets%2C+magazines%2C+containers+with+floor+polish+or+naphtha%2C+spray+cans+or+similar+on+the+appliance+or+in+direct+proximity+to+it.&oq=CAUTION+Burns+-+Never+lean+any+objects+against+the+appliance+or+insert+them+between+the+appliance+and+the+fixing+wall.+-+Never+place+any+flammable%2C+combustible+or+insulating+objects+or+materials%2C+such+as+laundry%2C+blankets%2C+magazines%2C+containers+with+floor+polish+or+naphtha%2C+spray+cans+or+similar+on+the+appliance+or+in+direct+proximity+to+it.&aqs=chrome..69i57.854j0j7&sourceid=chrome&ie=UTF-8
- Never lean any objects against the appliance or insert them between the appliance and the fixing wall.
- Never place any flammable, combustible, or insulating objects or materials, such as laundry, blankets, magazines, containers with floor polish or naphtha, spray cans, or similar on the appliance or in direct proximity to it.
CAUTION Burns
Parts of the appliance can get very hot and may cause burns. Particular caution is advised when children or vulnerable persons are present.
Never cover the appliance
Never cover the appliance to prevent overheating of the appliance.
Material losses
If the appliance is installed in rooms where flue gas, oil or petrol vapors occur or where work involves solvents and chemicals, the operation of the appliance can result in long-lasting nuisance through odors or contamination of the appliance.
2.3 Safety clearances
Material losses
Maintain the required minimum clearances.
The appliance’s air inlet and outlet must not be obstructed by any objects.
The minimum clearances of the appliance can be found in chapter “Specification / Minimum clearances and detection range”.
2.4 Test symbols
See the type plate on the appliance. The type plate is located at the bottom of the appliance.
Appliance description
The appliance works without contact. If you hold your hands in the IR sensor detection range, the appliance fan is automatically enabled.
Heated air is discharged from the appliance at high speed. Any moisture left on your hands is removed and your hands are dried. When you move your hands away from the IR sensor detection range, the appliance stops automatically after approx. 3 seconds.
Operation
- Shake your wet hands over the sink before drying to reduce the drying time.
- Hold your hands under the air outlet and rub them together in the air current.
Note
The IR sensor response area is located approx. 3-4 cm below the air outlet. More information on the detection range of the IR sensor can be found in chapter “Specification /
Minimum clearances and detection range”.
Cleaning, care, and maintenance
Material losses
Never spray the appliance using a water hose or other tools. This would let water penetrate the appliance.
A damp cloth is sufficient for cleaning the casing. Never use abrasive or corrosive cleaning agents. Go over with a soft cloth if required.
Troubleshooting
| Problem | Cause | remedy |
| The appliance does not start. | No power supply | Check whether a fuse or RCD has blown or tripped in your fuse box. |
| Covering the optical proximity sensor impairs the function of the appliance. In this case, the appliance stops after approx. 3 seconds to avoid constant operation. | Check whether the sensor surface is clear. Once you have removed any objects, the the appliance will work correctly again. |
If you cannot remedy the fault, notify your qualified contractor.
To facilitate and speed up your request, provide the number from the type plate (000000-0000-000000).
Only a qualified contractor should carry out the installation, commissioning, maintenance, and repair of the appliance.
7.1 General safety instructions
We guarantee trouble-free function and operational reliability only if original accessories and spare parts intended for the appliance are used.
7.2 Instructions, standards, and regulations
WARNING Electrocution Carry out all electrical connection and installation work in accordance with relevant regulations.
WARNING Electrocution Only uses a permanent connection to the power supply. The appliance must be able to be separated from the power supply by an isolator that disconnects all poles with at least 3 mm contact separation.
Material losses
Observe the type plate. The specified voltage range must match the mains voltage.
Note
Observe all applicable national and regional regulations and instructions.
Preparations
8.1 Installation wall
Note
Observe the information in chapter “Operation / Safety”.
Always install the appliance on a vertical wall.
The back panel of the appliance must be flush with the wall to ensure that the appliance cannot be pulled off.
- Ensure that the wall on which the appliance is mounted is solid and has no recesses.
8.2 Installation in bathrooms
WARNING Electrocution
Install the appliance exclusively outside safety zone 2.

0 Safety zone 0
1 Safety zone 1
2 Safety zone 2
3 Safety zone 3
8.3 Minimum clearances

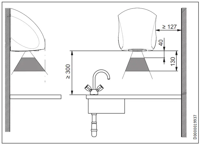
- Prior to installing the appliance, ensure the minimum permissible clearances to adjacent objects are observed.
- Ensure that the ambient air can enter the inlet on the bottom of the appliance without obstruction.
- Ensure that the air can escape from the appliance without obstruction.
Installation
9.1 Dismantling the casing cover

- Undo the 2 internal Torx screws with a Torx screwdriver 25, turning it clockwise as far as it will go.
The Torx screws are rotated into the casing and remain in the casing.
9.1.1 Connecting the appliance back panel and casing cover
Note
The casing cover has 2 internal fixing eyes at the top, which are hooked into place in the 2 hooks on the appliance back panel.
- Hook
- Fixing eye
9.1.2 Removing the casing cover

- Detach the casing cover from the appliance at the bottom.
- Lift the casing cover up until the cover’s fixing eyes have come free of the hooks on the appliance back panel.
- Pull the casing cover forwards to remove it from the appliance.
9.2 Wall mounting
You can find a drilling template in the appendix to these instructions.
- When positioning the drilling template, be aware of the location and length of the power cable (see chapter “Electrical connections / Power cable”).
- Use our standard values as a guide for the installation height (see chapter “Specification / Standard values for the installation height”).
- Use suitable fixing screws and rawl plugs.

- Cut out the drilling template and mark the 4 fixing points on the wall.
- Drill the 4 holes and insert rawl plugs.
- Screw the 2 lower fixing screws into the wall.
9.3 Power supply
WARNING Electrocution
Only use a permanent connection to the power supply.
The appliance must be able to be separated from the power supply by an isolator that disconnects all poles with at least 3 mm contact separation.
9.3.1 Power cable
The length of the power cable must be at least 100 mm.
The individual wires of the power cable must be stripped approx. 6.5 mm so they can be connected to the main terminal.
Handover
9.3.2 Connecting the appliance

- Power cable
- Cable entry
- Pull the power cable through the cable entry in the back panel of the appliance.
- Position the appliance with the keyhole eyelets on the fixing screws.
- Secure the appliance to the wall with the 2 upper fixing screws and then tighten the 2 lower screws.
- Connect the appliance to the power supply according to the wiring diagram (see chapter “Specification / Wiring diagram”).
9.4 Assembling the casing cover

- Push the casing cover onto the appliance from the front.
- Place the top of the casing cover on the back panel of the appliance so that the fixing eyes lock under the hooks (see chapter “Dismantling the casing cover”).
- Press the bottom of the casing cover onto the appliance so that it clicks into place.

- Check that the casing cover is fitted correctly on the appliance.
- Tighten the 2 internal Torx screws with a Torx screwdriver 25, turning it anti-clockwise as far as it will go.
Explain the functions of the appliance to the user. Draw special attention to the safety instructions. Hand over these operating and installation instructions to the user.
Specification
11.1 Wiring diagram
11.2 Minimum clearances and detection range

1 IR sensor detection range
11.3 Guidelines for installation height
Note
Height (mm) indicates the clearance between the bottom of the appliance and the floor.
| Age | Height (mm) | |
![]() | Adult man | 1350 |
![]() | Adult woman | 1250 |
![]() | Nursery school (4 – 7) | 810 |
| Primary school (7 – 10) | 910 | |
| High school (10 – 13) | 1120 | |
| High school (13 – 16) | 1250 |
11.4 Dimensions and connections

Specification
11.5 Data table
| Ultronic S | Ultronic W | ||
| 231582 | 231583 | ||
| Electrical data | |||
| Power supply | 1/N/PE ~ 220-240 V | 1/N/PE ~ 220-240 V | |
| Frequency | Hz | 50/60 | 50/60 |
| Rated voltage | V | 230 | 230 |
| Rated current | A | 4.0 | 4.0 |
| Rated output | W | 910 | 910 |
| Max. mains impedance Zmax to DIN EN 61000-3-11 | Ω | 257 | 257 |
| Dimensions | |||
| Height | mm | 289 | 289 |
| Width | mm | 257 | 257 |
| Depth | mm | 234 | 234 |
| Weights | |||
| Weight | kg | 4.4 | 4.4 |
| Versions | |||
| Colour | Stainless steel | Signal white, RAL 9003 | |
| Casing material | Diecast aluminum | Diecast aluminum | |
| IP rating | IP24 | IP24 | |
| Protection class | I | I | |
| Values | |||
| Operating noise | dB(A) | 82 | 82 |
| Air speed | m/s | 94 | 94 |
| Air flow rate | m³/h | 200 | 200 |
| Drying time | s | 15 | 15 |
Guarantee
The guarantee conditions of our German companies do not apply to appliances acquired outside of Germany. In countries where our subsidiaries sell our products, a guarantee can only be issued by those subsidiaries. Such a guarantee is only granted if the subsidiary has issued its own terms of the guarantee. No other guarantee will be granted.
We shall not provide any guarantee for appliances acquired in countries where we have no subsidiary to sell our products. This will not affect warranties issued by any importers. Environment and recycling
We would ask you to help protect the environment. After use, dispose of the various materials in accordance with national regulations.

| United States of America STIEBEL ELTRON, Inc. 17 West Street | 01088 West Hatfield MA Tel. 0413 247-3380 Fax 0413 247-3369 [email protected] www.stiebel-eltron-usa.com | The United Kingdom and Ireland STIEBEL ELTRON UK Ltd. Unit 12 Stadium Court Stadium Road | CH62 3RP Bromborough Tel. 0151 346-2300 | Fax 0151 334-2913 [email protected] www.stiebel-eltron.co.uk | Switzerland STIEBEL ELTRON AG Industrie West Gass 8 | 5242 Lupfig Tel. 056 4640-500 | Fax 056 4640-501 [email protected] www.stiebel-eltron.ch |

Subject to errors and technical changes
A 296654-39173-9146
References
eltron.at
ELTRON • IT-oplossingen op maat. Gespecialiseerd in facturatiesoftware
This domain has been registered for a customer by nicsell
eltron.co.uk
eltron.cz
Sachverständigenbüro ELTRON - Startseite
The domain name eltron.nl is available for rent
ELTRON
eltron.ru
Tankless Water Heater | Renewable Energy | Stiebel Eltron USA
STIEBEL ELTRON | Technik zum Wohlfühlen
Warmtepompen - warwater - verwarming | STIEBEL ELTRON
STIEBEL ELTRON | Wärmepumpen-Spezialist
Home - Stiebel Eltron UK
STIEBEL ELTRON International
STIEBEL ELTRON | Tepelná čerpadla | větrání | vytápění | ohřev vody
STIEBEL ELTRON | Technik zum Wohlfühlen
STE - Thermia Redirect | Thermia
STIEBEL ELTRON - Fabricant Allemand de pompes à chaleur
STIEBEL ELTRON - Főoldal
STIEBEL ELTRON
STIEBEL ELTRON | Pompy ciepła | Wentylacja | Ogrzewacze wody i pomieszczeń
STIEBEL ELTRON | Официальный сайт | Интернет-магазин
STIEBEL ELTRON | Ohrev vody, vykurovanie, vetranie, chladenie
Instantaneous Hot Water Systems, Electric Water Heaters - STIEBEL ELTRON
世创电能(原斯宝亚创)| STIEBEL ELTRON CHINA
stiebeleltronasia.com























