STIEBEL ELTRON HTE 4 Hand Dryer
SPECIAL INFORMATION
- Keep children under the age of 3 away from the appliance if constant supervision cannot be guaranteed.
- Children from the age of 3 to 7 may switch the appliance on and off, provided they are supervised or have been instructed in the safe operation of the appliance and understand any risks that may result therefrom. This is subject to the appliance having been installed as described. Children from the age of 3 to 7 must not plug the power cable into its socket nor regulate the appliance.
- The appliance may be used by children aged 8 and older and persons with reduced physical, sensory or mental capabilities or a lack of experience and know-how, provided that they are supervised or they have been instructed on how to use the appliance safely and have understood the resulting risks.
- Children must never play with the appliance. Children must never clean the appliance or perform user maintenance unless they are supervised.
- Parts of the appliance can get very hot and may cause burns. Particular caution is advised when children or vulnerable persons are present.
- Never cover the appliance.
- Never install the appliance directly below a wall socket.
- Install the appliance in such a way that the control equipment cannot be touched by a person in the bath or shower.
- In the case of a permanent connection, the appliance must be able to be separated from the power supply by an isolator that disconnects all poles with at least 3 mm contact separation.
- In the event of damage to the power cable this must always be replaced by a qualified electrician authorised by the manufacturer, using original spare parts.
- Secure the appliance as described in chapter “Installation / Installation”.
OPERATION
General information
Document information
The chapter Operation is intended for users and contractors. The chapter Installation is intended for heating contractors.
![]()
Please read
Read these instructions carefully before using the appliance and retain them for future reference. Pass on the instructions, if required, to a new user.
Key to symbols
Symbols in this documentation:
In these instructions you will come across symbols and highlights. These have the following meaning:

» The”»” symbol indicates that you should do something. The action you need to take is described step by step.
Safety
Intended use
- The appliance is used to dry wet hands.
- This appliance is designed for domestic use. It can be used safely by untrained persons. The appliance can also be used in a non- domestic environment, e.g. in a small business, as long as it is used in the same way.
- Any other use beyond that described shall be deemed inappropriate. Observation of these instructions is also part of the correct use of this appliance. Any modifications or conversions to the appliance void all warranty rights.
Safety information
Risk of burning!
- Parts of the appliance can get very hot and may cause burns. Particular caution is advised when children or vulnerable persons are present.
WARNING Injury
- Keep children under the age of 3 away from the appliance if constant supervision cannot be guaranteed.
Children from the age of 3 to 7 may switch the appliance on and off, provided they are supervised or have been instructed in the safe operation of the appliance and understand any risks that may result there from. This is subject to the appliance having been installed as described. Children from the age of 3 to 7 must not plug the power cable into its socket nor regulate the appliance.
The appliance may be used by children aged 8 and older and persons with reduced physical, sensory or mental capabilities or a lack of experience and know-how, provided that they are supervised or they have been instructed on how to use the appliance safely and have understood the resulting risks.
Children must never play with the appliance. Children must never clean the appliance or perform user maintenance unless they are supervised.
Fire hazard!
- Never place any objects on top of the appliance. Never lean any objects against it or place any objects between the appliance and the wall.
- Never place any flammable, combustible or insulating objects or materials, such as laundry, blankets, magazines, containers with floor polish or napsan, spray cans or similar, in direct proximity of the appliance.
Never operate this appliance …
- in rooms where the appliance is at risk from fire or explosion as a result of chemicals, dust, gases or vapors.
- in the direct proximity of pipes or receptacles that carry or contain flammable or explosive materials.
- if work such as laying cables, grinding or sealing is carried out in the installation room.
- if sprays, floor polish or similar products containing napsan are used. Ensure the room is adequately ventilated before using the appliance.
Danger of electrocution!
- Never insert any objects into any aperture in the appliance. This can lead to fatal electric shocks and/or fires.
Never cover!
- Never cover the appliance to prevent overheating.
Note
- Never operate the appliance if the minimum clearances to adjacent surfaces are not maintained.
- If you use the appliance in workshops or other rooms where flue gases, oil and petrol vapours, etc. are present, or solvents and chemicals are used, lasting, unpleasant odours and possibly contamination can result.
- Ensure that the air inlet aperture at the bottom and back of the appliance is always open.
- Maintain the minimum clearance (see chapter Specification) to the air outlet grille at the bottom. The hot air must be able to escape unimpeded.
- Never spray the appliance with a water hose to clean it (see chapter Cleaning, care and maintenance).
CE designation
The CE designation shows that the appliance meets all essential requirements according to the:
- Electromagnetic Compatibility Directive
- Low Voltage Directive
Test symbols
- See type plate.
Equipment description
The appliance works without contact. It is fitted with an optical proximity sensor, which automatically activates the heater and fan when your hands approach the appliance. The response
area is between 4 cm and 13 cm beneath the air outlet grille. When you remove your hands, the appliance stops after approx. three seconds. The casing design makes it virtually impossible to use the appliance as a depository for cigarettes or similar. Avoid any wall offset at the top of the appliance to maintain this effect. The HTE 5 is also protected against damage by its robust diecast aluminum casing.
Operation
- Shake your wet hands over the sink before drying. This reduces the drying time and saves energy.
- Then hold your hands under the air outlet grille and rub them together in the hot air current.
Cleaning, care, and maintenance
A damp cloth is sufficient for cleaning the casing. Never use abrasive or corrosive cleaning agents. Go over the casing with a soft cloth. Never spray the appliance using a water hose or other tools. This would let water penetrate the appliance.
What to do if …
… the appliance does not start
- Check the fuses/ MCBs in your fuse box.
- Covering the optical proximity sensor impairs the function of the appliance. In this case, the appliance stops after approx. three seconds to avoid constant operation. In the event of a fault, check whether the sensor surface is clear. Once you have removed any objects, the appliance will work correctly again.
… the fan is running but there is no hot air
- When overheating occurs, the heater bank is switched off but the fan continues to run for cooling purposes. The temperature sensor switches the heater on again approx. two minutes after the appliance stops.
The type plate
The type plate is located at the bottom of the appliance.
INSTALLATION
Safety
- Only qualified contractors should carry out installation, commissioning, maintenance and repair of the appliance.
General safety instructions
- We guarantee trouble-free operation and operational reliability only if the original accessories and spare parts intended for the appliance are used .
Instructions, standards and regulations
Note
- Observe all applicable national and regional regulations and instructions.
- When installing the appliance in rooms with a bath and / or shower, take the relevant safety zone into account. Install the appliance in accordance with the information on the type plate.
- Refer to VDE 0100 – 701 for the standard applicable to safety zones in Germany.
Installation
Installation information
- Fit the appliance flat against a solid wall (without any offset) to prevent damage caused by vandalism.
Installation conditions and preparations
- Always fit the appliance to a vertical wall that is temperature-resistant to over 90 °C.
- Always maintain the specified minimum clearances.
Power supply
Note!
Observe the type plate. The specified voltage must match the mains voltage.
Danger of electrocution!
Only use a permanent connection to the power supply. The appliance must be able to be separated from the mains power supply by an isolator that disconnects all poles with at least 3 mm contact separation.
- Select a power cable with an adequate cross-section.
- Connect the power cable in accordance with the wiring diagram (see Specification).

- Plastic bracket
The plastic bracket fixed to the inside of the HTE 5 casing cover provides additional insulation for the power cable and terminal.
Installation
- Danger of electrocution!
- Carry out all electrical connection and installation work in accordance with relevant regulations.
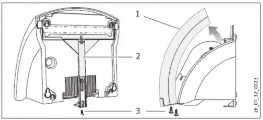
Removing the HTE 4 casing cover

- Casing cover
- Locking slide
- Screws
- Undo the screws on the casing cover and locking slide.
- Pull the locking slide down.
- Remove the casing cover.
Removing the HTE 5 casing cover
- Undo the locking screw.
- Pull the locking slide down.
- Remove the casing cover.

- Casing cover
- Locking slide
- Locking screw
Wall mounting

- Cutout the drilling template. This can be found at the end of these instructions.
- Transfer the four mounting points on to the wall using the drilling template. Pay attention to the length and position of the power cable. Use our height guidelines to help you (see Specification).
- Drill the fixing holes and insert rawl plugs.
- Insert the lower fixing screws into the wall.


- Cable entry
- Pull the power cable through the cable entry in the back panel of the appliance.
- Fit the appliance with the keyhole fixings on to the fixing screws.
- Secure the appliance to the wall using two more screws.
- Connect the power cable to the appliance.
Note
- Ensure that the wires of the power cable are not near the fan motor.
- Observe the maximum length of the power cable. (See Specification)
Fitting the HTE 4 casing cover

- Place the casing cover on the appliance so that it is slightly tilted and pivot it towards the wall.
- Push the locking slide up as far as it will go.
- Secure the locking slide and the casing cover with screws.
- Fitting the HTE 5 casing cover

- Slide the casing cover, slightly tilted, over the appliance towards the wall as far as it will go. Ensure that the hooks provided on the bottom of the casing cover catch behind the back panel of the appliance.
- To lock in place, lift the casing cover slightly at the front and push the locking slide up as far as it will go.
- Secure the locking slide with screws.
Appliance handover
Explain the functions of the appliance to the user. Draw special attention to the safety information. Hand the operating and installation instructions to the user.
Specification

Wiring diagram

Clearances

- Detection range of IR proximity sensor
Guidelines for installation height
Note: Height (mm) indicates the clearance between the bottom of the appliance and the floor.

Dimensions

Guarantee
The guarantee conditions of our German companies do not apply to appliances acquired outside of Germany. In countries where our subsidiaries sell our products a guarantee can only be issued by those subsidiaries. Such guarantee is only granted if the subsidiary has issued its own terms of guarantee. No other guarantee will be granted.
We shall not provide any guarantee for appliances acquired in countries where we have no subsidiary to sell our products. This will not affect warranties issued by any importers.
Environment and recycling
We would ask you to help protect the environment. After use, dispose of the various materials in accordance with national regulations.
AUSTRALIA CUSTOMER SERVICE AND WARRANTY
Stiebel Eltron Warranty for Hand Dryers & Space Heaters Models HTE, ULTRONIC, CNS, CK & CK Z.
Who gives the warranty
- The warranty is given by Stiebel Eltron (Aust) Pty Ltd (A.B.N. 82 066 271 083) of 294 Salmon Street, Port Melbourne, Victoria, 3207 (“we”, “us” or “our”).
The warranty
- This warranty applies to Stiebel Eltron Hand Dryers and Space Heaters – Models HTE 4, HTE 5, ULTRONIC, CNS 100, CNS 150, CNS 200, CNS 250, CK 20S and CKZ 20S (the “unit”) manufactured after 1 May 2015.
- Subject to the warranty exclusions we will repair or replace, at our absolute discretion, a faulty component in your unit free of charge if it fails to operate in accordance with its specifications during the warranty period.
- If we repair or replace a faulty component to your unit under this warranty, the warranty period is not extended from the time of the repair or replacement.
- The warranty period commences on the date of purchase of the unit. Where the date of purchase is not known, then the warranty period will commence 2 months after the date of manufacture.
- The warranty period for a unit is shown in the table below.
| Component | Warranty period |
| All components | 5 years from the date of purchase of the unit. |
Your entitlement to make a warranty claim
- You are entitled to make a warranty claim if:
- you own the unit or if you have the owner’s consent to represent the owner of the unit;
- you contact us within a reasonable time of discovering the problem with the unit;
How you make a warranty claim
- To make a warranty claim you must provide us with the following information:
- The model number of the unit;
- A description of the problem with the unit;
- The name, address and contact details (such as phone number and e-mail address) of the owner;
- The address where the unit is installed and the location (e.g. in living room);
- The serial number of the unit;
- The date of purchase of the unit and the name of the seller of the unit;
- The date of installation of the unit where appropriate;
- A copy of the certificate of compliance when the unit was installed where appropriate.
- The contact details for you to make your warranty claim are:
- Name: Stiebel Eltron (Aust) Pty Ltd
- Address: 294 Salmon Street, Port Melbourne,Victoria, 3207
- Telephone: 1800 153 351
- (8.00 am to 5.00 pm AEST Monday to Friday)
- Contact person: Customer Service Representative
- E-mail: [email protected]
- We will arrange a suitable time with you to inspect and test the unit.
Warranty exclusions
- We may reject your warranty claim if:
- The unit was not installed by registered and qualified tradespeople, where required.
- The unit was not installed and commissioned:
- in Australia;
- in accordance with the Operating and Installation Guide; and
- in accordance with the relevant statutory and local requirements of the State or Territory in which the unit is installed.
- The unit has not been operated or maintained in accordance with the Operating and Installation Guide.
- The unit does not bear its original Serial Number or Rating Label.
- The unit was damaged by any or any combination of the following:
- normal fair wear and tear;
- connection to an incorrect power supply;
- connection to faulty equipment, such as faulty circuit breaker;
- accidental damage;
- act of God, including damage by flood, storm, fire, lightning strike and the like;
- wiring not to AS3000 Standards;
- ingress of vermin
- The unit was damaged before it was installed e.g. it was damaged in transit.
- An unauthorised person has modified, serviced, repaired or attempted to repair the unit without our consent.
- Nongenuine parts other than those manufactured or approved by us have been used on the unit.
- We may charge you:
- for any additional transport costs if the unit is installed more than 30 kilometres from our closest authorised service technician.
- for the extra time it takes our authorised service technician to access the unit for inspection and testing if it is not sited in accordance with the Operating and Installation Guide and not readily accessible for inspection.
- for any extra costs of our authorised service technician to make the unit safe for inspection.
- You must ensure that access to the unit by our authorised service technician is safe and free from obstruction.
- Our authorised service technician may refuse to inspect and test the unit until you provide safe and free access to it, at your cost.
- If we reject your warranty claim in accordance with clause 11, we may charge you for our authorised service technician’s labour costs to inspect and test the unit.
- In order to properly test the unit we may remove it to another location for testing.
Australian Consumer Law
- Our goods come with guarantees that cannot be excluded under the Australian Consumer Law. You are entitled to a replacement or refund for a major failure and compensation for any other reasonably foreseeable loss or damage. You are also entitled to have the goods repaired or replaced if the goods fail to be of acceptable quality and the failure does not amount to a major failure.
- The Stiebel Eltron warranty for the unit is in addition to any rights and remedies you may have under the Australian Consumer Law.
CONTACT
Deutsch land
- STIEBEL ELTRON GmbH & Co. KG
- Dr. -Stiebel-Stra~e 33 I 37603 Holzminden
- Tel: 05531 702 -0 I
- Fax: 05531 702 -480
- [email protected]
- www.stiebel-eltron.de
- Verkauf Tel. 05531 702-110
- Fax: 05531 702-95108 | [email protected]
- Kundendienst Tel. 05531 702-111
- Fax: 05531 702-95890 | [email protected]
- Ersatzteilverkauf Tel. 05531 702-120
- Fax: 05531 702-95335 | [email protected]
Australia
- STIEBEL ELTRON Australia Ply. Ltd.
- 294 Salmon Street Port Melbourne VIC 3207
- Tel: 03 9645-1833
- Fax: 03 9644-5091
- [email protected]
- www.stiebel-eltron.com.au
Austria
- STIEBEL ELTRON Ges.m.b.H.
Gewerbegebiet Neubau-Nord Margaritenstralse 4 A 4063 Horsching - Tel: 07221 74600-0
- Fax: 07221 74600-42
- [email protected]
- www.stiebel-eltron.at
Belgium
- STIEBEL ELTRON bvba/spr l
- ‘IHofve ld 6 – D1 1702 Groot-Bijgaarden
- Tel: 02 42322-22
- Fax: 02 42322-12
- [email protected]
- www.stiebel-eltron.be
China
- STIEBEL ELTRON (Tianjin) Electric Appliance Co., Ltd.
- Plant (3, XEDA International Industry City
- Xiqing Economic Development Area 300385 Tianjin
- Tel: 022 8396 2077 I
- Fax: 022 8396 2075
- [email protected]
- www.stiebeleltron.en
Czech Republic
- STIEBEL ELTRON spol.sr.o.
- Dopravaku 749/3 | 184 oo Praha 8
- Tel: 251116-111
- Fax: 235512-122
- [email protected]
- www.stiebel-eltron.cz
Finland
- STIEBEL ELTRON OY
- Kapi nakuja 1 04600 Mantsala
- Tel: 020 720-9988
- [email protected]
- www.stiebel-eltron.fi
France
- STIEBEL ELTRON SAS
- 7-9, rue des Selliers
- B.P 85107 I 57073 Metz-Cedex 3
- Tel: 0387 7438-88 I
- Fax: 0387 7468-26
- [email protected]
- www.stiebel-eltron.fr
Hungary
STIEBEL ELTRON Kit.
Gyaru. 2 I 2040 Budaors
Tel. 01 250-6055 | Fax 01 368-8097
[email protected]
www.stiebel-eltron.hu
Japan
- NIHON STIEBEL Co. Ltd .
- Kawa Kawasaki Nishiguchi Building BF 66-2 Horikawa-Cho
- Saiwai-Ku I 212-0013 Kawasaki
- Tel: 044 540-3200
- Fax: 044 540-3210
- [email protected]
- www.nihanstiebel.co.jp
Netherlands
- STIEBEL ELTRON Nederland B.V.
- Daviottenweg 36 I 5222 BH ‘s-Hertogenbosch
- Tel.:073 623-0000 I
- Fax: 073 623-1141
- [email protected]
- www.stiebel-eltron.nl
New Zealand
- Stiebel Eltron NZ Limited
- 61 Barrys Point Road Auckland 0622
- Tel:+64 9486 2221
- [email protected]
- www.stiebel-eltron.co.nz
Poland
STIEBEL ELTRON Polska Sp. z 0.0 .
ul. Dzialkowa 2 | 02-234 Warszawa
Tel. 022 60920-30 | Fax 022 60920-29
[email protected]
www.stiebel-eltron.pl
Russia
- STIEBEL ELTRON LLC RUSSIA
- Urzhumskaya street 4, building 2 I 129343 Moscow
- Tel: +7 495 125 o 125
- [email protected]
- www.stiebel-eltron.ru
Slovakia
- STIEBEL ELTRON Slovakia, s.r.o .
- Hlavna 1 058 01 Poprad
- Tel: 052 7127-125
- Fax: 052 7127-148
- [email protected]
- www.stiebel-eltron.sk
Switzerland
- STIEBEL ELTRON AG
- lndustrie West
- Gass 8 I 5242 Lupfig
- Tel: 056 4640-500
- Fax: 056 4640-501
- [email protected]
- www.stiebel-eltron.ch
Thailand
- STIEBEL ELTRON Asia Ltd.
- 469 Moo 2 Tambo l Klong-Jik
- Amphur Bangpa-ln | 13160 Ayutthaya
- Tel: 035 220088
- Fax” 035 221188
- [email protected]
- www.stiebeleltronasia.com
United Kingdom and Ireland
- STIEBEL ELTRON UK Ltd.
- Un it 12 Stadium Court
- Stadium Road I CH62 3RP Bromborough
- Tel: 0151 346-2300
- Fax 0151 334-2913
- [email protected]
- www.stiebel-eltron.co.uk
United States of America
- STIEBEL ELTRON , Inc.
- 17 West Street I 01088 West Hatfield MA
- Tel: 0413 247-3380
- Fax: 0413 247-3369
- [email protected]
- www.stiebel-eltron-usa.com

Subject to errors and technical changes!
References
eltron.at
ELTRON • IT-oplossingen op maat. Gespecialiseerd in facturatiesoftware
This domain has been registered for a customer by nicsell
eltron.co.uk
eltron.com.au
eltron.cz
Sachverständigenbüro ELTRON - Startseite
The domain name eltron.nl is available for rent
ELTRON
eltron.ru
Tankless Water Heater | Renewable Energy | Stiebel Eltron USA
STIEBEL ELTRON | Technik zum Wohlfühlen
Warmtepompen - warwater - verwarming | STIEBEL ELTRON
STIEBEL ELTRON | Wärmepumpen-Spezialist
Supplier of Heat Pumps, Water Heaters, Ventilation and Room Heaters in New Zealand - STIEBEL ELTRON New Zealand
Home - Stiebel Eltron UK
STIEBEL ELTRON International
Instantaneous Hot Water Systems, Electric Water Heaters - STIEBEL ELTRON
STIEBEL ELTRON | Tepelná čerpadla | větrání | vytápění | ohřev vody
STIEBEL ELTRON | Technik zum Wohlfühlen
STE - Thermia Redirect | Thermia
STIEBEL ELTRON - Fabricant Allemand de pompes à chaleur
STIEBEL ELTRON - Főoldal
STIEBEL ELTRON
STIEBEL ELTRON | Pompy ciepła | Wentylacja | Ogrzewacze wody i pomieszczeń
STIEBEL ELTRON | Официальный сайт | Интернет-магазин
STIEBEL ELTRON | Ohrev vody, vykurovanie, vetranie, chladenie
世创电能(原斯宝亚创)| STIEBEL ELTRON CHINA
stiebeleltronasia.com



















