LOX LOCKING ES10M Water Resistant Door Strike Installation Guide
INTRODUCTION
The ES10 series strikes are designed to be morticed into a door frame on a single swing door equipped with either a mortice lock or a cylindrical tongue lock. Rated strength 1200 kg
- ES10 – Unmonitored weather resistant ( IP56 ) Electric Door Strike
- ES10M – Monitored non weather resistant Electric Door Strike
When the door is closed, ensure that there is no back pressure on the front of the strike keeper
WIRING AND POWER INPUT REQUIREMENTS
- The ES10 series are supplied with two voltage selection plugs for operation on either 12VDC or 24VDC.
- If space does not permit the use of the plug/s provided they may be cut off and wired as shown below.
- AC power may also be used by adding a bridge rectifier — see below.
- Note that direct connection of AC power will damage the strike and is not covered by warranty.
- Power to the ES10 series is not polarized.
SELECT EITHER THE 12V OR 24V SELECTOR PLUG TO SUIT THE VOLTAGE BEING USED, OR THE PLUGS MAY BE CUT OFF AND WIRED AS BELOW.
ALTERNATE WIRING WITHOUT VOLTAGE SELECTION PLUGS
- 12VDC (0.20A) Non Polarised

- 24VDC (0.10A) Non Polarised

ALTERNATE WIRING USING AC 12 – 24 VOLTS WITH A BRIDGE RECTIFIER
- For AC operation a Jaycar ZR1304 Bridge Rectifier is recommended.

ES10M DSS DOOR STATUS SWITCH WIRING

PROBLEM | POSSIBLE CAUSE | SOLUTION |
DOOR WILL NOT LOCK | INCORRECT VOLTAGE SELECTION | CHECK VOLTAGE PLUG BEING USED |
| WILL NOT WORK IN ONE ORIENTATION | 24V RATHER THAN 12V SELECTED | CHECK VOLTAGE PLUG OR WIRING |
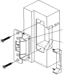
DIMENSIONS AND MOUNTING OPTIONS
- TIMBER DOOR FRAME
- Remove rubber plug prior to assembly of extension lips (2 places)
- Depth of lip cutout will vary due width of door frame and mounting technique
- 15mm, 25mm, 50mm, 75mm extension lips are available options

- METAL DOOR FRAME



CHANGING LOCK FUNCTION FROM FAIL SAFE TO FAIL SECURE


WARNING:
DO NOT ATTEMPT TO SWIVEL THE KEEPER WHILE CHANGING THE FUNCTION, THIS WILL DAMAGE THE BARBELL MECHANISM.
PROCEDURES TO CONVERT FAIL SECURE (FIGURE 4A) TO FAIL SAFE (FIGURE 4B):
- Remove the spring screw from the end part of the strike body.
- Remove the Barbell to reverse in position with long part inside and short part out.
- Replace the spring screw.
PROCEDURES TO CONVERT FAIL SAFE (FIGURE 4B) TO FAIL SECURE (FIGURE 4A):
- Remove the spring screw from the end part of the strike body.
- Remove the Barbell to reverse in position with short part inside and long part out.
- Replace the spring screw.
ORDERING
PART NUMBER | PRODUCT DESCRIPTION |
ES10 | NON MONITORED HIGH SECURITY ELECTRIC STRIKE |
| ES10M | MONITORED HIGH SECURITY ELECTRIC STRIKE |
ES10-EL15 | ES10 EXTENSION LIP 15MM |
| ES10-EL25 | ES10 EXTENSION LIP 25MM |
ES10-EL50 | ES10 EXTENSION LIP 50MM |
| ES10-EL75 | ES10 EXTENSION LIP 50MM |





























