MeTra 95-7398 Hyundai Venue Vehicles Dash Kit Instruction Manual
KIT FEATURES
- ISO DDIN radio provision
- Painted scratch resistant matte black with silver vent trim
KIT COMPONENTS
A) Radio trim panel
B) Radio brackets
C) Panel clips (5)
D) Panel clip legs (3)
E) #4 Phillips screws (12)
WIRING & ANTENNA CONNECTIONS (sold separately)
See metra-online.com or axxessinterfaces.com for audio and SWC interface options Antenna Adapter: 40-KI11
TOOLS REQUIRED
- Panel removal tool
- Socket wrench
- Phillips screwdriver
- Cutting tool
Attention! Let the vehicle sit with the key out of the ignition for a few minutes before removing the factory radio. When testing the aftermarket equipment, ensure that all factory equipment is connected before cycling the key to ignition.
DASH DISASSEMBLY
- Unclip and remove the center dash trim panel which includes the a/c vents. This panel is incredibly difficult to remove. Start from the top clips then work down. (Figure A)

- Remove (4) Phillips screws securing the radio. Slide the radio out, then unplug and remove. (Figure B)

- Remove (4) Phillips screws securing the factory hazard switch panel to the radio trim panel and (1) Phillips screw per a/c vent then unclip and remove the panel and vents from the factory radio trim panel. (Figure C)

Continue to Kit Preparation
KIT PREPARATION
- Cut and remove the area marked in the sub dash and bend metal bracket out of the way to make room for the radio chassis. (Figure A)

- Secure the factory hazard button panel to the radio trim panel using the factory hardware. Screws have also been provided if needed. (Figure B)

- Secure the factory a/c vents to the radio trim panel using the factory hardware. Screws have also been provided if needed. (Figure C)

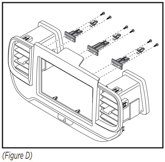
- Secure the (3) panel clip legs to the radio trim panel with (6) #4 screws provided. (Figure D)
- Attach the (5) supplied panel clips to the panel clip legs and radio trim panel. (Figure D)

KIT ASSEMBLY
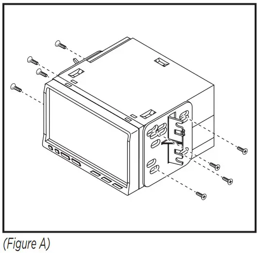
- Attach the radio brackets to the radio using screws supplied with the radio, and then secure into the dash opening (Figure A.

- Locate the factory wiring harness and antenna connector in the dash, and complete all necessary connections to the radio. Metra recommends using the proper mating adapter from Metra and/ or AXXESS. Re-connect the negative battery terminal and test the radio for proper operation.
- Snap the radio trim panel over the radio and reassemble the dash in reverse order of disassembly.
Customer Support
Having difficulties? We’re here to help.
Contact our Tech Support line at:
386-257-1187
Or via email at:
[email protected]
Tech Support Hours (Eastern Standard Time)
Monday – Friday: 9:00 AM – 7:00 PM
Saturday: 10:00 AM – 7:00 PM
Sunday: 10:00 AM – 4:00 PM
KNOWLEDGE IS POWER
Enhance your installation and fabrication skills by enrolling in the most recognized and respected mobile electronics school in our industry.
Log onto www.installerinstitute.com or call 800-354-6782 for more information and take steps toward a better tomorrow.
Metra recommends MECP certified technicians























