![]()
99-7019
INSTALLATION INSTRUCTIONS

Mitsubishi Mirage 2017-2020
Mitsubishi Mirage G4 2018-2020
Visit MetraOnline.com for more detailed information about the product and up-to-date vehicle specific applications
KIT FEATURES
- ISO DIN radio provision with pocket
- High polished processing provides a gloss black finish that’s similar to both the aftermarket radio and factory finish.
KIT COMPONENTS
• A) Radio trim panel • B) Radio brackets • C) Pocket • D) Phillips screws (8)
A
B
C
D 
WIRING & ANTENNA CONNECTIONS (sold separately)
See metra-online.com or axxessinterfaces.com for audio and SWC interface options
Wiring harness: 70-7005
Antenna Adapter: Not required
TOOLS REQUIRED
- Panel removal tool
- Socket wrench
- Phillips screwdriver
Attention! Let the vehicle sit with the key out of the ignition for a few minutes before removing the factory radio. When testing the aftermarket equipment, ensure that all factory equipment is connected before cycling the key to ignition.
DASH DISASSEMBLY
- Unclip and remove the trim panel surrounding the radio including the vents. (Figure A)
- Remove (4) screws securing the radio. Slide the radio out, then unplug and remove. (Figure B)
Continue to Kit Assembly


(Figure A) (Figure B)
![]()
1.800.221.0932 | MetraOnline.com
KIT ASSEMBLY
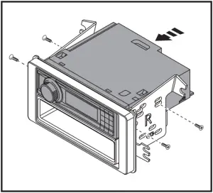
- Attach the radio brackets to the radio trim panel using (4) #(8) x 3/8″ Phillips screws supplied. (Figure A)
- Attach the pocket to the brackets using the (4) supplied #8 x 3/8″ Phillips screws. (Figure B)
- Slide the radio into the completed assembly, and then secure it to the assembly using screws supplied with the radio. (Figure C)
- Locate the factory wiring harness and antenna connector in the dash, and complete all necessary connections to the radio. Metra recommends using the proper mating adapter from Metra and/ or AXXESS. Re-connect the negative battery terminal and test the radio for proper operation.
- Reassemble the dash in reverse order of disassembly.



(Figure A) (Figure B) (Figure C)
95-7019
INSTALLATION INSTRUCTIONS
Having difficulties? We’re here to help.
Contact our Tech Support line at:
386-257-1187
Or via email at:
[email protected]
Tech Support Hours (Eastern Standard Time)
Monday – Friday: 9:00 AM – 7:00 PM
Saturday: 10:00 AM – 7:00 PM
Sunday: 10:00 AM – 4:00 PM
KNOWLEDGE IS POWER
Enhance your installation and fabrication skills by enrolling in the most recognized and respected mobile electronics school in our industry. Log onto www.installerinstitute.com or call 800-354-6782 for more information and take steps toward a better tomorrow.
Metra recommends MECP certified technicians
Metra. The World’s Best Kits.® MetraOnline.com
© COPYRIGHT 2020 METRA ELECTRONICS CORPORATION REV. 12/22/20 INST99-7019

Metra recommends MECP certified technicians














