Carrier CRFLUEDS006A00 Single Package Rooftop Units Gas Heating or Electric Cooling Select 12.5 to 27.5 Ton Flue Discharge Deflector Accessory

PRODUCT USAGE
Carrier Units
| MODEL | UNIT SIZES |
| 48FC | 20, 24, 28, 30 |
| 48GC | 20, 24, 28 |
| 48HC | 17, 20, 24, 28 |
| 48LC | 14,17, 20, 24, 26 |
| 48TC | 17,18, 20, 21, 24, 25, 28, 29, 30 |
Bryant Units
| MODEL | UNIT SIZES |
| 582K | 20, 24, 28, 30 |
| 581K | 20, 24, 28 |
| 581J | 17, 20, 24, 28 |
| 580J | 17, 18, 20, 21, 24, 25, 28, 29, 30 |
ICP Units
| MODEL | UNIT SIZES |
| RGV | 210, 240, 300, 336 |
| RGW | 210, 240, 300 |
| RGH | 181, 183, 210, 213, 240, 243, 300, 303 |
| RGS | 210, 214, 240, 244, 300, 304, 333, 336 |
NOTE: Not all unit sizes may be available at this time.
PACKAGE CONTENTS
| ACCESSORY PART NUMBER | CONTENTS |
| CRFLUEDS006A00 | Flue Deflector, pre-assembled |
SAFETY CONSIDERATIONS
Installation of this accessory can be hazardous due to system pressures, electrical components, and equipment location (such as a roof or elevated structure). Only trained, qualified installers and service technicians should install, start-up, and service this equipment.
When installing this accessory, observe precautions in the literature, labels attached to the equipment, and any other safety precautions that apply:
- Follow all safety codes
- Wear safety glasses and work gloves
- Use care in handling and installing this accessory
It is important to recognize safety information. This is the safetyalert symbol:
. When you see this symbol on the unit and in instructions or manuals, be alert to the potential for personal injury.
Understand the signal words DANGER, WARNING, CAUTION, and NOTE. These words are used with the safety-alert symbol. DANGER identifies the most serious hazards which will result in severe personal injury or death. WARNING signifies hazards which could result in personal injury or death. CAUTION is used to identify unsafe practices, which may result in minor personal injury or product and property damage. NOTE is used to highlight suggestions which will result in enhanced installation, reliability, or operation.
| IMPORTANT: This book contains instructions for the installation of accessory flue deflector assembly CRFLUEDS006A00 on the models and sizes listed in the Product Usage tables. Do not attempt to install this accessory on any unit NOT INCLUDED in these tables. |
![]() |
ELECTRICAL SHOCK HAZARD Failure to follow this warning could result in personal injury and/or death. Before beginning any modification, close main gas supply shutoff valve. Be certain that the main line electrical disconnect switch is in the OFF position and the lockout tag is installed. Tag disconnect switch and gas valve with suitable warning labels. |
GENERAL
The accessory flue discharge deflector directs unit flue exhaust vertically instead of horizontally. This allows for a smaller unit clearance due to flue exhaust.
INSTALLATION
- Close the manual shutoff valve on the gas supply piping.
- Shut off power to unit and install lockout tag.
- Remove existing flue hood from unit. Save screws. (See Fig. 1.)

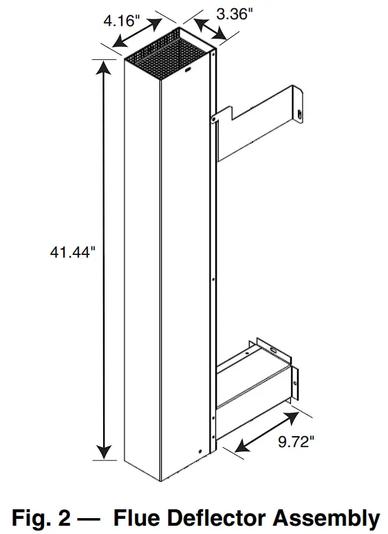
- Align deflector assembly (Fig. 2) with outlet and remove screw in center post that lines up with upper bracket. Save screw.

- Fasten deflector assembly inlet with screws removed in Step 3 to unit flue outlet. (See Fig. 3.)

- Align upper bracket with empty screw hole in center post.
Secure with screw removed in Step 4. (See Fig. 3.) - Return power to unit and remove lockout tag.
- Open the manual shutoff valve on the gas supply piping
SERVICE
Remove and clean the screen periodically to ensure proper airflow and heating efficiency. Inspect full length of flue stack for any blockages which could impair flue performance. Inspect every fall, and periodically during heating season.
Manufacturer reserves the right to discontinue, or change at any time, specifications or designs without notice and without incurring obligations.


















![Reznor Gas-fired, Balanced-flue Or Power-vented Unit Heaters User Manual[rhc 4000(m) Djl,rhc 4000(m) Rjl] Reznor Gas-fired, Balanced-flue Or Power-vented Unit Heaters User Manual[rhc 4000(m) Djl,rhc 4000(m) Rjl]](https://static-data1.manualsee.com/1/img/497/70217/2021/02/Reznor-Gas-Fired-Balanced-Flue-or-Power-Vented-Unit-Heaters-User-ManualRHC-4000M-DJLRHC-4000M-RJL.jpg)


