TRANE FIAHALT002* Precedent Packaged Rooftop Units Instruction Manual

SAFETY WARNING
Only qualified personnel should install and service the equipment. The installation, starting up, and servicing of heating, ventilating, and air-conditioning equipment can be hazardous and requires specific knowledge and training. Improperly installed, adjusted or altered equipment by an unqualified person could result in death or serious injury..
When working on the equipment, observe all precautions in the literature and on the tags, stickers, and labels that are attached to the equipment.
Introduction
Read this manual thoroughly before operating or servicing this unit.
Warnings, Cautions, and Notices
Safety advisories appear throughout this manual as required. Your personal safety and the proper operation of this machine depend upon the strict observance of these precautions.
The three types of advisories are defined as follows:
Indicates a potentially hazardous situation which, if not avoided, could result in death or serious injury. situation which, if not avoided, could result in minor or moderate injury. It could also be used to alert against unsafe practices.
NOTICE Indicates a situation that could result in equipment or property-damage only accidents.
Important Environmental Concerns
Scientific research has shown that certain man-made chemicals can affect the earth’s naturally occurring stratospheric ozone layer when released to the atmosphere. In particular, several of the identified chemicals that may affect the ozone layer are refrigerants that contain Chlorine, Fluorine and Carbon (CFCs) and those containing Hydrogen, Chlorine, Fluorine and Carbon (HCFCs). Not all refrigerants containing these compounds have the same potential impact to the environment. Trane advocates the responsible handling of all refrigerants-including industry replacements for CFCs and HCFCs such as saturated or unsaturated HFCs and HCFCs.
Important Responsible Refrigerant Practices
Trane believes that responsible refrigerant practices are important to the environment, our customers, and the air conditioning industry. All technicians who handle refrigerants must be certified according to local rules. For the USA, the Federal Clean Air Act (Section 608) sets forth the requirements for handling, reclaiming, recovering and recycling of certain refrigerants and the equipment that is used in these service procedures. In addition, some states or municipalities may have additional requirements that must also be adhered to for responsible management of refrigerants. Know the applicable laws and follow them.
Copyright
This document and the information in it are the property of Trane, and may not be used or reproduced in whole or in part without written permission. Trane reserves the right to revise this publication at any time, and to make changes to its content without obligation to notify any person of such revision or change.
Trademarks
All trademarks referenced in this document are the trademarks of their respective owners.
General Information – FIAHALT002*
Follow these instructions to convert gas package unit models from sea level operation to high altitude operation.
Important: Follow instructions closely. This is a critical procedure
Inspection
- Unpack all components of the high altitude conversion
- Check carefully for shipping If any damage is found, report it immediately, and file a claim against the transportation company.
- This kit contains the correct orifices for high altitude Refer to Table 1, p. 5(for FIAHALT002*) to determine proper orifice selection.
Parts List
- Six (6) Orifices, Drill #35 – 1100 in. Dia.
- Six (6) Orifices, Drill #38 – 1015 in. Dia.
- Four (4) Orifices, Drill #32 – 1160 in. Dia.
- Six (6) Orifices, Drill #33 – 1130 in. Dia.
- Three (3) Orifices, Drill #43 – 0890 in. Dia.
Table 1. High altitude conversion for FIALPKT002*
| Unit | Gas Input Rating (MBh) | Orifice Size |
| YSJ072A***L | 80 | DRILL #43 |
| YSJ072A***M | 120 | DRILL #35 |
| YSJ072A***H | 150 | DRILL #35 |
| YSJ090A***L | 120 | DRILL #35 |
| YSJ090A***M | 150 | DRILL #35 |
| YSJ090A***H | 200 | DRILL #38 |
| YSJ102A***L | 120 | DRILL #35 |
| YSJ102A***M | 150 | DRILL #35 |
| YSJ102A***H | 200 | DRILL #38 |
| YSJ120A***L | 150 | DRILL #35 |
| YSJ120A***M | 200 | DRILL #38 |
| YSJ120A***H | 240 | DRILL #35 |
| YSJ150A***L | 150 | DRILL #35 |
| YSJ150A***M | 200 | DRILL #32 |
| YSJ150A***H | 250 | DRILL #33 |
Installation – FIAHALT002*
Conversion Procedure
Note: Conversion should be made prior to installation of equipment at the job site.
- Place the thermostat selector switch to the OFF position.
- Open the unit electrical disconnect switch.
WARNING
Hazardous Voltage w/Capacitors!
Failure to disconnect power and discharge capacitors before servicing could result in death or serious injury.
Disconnect all electric power, including remote disconnects and discharge all motor start/run capacitors before servicing. Follow proper lockout/ tagout procedures to ensure the power cannot be inadvertently energized. Verify with a CAT III or IV voltmeter rated per NFPA 70E that all capacitors have discharged. - Shut off gas supply to the unit
- Remove gas valve access panel.
- Break pipe union.
- Remove pipe from street elbow.
- Remove four screws from manifold bracket. See Figure 1, p. 6
Figure 1. Remove screws from manifold bracket
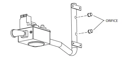
- Remove natural gas orifices from manifold. See
Figure 2, p. 6
Figure 2. Remove orifices from manifold
General Information – FIAHALT003*
Follow these instructions to convert gas package unit models from sea level operation to high altitude operation.
Important: Follow instructions closely. This is a critical procedure.
Inspection
- Unpack all components of the high altitude conversion
- Check carefully for shipping If any damage is found, report it immediately, and file a claim against the transportation company.
- This kit contains the correct orifices for high altitude Refer to Table 2, p. 7 to determine proper orifice selection.
Parts List
- Eight (8) Orifice Spuds, Drill #31 – 120 in. Dia
- Eight (8) Orifice Spuds, Drill 20 mm – 0.126 in. Dia
- One (1) High Altitude Nameplate Label
- One (1) High Altitude Conversion Literature
Table 2. Orifice size selection for FIAHALT003*
| Unit | Gas heat input rating (MBh) | Orifice Size |
| YSJ180A**(0,A)(L) | 250 | Drill 3.2 mm |
| YSJ180A**(0,A)(M) | 320 | Drill #31 |
| YSJ180A**(0,A)(H) | 400 | Drill 3.2 mm |
| YSJ210A**(0,A)(L) | 250 | Drill 3.2 mm |
| YSJ210A**(0,A)(M) | 320 | Drill #31 |
| YSJ210A**(0,A)(H) | 400 | Drill 3.2 mm |
| YSJ240A**(0,A)(L) | 250 | Drill 3.2 mm |
| YSJ240A**(0,A)(M) | 320 | Drill #31 |
| YSJ240A**(0,A)(H) | 400 | Drill 3.2 mm |
| YSJ300A**(0,A)(L) | 250 | Drill 3.2 mm |
| YSJ300A**(0,A)(M) | 320 | Drill #31 |
| YSJ300A**(0,A)(H) | 400 | Drill 3.2 mm |
Conversion Procedure
Note: Conversion should be made prior to installation of equipment at the job site.
- Place the thermostat selector switch to the OFF position.
- Open the unit electrical disconnect
- Shut off gas supply to the unit
- Remove gas valve access
- Break pipe
- Remove pipe from street
- Remove four screws from manifold bracket and two screws from valve support See Figure 3, p. 8.Figure 3. Remove screws from manifold bracket

- Remove natural gas orifices from manifold. See Figure 4, p. 8.
Figure 4. Remove gas orifices






















