2022
ROOFTOP UNIT KITS AND ACCESSORIES
507315-02
2/2022
Replaces 4/2021
BLOWER ASSEMBLY REPLACEMENT KIT
INSTALLATION INSTRUCTIONS FOR BLOWER ASSEMBLY REPLACEMENT KIT USED WITH LGM/LCM092-150U UNITS
Shipping and Packing List
Package 1 of 1 contains:
1- Blower assembly
WARNING
Improper installation, adjustment, alteration, service or maintenance can cause property damage, personal injury or loss of life. Installation and service must be performed by a licensed professional HVAC installer or equivalent, service agency, or the gas supplier
Application
The blower assembly replacement kit is used on LGM/LCM092, 102, 120, & 150U units. See table 1.
TABLE 1
Cat. No. | Assembly No. | Voltage |
| 22A41 | 612793-07 | Y |
| 22A42 | 612793-08 | G, J |
| 22A43* | 612793-09 | Y |
| 22A44* | 612793-10 | G, J |
*Corrosion protection
Installation
1- Disconnect electrical power to unit. Wait five minutes before continuing service procedures to avoid electrical shock. This will allow internal capacitors time to fully discharge.
2- Open access panels as shown in figure 1.
3- Disconnect B3 Modbus connection and PT6 connection in the blower section. See figure 2.
4- Disconnect P48 in the controls area. See figure 3.
5- Cut wire ties where necessary and pull P48 wiring harness from control area into blower section.
CAUTION
As with any mechanical equipment, contact with sharp sheet metal edges can result in personal injury. Take care while handling this equipment and wear gloves and protective clothing.

FIGURE 1
- BLOWER ACCESS DOOR
- CONTROL ACCESS
BLOWER SECTION
FIGURE 2
- PT6 PRESSURE SENSOR CONNECTION
- P43 POWER HARNESS
- BUNDLE AND SECURE EXCESS POWER WIRING
- B3 MODBUS CONTROL CONNECTOR
CONTROL AREA
FIGURE 3
- TO BLOWER
- P48
6- Remove four screws securing blower assembly to unit. See figure 5.
7- If unit was equipped with a blower proving switch, remove switch from existing blower housing. Attach the proving switch to replacement blower assembly in the same manner it was removed.
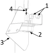
8- Disconnect the pressure tubing from PT6 pressure sensor. See figure 4. Remove two screws and remove sensor/bracket assembly (note the orientation) from existing blower housing. Install the sensor/bracket onto the replacement blower assembly. Reattach the tubing in the same manner they were removed.
PT6 SENSOR

FIGURE 4
- BRACKET SCREWS
- PT6 PRESSURE SENSOR
- MOUNTING BRACKET
- PRESSURE TUBING CONNECTION
9- Use the handle on the blower assembly to slide the assembly out of unit.
10- Install replacement blower assembly flanges into rails on the blower deck in the same manner it was removed. Secure into place using four screws shown in figure 5.
11- Uncoil P48 wiring harness secured to replacement blower housing.
12- Route P48 end of harness through unit to control area in the same manner it was removed.
13- Connect P48, B3 Modbus, and PT6 connections as shown in figures 2 and 3.
14- Bundle harnesses and use wire ties to secure kit harnesses to unit harnesses in the same manner they were removed.
SLIDE BLOWER ASSEMBLY OUT OF UNIT

FIGURE 5
- BLOWER ASSEMBLY
- BLOWER PROVING SWITCH (OPTIONAL)
- REMOVE SCREWS (2 ON EACH SIDE)
- PT6 PRESSURE SENSOR













