High Altitude Conversion Precedent Packaged Rooftop Units

Product Information
High Altitude Conversion Kit for PrecedentTM Packaged Rooftop Units
The High Altitude Conversion Kit is designed for use with Precedent TM Packaged Rooftop Units 6 to 25 Tons Two-Stage Gas. The kit includes components that enable the unit to operate at high altitudes, ensuring optimal performance and efficiency.
The kit is compatible with the following model numbers:
- FIAHALT002*
- FIAHALT003*
The kit can be used with the following unit models:
- Y(S,H)J(072-150)A**(0,A)(L,M,H)
- Y(S,H)J(180-300)A**(0,A)(L,M,H)
- YZJ(150-300)A**(0,A)(L,M,H)
- D(S,H)J(150-300)A**(0,A)(L,M,H)
It is important to note that only qualified personnel should install and service the equipment. The installation, starting up, and servicing of heating, ventilating, and air-conditioning equipment can be hazardous and requires specific knowledge and training. Improperly installed, adjusted or altered equipment by an unqualified person could result in death or serious injury. When working on the equipment, observe all precautions in the literature and on the tags, stickers, and labels that are attached to the equipment.
Product Usage Instructions
High Altitude Conversion Kit
Follow these instructions to convert gas package unit models from sea level operation to high altitude operation:
- Ensure that all field wiring is performed by qualified personnel. Improperly installed and grounded field wiring poses FIRE and ELECTROCUTION hazards. To avoid these hazards, you MUST follow requirements for field wiring installation and grounding as described in NEC and your local/state/national electrical codes.
- Wear proper personal protective equipment (PPE) for the job being undertaken. Technicians, in order to protect themselves from potential electrical, mechanical, and chemical hazards, MUST follow precautions in the manual and on the tags, stickers, and labels.
- Follow EHS policies to avoid potential hazards that could result in death or serious injury.
- Refer to the product manual for specific instructions on removing the existing orifice and replacing it with the high altitude orifice provided in the kit.
- Adjust the gas pressure regulator to the specified setting for high altitude operation as outlined in the product manual.
- Verify that all components are properly installed and secured before starting up the unit.
It is important to note that failure to follow these instructions could result in death or serious injury. Always refer to the product manual for specific instructions and guidelines.
Introduction
Read this manual thoroughly before operating or servicing this unit.
Warnings, Cautions, and Notices
Safety advisories appear throughout this manual as required. Your personal safety and the proper operation of this machine depend upon the strict observance of these precautions.
The three types of advisories are defined as follows:
- WARNING: Indicates a potentially hazardous situation which, if not avoided, could result in death or serious injury.
- CAUTION: Indicates a potentially hazardous situation which, if not avoided, could result in minor or moderate injury. It could also be used to alert against unsafe practices.
- NOTICE: Indicates a situation that could result in equipment or property-damage only accidents.
Important Environmental Concerns
Scientific research has shown that certain man-made chemicals can affect the earth’s naturally occurring stratospheric ozone layer when released to the atmosphere. In particular, several of the identified chemicals that may affect the ozone layer are refrigerants that contain Chlorine, Fluorine and Carbon (CFCs) and those containing Hydrogen, Chlorine, Fluorine and Carbon (HCFCs). Not all refrigerants containing these compounds have the same potential impact to the environment. Trane advocates the responsible handling of all refrigerants.
Important Responsible Refrigerant Practices
Trane believes that responsible refrigerant practices are important to the environment, our customers, and the air conditioning industry. All technicians who handle refrigerants must be certified according to local rules. For the USA, the Federal Clean Air Act (Section 608) sets forth the requirements for handling, reclaiming, recovering and recycling of certain refrigerants and the equipment that is used in these service procedures. In addition, some states or municipalities may have additional requirements that must also be adhered to for responsible management of refrigerants. Know the applicable laws and follow them.
WARNING
Proper Field Wiring and Grounding Required!
Failure to follow code could result in death or serious injury. All field wiring MUST be performed by qualified personnel. Improperly installed and grounded field wiring poses FIRE and ELECTROCUTION hazards. To avoid these hazards, you MUST follow requirements for field wiring installation and grounding as described in NEC and your local/state/national electrical codes.
WARNING
Personal Protective Equipment (PPE) Required!
Failure to wear proper PPE for the job being undertaken could result in death or serious injury. Technicians, in order to protect themselves from potential electrical, mechanical, and chemical hazards, MUST follow precautions in this manual and on the tags, stickers, and labels, as well as the instructions below:
- Before installing/servicing this unit, technicians MUST put on all PPE required for the work being undertaken (Examples; cut resistant gloves/sleeves, butyl gloves, safety glasses, hard hat/bump cap, fall protection, electrical PPE and arc flash clothing). ALWAYS refer to appropriate Safety Data Sheets
(SDS) and OSHA guidelines for proper PPE. - When working with or around hazardous chemicals, ALWAYS refer to the appropriate SDS and OSHA/GHS (Global Harmonized System of Classification and Labeling of Chemicals) guidelines for information on allowable personal exposure levels, proper respiratory protection and handling instructions.
- If there is a risk of energized electrical contact, arc, or flash, technicians MUST put on all PPE in accordance with OSHA, NFPA 70E, or other country-specific requirements for arc flash protection, PRIOR to servicing the unit. NEVER PERFORM ANY SWITCHING, DISCONNECTING, OR VOLTAGE TESTING WITHOUT PROPER ELECTRICAL PPE AND ARC FLASH CLOTHING. ENSURE ELECTRICAL METERS AND EQUIPMENT ARE PROPERLY RATED FOR INTENDED VOLTAGE.
WARNING
Follow EHS Policies!
Failure to follow instructions below could result in death or serious injury.
- All Trane personnel must follow the company’s Environmental, Health and Safety (EHS) policies when performing work such as hot work, electrical, fall protection, lockout/tagout, refrigerant handling, etc. Where local regulations are more stringent than these policies, those regulations supersede these policies.
- Non-Trane personnel should always follow local regulations.
Copyright
This document and the information in it are the property of Trane, and may not be used or reproduced in whole or in part without written permission. Trane reserves the right to revise this publication at any time, and to make changes to its content without obligation to notify any person of such revision or change.
Trademarks
All trademarks referenced in this document are the trademarks of their respective owners.
Revision History
Revised the unit data table for FIAHALT002* and FIAHALT003*.
General Information – FIAHALT002*
Follow these instructions to convert gas package unit models from sea level operation to high altitude operation.
Important: This is a critical procedure and instructions must be followed closely.
Inspection
- Unpack all components of the high altitude conversion kit.
- Check carefully for shipping damage. If any damage is found, report it immediately, and file a claim against the transportation company.
- This kit contains the correct orifices for high altitude conversion. Refer to Table 1, p. 4 (for FIAHALT002*) to determine proper orifice selection.
Parts List
- Six (6) Orifices, Drill #35 – 0.1100 in. Dia.
- Six (6) Orifices, Drill #38 – 0.1015 in. Dia.
- Four (4) Orifices, Drill #32 – 0.1160 in. Dia.
- Six (6) Orifices, Drill #33 – 0.1130 in. Dia.
- Three (3) Orifices, Drill #43 – 0.0890 in. Dia.
Table 1. High altitude orifice size selection for FIAHALT002*
| Tons | Unit Model Number | Gas heat input rating (MBH) | High Altitude Orifice size |
| Cooling and Gas Heat Models | |||
| 6 | Y(S,H)J072A**(0,A)L | 80 | Drill #43 |
| 6 | Y(S,H)J072A**(0,A)M | 120 | Drill #35 |
| 6 | Y(S,H)J072A**(0,A)H | 150 | Drill #35 |
| 7.5 | Y(S,H)J090A**(0,A)L | 120 | Drill #35 |
| 7.5 | Y(S,H)J090A**(0,A)M | 150 | Drill #35 |
| 7.5 | Y(S,H)J090A**(0,A)H | 200 | Drill #38 |
| 8.5 | Y(S,H)J102A**(0,A)L | 120 | Drill #35 |
| 8.5 | Y(S,H)J102A**(0,A)M | 150 | Drill #35 |
| 8.5 | Y(S,H)J102A**(0,A)H | 200 | Drill #38 |
| 10 | Y(S,H)J120A**(0,A)L | 150 | Drill #35 |
| 10 | Y(S,H)J120A**(0,A)M | 200 | Drill #38 |
| 10 | Y(S,H)J120A**(0,A)H | 240 | Drill #35 |
| 12.5 | Y(S,H)J150A**(0,A)L | 150 | Drill #35 |
| 12.5 | Y(S,H)J150A**(0,A)M | 200 | Drill #32 |
| 12.5 | Y(S,H)J150A**(0,A)H | 250 | Drill #33 |
Installation – FIAHALT002*
Conversion Procedure
Note: Conversion should be made prior to installation of equipment at the job site.
- Turn the thermostat selector switch to the OFF position.
WARNING
Hazardous Voltage w/Capacitors!
Failure to disconnect power and discharge capacitors before servicing could result in death or serious injury. Disconnect all electric power, including remote disconnects and discharge all motor start/run capacitors before servicing. Follow proper lockout/ tagout procedures to ensure the power cannot be inadvertently energized. Verify with a CAT III or IV voltmeter rated per NFPA 70E that all capacitors have discharged.
WARNING
Hazard of Explosion or Fire!
Failure to follow instructions could result in death or serious injury and equipment or property damage.
Do not store or use gasoline or other flammable vapors and liquids in the vicinity of this or any other appliance.
IF YOU SMELL GAS, follow instructions below:- Do not try to light any appliance.
- Do not touch any electrical switch.
- Do not use any phone in your building.
- Open windows and doors.
- Alert others and evacuate building immediately.
- From a phone outside of the building, immediately call your gas supplier. Follow the gas supplier’s instructions. If you cannot reach your gas supplier, call the fire department.
WARNING
Hazardous Voltage and Gas!
Failure to turn off gas or disconnect power before servicing could result in an explosion or electrocution which could result in death or serious injury.
Turn off the gas supply and disconnect all electric power, including remote disconnects, before servicing the unit. Follow proper lockout/tagout procedures to ensure the power can not be inadvertently energized.
- Open the unit electrical disconnect switch.
- Shut off gas supply to the unit.
- Remove gas valve access panel.
- Break the external pipe union.
- Disconnect the field gas connection pipe from the unit internal pipe union.
- Remove four screws from manifold bracket. See Figure 1,.
Figure 1. Remove screws from manifold bracket
- Remove natural gas orifices from manifold. See Figure 2,.
Figure 2. Remove orifices from manifold
- FIAHALT002*) for the unit being converted by engaging threads of manifold and tightening orifice three and one half turns. FIAHALT002*) for the unit being converted by engaging threads of manifold and tightening orifice three and one half turns.
- With the high altitude orifices in place, reverse the disassembly procedure and secure all components in their respective position.
- Attach the nameplate and label supplied with the conversion kit below the unit nameplate. Check all piping joints and electrical connections for tightness. Turn on the gas supply to unit. Measure the gas inlet pressure. Inlet pressure should be between 4.5-inch wc to 14-inch wc. Adjust the regulator at the gas supply as necessary. Restore unit power. Place the thermostat selector switch to the HEAT position and adjust the setpoint indicator to its highest setting. The burners should light.
- Check all piping joints and electrical connections for tightness.
- Turn on the gas supply to unit.
- Measure the gas inlet pressure. Inlet pressure should be between 4.5-inch wc to 14-inch wc. Adjust the regulator at the gas supply as necessary.
- Restore unit power.
- Place the thermostat selector switch to the HEAT position and adjust the setpoint indicator to its highest setting. The burners should light.
- If required, adjust the unit manifold pressure to the value listed on the unit nameplate.
- Install the access panel.
General Information – FIAHALT003*
Follow these instructions to convert gas package unit models from sea level operation to high altitude operation.
Important: This is a critical procedure and instructions must be followed closely.
Inspection
- Unpack all components of the high altitude conversion kit.
Check carefully for shipping damage. If any damage is found, report it immediately, and file a claim against the transportation company.
This kit contains the correct orifices for high altitude conversion. Refer to Table 2, p. 7 to determine proper orifice selection.
Parts List
- Eight (8) Orifice Spuds, Drill #31 – 0.120 in. Dia
- Eight (8) Orifice Spuds, Drill 3.20 mm – 0.126 in. Dia
- Five (5) Orifice Spuds, Drill #34 – 0.111 in. Dia
- Seven (7) Orifice Spuds, Drill #36 – 0.1065 in. Dia
- Five (5) Orifice Spuds, Drill #40 – 0.098 in. Dia
- One (1) High Altitude Nameplate Label
- One (1) High Altitude Conversion Literature
Table 2. High altitude orifice size selection for FIAHALT003*
| Tons | Unit Model Number | Gas heat input rating (MBH) | High Altitude Orifice size |
| Cooling and Gas Heat Models | |||
| 12.5 | YZJ150A**(0,A)L | 150 | Drill #40 |
| 12.5 | YZJ150A**(0,A)M | 200 | Drill #34 |
| 12.5 | YZJ150A**(0,A)H | 250 | Drill #36 |
| 15 | Y(S,H,Z)J180A**(0,A)L | 250 | Drill 3.2 mm |
| 15 | Y(S,H,Z)J180A**(0,A)M | 320 | Drill #31 |
| 15 | Y(S,H,Z)J180A**(0,A)H | 400 | Drill 3.2 mm |
| 17.5 | Y(S,H,Z)J210A**(0,A)L | 250 | Drill 3.2 mm |
| 17.5 | Y(S,H,Z)J210A**(0,A)M | 320 | Drill #31 |
| 17.5 | Y(S,H,Z)J210A**(0,A)H | 400 | Drill 3.2 mm |
| 20 | Y(S,H,Z)J240A**(0,A)L | 250 | Drill 3.2 mm |
| 20 | Y(S,H,Z)J240A**(0,A)M | 320 | Drill #31 |
| 20 | Y(S,H,Z)J240A**(0,A)H | 400 | Drill 3.2 mm |
| 25 | Y(S,H,Z)J300A**(0,A)L | 250 | Drill 3.2 mm |
| 25 | Y(S,H,Z)J300A**(0,A)M | 320 | Drill #31 |
| 25 | Y(S,H,Z)J300A**(0,A)H | 400 | Drill 3.2 mm |
| Tons | Unit Model Number | Gas heat input rating (MBH) | High Altitude Orifice size |
| Dual Fuel Models | |||
| 12.5 | D(S,H)J150A**(0,A)L | 150 | Drill #40 |
| 12.5 | D(S,H)J150A**(0,A)M | 200 | Drill #34 |
| 12.5 | D(S,H)J150A**(0,A)H | 250 | Drill #36 |
| 15 | D(S,H)J180A**(0,A)L | 250 | Drill 3.2 mm |
| 15 | D(S,H)J180A**(0,A)M | 320 | Drill #31 |
| 15 | D(S,H)J180A**(0,A)H | 400 | Drill 3.2 mm |
| 20 | D(S,H)J240A**(0,A)L | 250 | Drill 3.2 mm |
| 20 | D(S,H)J240A**(0,A)M | 320 | Drill #31 |
| 20 | D(S,H)J240A**(0,A)H | 400 | Drill 3.2 mm |
| 25 | D(S,H)J300A**(0,A)L | 250 | Drill 3.2 mm |
| 25 | D(S,H)J300A**(0,A)M | 320 | Drill #31 |
| 25 | D(S,H)J300A**(0,A)H | 400 | Drill 3.2 mm |
Installation – FIAHALT003*
Conversion Procedure
Note: Conversion should be made prior to installation of
equipment at the job site.
- Turn the thermostat selector switch to the OFF position.
WARNING
Electrical Shock, Fire, or Explosion Hazard!
Failure to follow these instructions could result in serious injury, death, or property damage.- Before servicing, disconnect all electrical power to the furnace.
- When servicing controls, label all wires prior to disconnecting. Reconnect wires correctly.
- Verify proper operation after servicing.
WARNING
Hazard of Explosion or Fire!
Failure to follow instructions could result in death or serious injury and equipment or property damage.
Do not store or use gasoline or other flammable vapors and liquids in the vicinity of this or any other appliance.
IF YOU SMELL GAS, follow instructions below: - Do not try to light any appliance.
- Do not touch any electrical switch.
- Do not use any phone in your building.
- Open windows and doors.
- Alert others and evacuate building immediately.
- From a phone outside of the building, immediately call your gas supplier. Follow the gas supplier’s instructions. If you cannot reach your gas supplier, call the fire department.
WARNING
Hazardous Voltage and Gas!
Failure to turn off gas or disconnect power before servicing could result in an explosion or electrocution which could result in death or serious injury.
Turn off the gas supply and disconnect all electric power, including remote disconnects, before servicing the unit. Follow proper lockout/tagout procedures to ensure the power can not be inadvertently energized.
- Open the unit electrical disconnect switch.
- Shut off gas supply to the unit.
- Remove gas valve access panel.
- Break the external pipe union.
- Disconnect the field gas connection pipe from the unit internal pipe union.
- Remove four screws from manifold bracket and two screws from valve support bracket. See Figure 3, p. 8.
Figure 3. Remove screws from manifold bracket
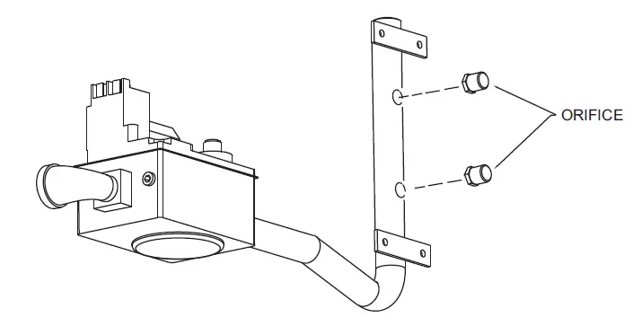
- Remove natural gas orifices from manifold. See Figure 4, p. 8.
Figure 4. Remove gas orifices
- Install high altitude orifices specified in Table 2, p. 7. Engage threads of manifold and tighten orifice three- and one-half turns.
- With the high-altitude orifices in place, reverse the disassembly procedure and secure all components in their respective position.
- Attach the nameplate and label supplied with the conversion kit below the unit nameplate.
- Check all piping joints and electrical connections for tightness.
- Turn on the gas supply to unit.
- Measure the gas inlet pressure. Inlet pressure should be between 4.5-inch wc to 14-inch wc. Adjust the regulator at the gas supply as necessary.
- Restore unit power.
- Place the thermostat selector switch to the HEAT position and adjust the setpoint indicator to its highest setting. The burners should light.
- Adjust the unit manifold pressure to 10 inches water column (24.9 mbar) per the rating plate.
- Install the access panel.
Trane and American Standard create comfortable, energy efficient indoor environments for commercial and residential applications. For more information, please visit trane.com or americanstandardair.com.
Trane and American Standard have a policy of continuous product and product data improvement and reserve the right to change design and specifications without notice. We are committed to using environmentally conscious print practices.
ACC-SVN230B-EN 15 Apr 2023
Supersedes ACC-SVN230A-EN (Aug 2022)























