VISUAL COMFORT KW 2123 Liaison Large Bracketed Outdoor Wall Sconce

WE RECOMMEND INSTALLATION OF THIS LIGHTING FIXTURE BE DONE BY A LICENSED ELECTRICIAN.
WARNING:
SWITCH OFF THE MAIN ELECTRICAL SUPPLY FROM THE MAIN FUSE BOX/CIRCUIT BREAKER BEFORE INSTALLATION. INSPECT ITEM CAREFULLY BEFORE ATTEMPTING TO INSTALL. IF THERE IS ANY DAMAGE OR OBVIOUS DEFECT, DO NOT INSTALL. ITEM MAY NOT BE RETURNED ONCE IT HAS BEEN INSTALLED.
Installation
- Carefully remove all parts from the carton.
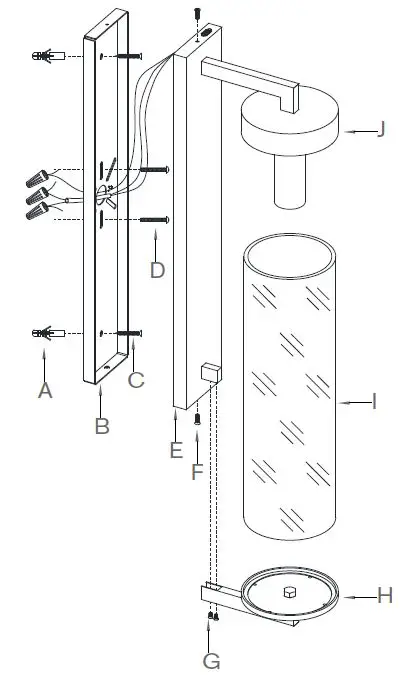
- Remove mounting plate (B) from base of light fixture (E) by removing base screws (F) in counter-clockwise direction.
- Position mounting plate (B) horizontally on the wall outlet box. Mark center points for both mounting holes with a pencil. Remove mounting plate (B).
- Drill small holes on each point location on the wall, each hole should be large enough to accommodate the plastic anchors (A). Push plastic anchors (A) into the holes in the wall.
- Gently pull the wires from the wall outlet and allow the wires to hang. Thread the wires through the center hole in mounting plate (B).
- Attach ground (green) wire to ground wire from wall outlet box (usually green or copper in color), fasten together with a plastic wire connector. Tightly wrap the wire with electrical tape. so the end of the connector is sealed. IT IS IMPERATIVE THAT THE OUTLET BOX IN YOUR HOME BE PROPERLY GROUNDED.
- Connect neutral (white ) fixture wire coming from fixture base to neutral (usually white ) outlet wire. Fasten both wires together with a plastic wire connector and tightly wrap the wire connector with electrical tape.
- Repeat the procedure with the hot (black) wires. Always make sure that no wire strands are left outside the connectors. DO NOT REVERSE THE HOT AND NEUTRAL CONNECTIONS OTHERWISE SAFETY WILL BE COMPROMISED.
- Affix mounting plate (B) to wall by aligning holes and secure by inserting mounting screws (D) to the holes of outlet box and screws (C) to the plastic anchors (A) in the wall.
- Attach fixture base (E) to mounting plate (B) and secure by inserting base screws (F).
- Remove shade holder (H) from fixture base (E) by removing screws (G).
- Insert light bulb (not included) into socket.
- Carefully insert glass shade (I) into shade holder (H), raise the shade holder (H) with shade (I) to cap (J) and secure by tighten screws (G).
- INSTRUCTIONS FOR MOUNTING FIXTURE OUTDOORS AND/OR IN WET LOCATION:
- Mounting surface should be clean, dry, flat and 1/4″ larger than canopy/fixture base on all sides. Any gaps between the mounting surface and fixture base exceeding 3/16″ should be corrected as required.
- With silicone (ex. GE-108) caulking compound, caulk completely around where back of canopy/fixture base meets the wall surface to prevent water from seeping into outlet box. TO AVOID WATER ENTERING THE FIXTURE BASE FROM THE SIDE OF FIXTURE, THIS FIXTURE MUST BE MOUNTED ABOVE 1.2M (4 FT) FROM GROUND.
*** Clean with a dry, soft cloth only. Use no harsh abrasives or chemical agents.



















