dals LED WALL-G-CC Square Directional Wall Sconce
ITEMS INCLUDED IN THE BOX
- Fixtures
- Round plate
- Mounting plate
- Mounting hardware
| MODEL | LUMENS | WATTS | KELVIN |
| LEDWALL-G-CC | 600Im | 14W | 2700-3000-3500-4000-5000K |
WARRANTY
DALS offers a 5-year warranty from the date of purchase which covers repairs or replacements of defective parts of the housing, optics, and electronics. To contact DALS customer service call 1 877 430 1818 or send an e-mail to [email protected].
Installation guide
BEFORE YOU START
BEFORE STARTING INSTALLATION, SHUT THE LINE FEED POWER OFF USING THE CIRCUIT BREAKER.
Instructions pertaining to a risk of fire, electric shock or injury to persons. Installation must be done according to local electrical codes. Installation should be done by a certified electrician.
This class B digital apparatus complies with Canadian ICES-005. This digital apparatus does not exceed the Class B limits for radio-noise emissions from digital apparatus as set out in the Radio Interference Regulations of the Canadian Department of Communications.
- Install the junction box (not included) ; dimensions: 3,61″ x 3,61″ x 1,59″.
- Install and un shield the line feed wire 6″ (15 cm) and strip wires 5/8″ (1.6 cm).
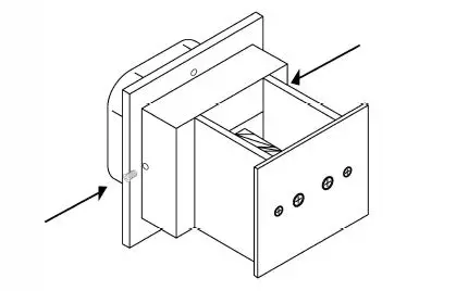
- Install the round plate on the junction box, then secure the 4″ monting plate on the round plate and install the mounting bracket on the 4″ square plate.

- To make the connections in the compartment: use the included wire connectors to match the white wire from the line feed with the white wire from the fixture, repeat with black wire, and then connect copper wire (ground) to the green wire.

- Push all the wires inside the junction box and secure the fixture on the mounting bracket using the 2 set screws.

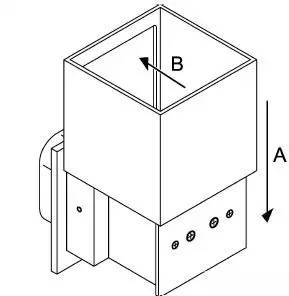
- (A) Slide the lampshade onto the fixture then (B) Install the set screw to lock the lampshade in place.

1 877 430 1818
www.dals.com
INS_LEDWALL-G-CC-Rev1

















