VIDALITE CE1008829 LED Wall Sconce Installation Guide
DIAGRAM OF INSTALLATION STRUCTURE
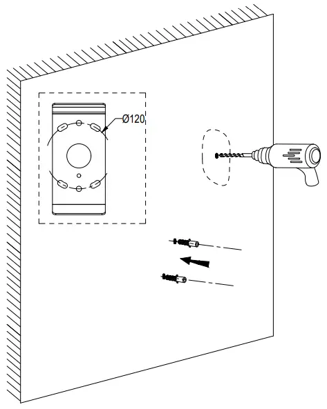
- Unpack and take out the fixture / accessory bag. Ø120

- Remove the mounting plate from the fixture.

- Drill holes in the wall in the right place and knock in plastic plugs.

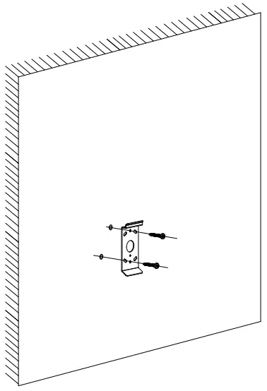
- Secure the mounting plate to the wall with two tapping screws

- Secure the fixture to the mounting plate on the wall.

- Put the plug into the socket and touch the enclosure to adjust the brightness of fixture.























