KUZCO EW37205 Exterior Wall Sconce

START FROM HERE
- Make sure the power is completely off at the fuse box.
- Have your fixture installed by a qualified licensed electrician
- Prepare everything in a clear area.
- Wear gloves at all times during this installation.
- Read the instructions carefully before you start assembly.
- Keep this instruction sheet for future reference.
Please Note:
- All Kuzco LED fixtures to come with pre-wired LED module(s).
- Unless instructed to do so, please do not touch any part of the LED module(s) as any unnecessary contact with the module could cause permanent damage.
- For dimming, an ELV (Electronic Low Voltage) type of dimmer is required.

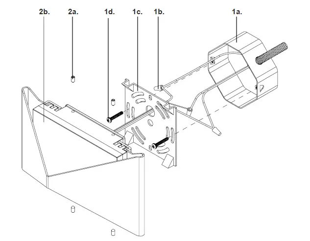
- Remove the fixture from its original packaging. Remove the mounting plate (1c) from within the fixture (2b) by loosening the screws (2a). Secure the mounting plate (1c) to the junction box (1a) with screws (1d) provided in the hardware package.
- Attach the fixture (2b) to the mounting plate (1c), which is attached to the electrical junction box (1a) on the wall. First, attach all wiring with the provided barrettes (1b) (white to white “N”, black to black “L”, ground to ground “G”). Now attach the fixture (2b) onto the mounting plate (1c) with the four screws (2a).
- You have now completed the installation of your fixture, enjoy.



















