ALFARO
SCONCE
SKU: 479874, 953683, 953733
BEFORE YOU BEGIN
We recommend consulting a professional if you are unfamiliar with installing electric fixtures. Signature Hardware accepts no liability for any damage to the property, the product or for personal injury during installation. Observe all local electrical building codes.
Unpack and inspect the product for shipping damage. If any damage is found, contact our Customer Relations team via live chat at www.signaturehardware.com or by emailing [email protected].
GETTING STARTED
Ensure that you have gathered all the required materials that are needed for the installation.
ADDITIONAL QUESTIONS?
Still need help? Check out our Help Center at www.signaturehardware.com for product and warranty information, or contact us through live chat or by emailing [email protected].
REVISED: 04/27/2022
CODES: PHWL3411, SHWL3411, SHWL3421
FOR YOUR SAFETY
WARNING: Be sure the electricity to the wires you are working on is shut off, either the fuse is removed or the circuit breaker is shut of. You don’t need special tools to install this fixture. Be sure to follow the steps in the order given. Under no circumstances should a fixture be hung on house electrical wires, nor should a swag type fixture be installed on a ceiling which contains a radiant type heating system. Read instructions carefully. If you are unclear as to how to proceed, consult a qualified electrician.
CARE INSTRUCTIONS
To clean, wipe fixture with a soft cloth. Clean glass with a mild soap. Do not use abrasive materials such as scouring pads or powders, steel wool or abrasive paper.
TOOLS AND MATERIALS:
![]() | ![]() | ![]() | ![]() |
| Safety goggle | Wire strippers | Phillips screwdriver | Electrical tape |
![]() | ![]() | ![]() | ![]() |
| Step ladder | Wire cutters | Flathead screwdriver | Light Bulb (E12 60 watt maximum) |
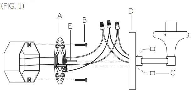
INSTALLATION (FIG 1)

| Connect Black or Red Supply Wire (Lead Wire) to: | Connect White Supply Wire (Neutral Wire) to: |
| Black wire | White wire |
| *Parallel wire (round or smooth) | *Parallel wire (square or ridged) |
| Clear, brown, gold or black wire without tracer | Clear, brown, gold or black wire with tracer |
| Insulated wire (other than green) with copper conductor | Insulated wire (other than green) with silver conductor |
* When parallel wires are used, the neutral wire is ridged down its length and the other wire is round and smooth (see illus.).![]() | |
- Position mounting bracket (A) so threaded ends of attached fixture mounting screws (E) are facing out. Attach mounting bracket to junction box with junction box screws (B).
- Strip 3/4” of insulation from ends of fixture wires.
- Twist the end of fixture white wire to the end of house white wire together. Twist a wire nut onto ends of wires. ]Wrap electrical tape around wire nut and wires to secure connection. Twist the end of fixture black wire and the end of house black wire together. Twist a wire nut onto the ends of wires. Wrap electrical tape around wire nut and wires to secure connection. Loosen ground screw on mounting bracket (A). Wrap house ground wire around ground screw leaving enough ground wire to attach to fixture ground wire. Twist the end of fixture ground wire to the end of house ground wire together. Twist a wire nut onto ends of wires. Wrap electrical tape around wire nut and wires to secure connection.
Note: If you have electrical questions consult your local electrical code for approved grounding methods. - After wires are connected, carefully tuck wires inside junction box.
- Raise fixture to wall. Place backplate (D) over mounting bracket (A). Pass holes in backplate (D) over ends of fixture mounting screws (E). Screw one threaded cap (C) onto each fixture mounting screw (E). Tighten threaded caps (C) to secure fixture to wall.
INSTALLATION (FIG 2)
- Thread bottom stem (M) into bottom of fixture body (O).
- Screw recommended bulb (E12 Candelabra bulb type, not included) into socket. Verify correct bulb wattage marked on socket of fixture.
WARNING: DO NOT exceed maximum bulb wattage. - Pass the hole in the bottom of glass shade (E) over bulb. Fit bottom of glass shade (E) into socket cup. Screw one thumbscrew (F) into each hole in socket cup. Equally tighten thumbscrews (F) to secure glass shade (E) in place.
1.855.715.1800
signaturehardware.com




























