SIGNATURE HARDWARE 440668 Riggins Outdoor Wall Sconce

Product Information
The RIGGINS is an electric fixture that can be installed in your bathroom or kitchen. This product is SKU 440668 and is manufactured by Signature Hardware. It comes with a mounting plate, mounting hardware, wire connector, outlet box screws, cap nuts, and a ground screw. The fixture is designed to prevent moisture from entering the outlet box and causing a short. However, it is recommended to use clear caulking to outline the outside of fixture backplate where it meets the wall to provide extra protection.
Please note that if you are unfamiliar with installing electric fixtures, it is recommended that you consult a professional. Signature Hardware will not be liable for any damage to the faucet, plumbing, sink, countertop, or for personal injury during installation. Additionally, it is important to observe all local plumbing and building codes when installing this product.
Product Usage Instructions
- Unpack and inspect the product for shipping damage. If any damage is found, contact Signature Hardware’s Customer Relations team via live chat at www.signaturehardware.com or by emailing [email protected].
- Gather all the required materials needed for the installation, including mounting hardware, wire connector, outlet box screws, cap nuts, and a ground screw.
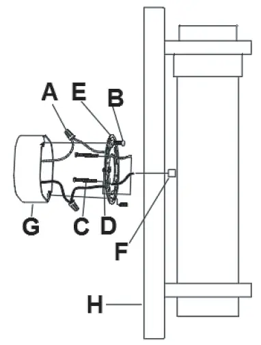
- Thread the 2 Mounting Screws (C) to the Mounting plate (E). Adjust the length of the screws if necessary.
- Attach the Mounting plate (E) to the Outlet Box (G) (not supplied) by using 2 Outlet Box Screws (B).
- Connect the wires using the wire connector (D).
- Attach the Fixture (H) to the Mounting Plate by inserting the 2 Mounting Screws (C), and then secure with the 2 Cap Nuts (F).
- Use clear caulking (ie. Indoor/Outdoor Silicone Sealant) to outline the outside of fixture backplate where it meets the wall leaving a space at bottom to allow moisture a means to escape. This will prevent moisture from entering the outlet box and causing a short.
If you have any additional questions or need further assistance, please check out Signature Hardware’s Help Center at www.signaturehardware.com for product and warranty information, or contact them through live chat or by emailing [email protected].
BEFORE YOU BEGIN
We recommend consulting a professional if you are unfamiliar with installing electric fixtures. Signature Hardware accepts no liability for any damage to the faucet, plumbing, sink, counter top, or for personal injury during installation. Observe all local plumbing and building codes. Unpack and inspect the product for shipping damage. If any damage is found, contact our Customer Relations team via live chat at www.signaturehardware. com or by emailing [email protected].
GETTING STARTED
Ensure that you have gathered all the required materials that are needed for the installation.
FOR YOUR SAFETY
WARNING: Be sure the electricity to the wires you are working on is shut off, either the fuse is removed or the circuit breaker is shut off. You don’t need special tools to install this fixture. Be sure to follow the steps in the order given. Under no circumstances should a fixture be hung on house electrical wires, nor should a swag type fixture be installed on a ceiling which contains a radiant type heating system. Read instructions carefully, if you are unclear as to how to proceed, consult a qualified electrician.
TOOLS AND MATERIALS:
INSTALLATION

- Shut off the power at the circuit breaker and remove old fixture, including the crossbar.
- Carefully unpack your new fixture and lay out all the parts on a clear area. Take care not to lose any small parts necessary for installation.
- Thread the 2 Mounting Screws (C) to the Mounting plate (E). (You can adjust the length of the screws if necessary.)
- Attach the Mounting plate (E) to the Outlet Box (G) (not supplied) by using 2 Outlet Box Screws (B).
- Now connect the electrical wires as follows: Connect the black wire from the fixture to the black house (hot) wire. Connect the white wire from the fixture to the white (neutral) house wire. Make sure all wire nuts are secured. You may wrap the connections with electrical tape. If your outlet has a ground wire (green or bare copper), connect fixture’s ground wire to it. Otherwise, connect fixture’s ground wire directly to the mounting plate using the green screw provided. Tuck the wire connections neatly into the junction box.
- Attach the Fixture (H) to the Mounting Plate by inserting the 2 Mounting Screws (C),and then secure with the 2 Cap Nuts (F).
- To prevent moisture from entering the outlet box and causing a short, use clear caulking (ie. Indoor/Outdoor Silicone Sealant) to outline the outside of fixture backplate where it meets the wall leaving a space at bottom to allow moisture a means to escape.
1.855.715.1800



















