Industrial Ethernet Switch
User manual
MISCOM8028GX-4XGF-16GF-8GC
MISCOM8028G-4XGF-8GC-16GT
MISCOM8028GX-20GF-8GC
MISCOM8028G-4GF-8GC-16GT
Packing list
The package of this switch contains the following items. If any item is found to be missing or damaged, please contact the agent or the customerservice center of Maiwe for assistant.
| Items | Quantity | Remarks |
| Industrial Ethernet Switch | 1PCS | |
| Power cord | 1PCS | AD220 model only |
| User Manual | 1PCS | |
| Console cable | 1PCS |
Product description
This series is L3 aggregation managed rack-mount industrial Ethernet switch. MISCOM8028GX-4XGF-16GF-8GC provides 28 ports(4x10G SFP ports+16 gigabit SFP ports+8 gigabit Combo ports),MISCOM8028G-4GF-8GC-16GT provides 28 ports(4x10G SFP ports+8 Gigabit Combo ports+16 Gigabit RJ45 ports), MISCOM8028GX-20GF-8GC provides 28 ports (20 Gigabit SFP ports and 8 Gigabit combo ports); MISCOM8028G-4GF-8GC-16GT provides 28 ports interfaces (4 Gigabit SFP ports+8 Gigabit combo ports+16 Gigabit RJ45 ports).

Interface description
Unit:mm
Take MISCOM8028GX-4XGF-16GF-8GC as a example:

| 1. Indicator lights | 6. Relay alarm output terminal |
| 2. Console port | 7. Power input terminal |
| 3. Gigabit combo port | 8. Ground screw |
| 4. Gigabit SFP port | 9. Rack mounting ears |
| 5. 10 Gigabit SFP+ port |
[Connect the power]
The switch supports AD220V single power input, using 5-position locking terminals with 7.62mm pitch.

| Number | Pin definition |
| 1 | Power 1 Input V1+(AC-L)/Positive(DC) |
| 2 | Power 1 Input V1-(AC-N)/Negative (DC) |
| 3 | Grounded |
| 4 | Power 2 Input V2+(AC-L)/Positive(DC) |
| 5 | Power 2 Input V2-(AC-N)/Negative (DC) |
[Connect to the relay]
This series of switches supports the relay alarm function, and the wiring terminals use 3-position 5.08mm pitch terminals. This relay is a normally open and a normally closed relay, the middle one is the common terminal, the left two terminals are normally open relays, and the right two terminals are normally closed relays. When the switch is working normally, the normally open relay is powered and closed, and the normally closed relay is disconnected. The recommended switching load capacity of the relay is 1A
(24VDC).

| Number | Pin definition |
| 1 | Alarm relay output normally open |
| 2 | Alarm relay output common terminal |
| 3 | Alarm relay output normally closed |
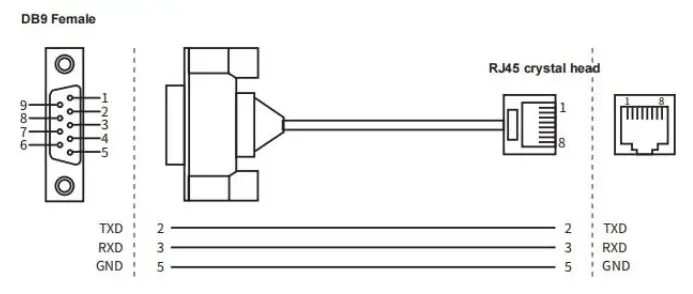
[Connect the CONSOLE port]
The network management port is an RJ45 port, please use the serial port cable of our company to connect to the serial port of the PC. The interface communication standard is 3-wire RS232.
The communication parameters of the serial port are as follows: Baud rate: 9600, data bit: 8, parity bit: None, Stop bit: 1, flow control: None.

The switch indicator lights description is shown in the table below:
| Indicator lights | Status | Definition |
| System Status LED | ||
| PWR1/PWR2 | On | The power is connected and operating normally |
| Off | The power is not connected or the system is not operating normally | |
| RUN | Flashing | The system is operating normally |
| On/Off | The system is not working properly | |
| ALM | On | Device power failure alarm, port offline alarm, |
| network storm alarm | ||
| Off | Device no alarm | |
| Fiber Port Status LED | ||
| X1-X4 | On | The port has established a valid network connection |
| Flashing | There is network activity on the port | |
| Off | No valid network connection is established on the port | |
| RJ45 Port Status LED | ||
| Each RJ45 port has two indicator lights, the yellow light is the port plastic rate indicator, the green light is the port connection status indicator. | ||
| 1000M (Yellow) | On | 1000M working state |
| Off | 10/100M working status | |
| Link/Act (Green) | On | The port has established a valid network connection |
| Flashing | There is network activity on the port | |
| Off | No valid network connection is established on the port | |
[Installation Size]

Hardware Installation
Installation Precautions
To prevent equipment damage or personal injury caused by improper use, observe the following precautions:
- During the installation process, you need to wear anti-static gloves or anti-static gloves, and power-off the switch.
- Please make sure that the input voltage is within the input voltage range marked on the switch.
- The transmission distance has a certain relationship with the connected wire. It is recommended to use a standard Cat5e/6 network cable.
- The equipment must be grounded for lightning protection, otherwise the protection level of the equipment will be greatly reduced; please use a wire of No.20 or more to connect the grounding terminal to the ground.
- The power line, ground line and signal line are laid out separately and the distance is not less than 5cm.
[Device installation]
Install rack-mounted equipment
Rack-mounted installation, the installation steps are as follows: - Step 1 Select the installation location of the device and make sure it has sufficient size.
- Step 2 Use 2 screws to install the mounting ear to the position of the device as shown in the figure below.
- Step 3 Put the device on the rack, and use 4 screws to fix the left and right side brackets to the rack respectively.
- Step 4 Check and confirm that the product is securely installed on the rack, and the installation is complete.

[Device connection]
- Step 1 Connect one end of the ground wire to a suitable position, and fix the ground plate on the switch panel with washers and screws.
- Step 2 Connect the power cord to the switch’s power terminals.
- Step 3 Connect the network cable to the RJ45 port of the switch.
- Step 4 Insert the SFP optical module into the SFP port and connect the fiber-to-fiber transceiver.

Log in WEB Page
The device supports WEB management and configuration. The computer can access the device through the Ethernet interface, and log in to the main interface of the WEB server through the browser.
- Configure the IP addresses of the computer and the device in the same network segment and ensure that the computer and device can access each other.
- Enter the IP address of the device in the address bar of the computer browser, the default IP address is 192.168.16.253.
- Enter the user name and password of the device in the login page
- Click the “OK” button to log in the WEB interface of the device.
Specifications
| MISCOM8028GX-4XGF-16GF-8GC/ MISCOM8028G-4XGF-8GC-16GT | MISCOM8028G-4GF-8GC-16GT/ MISCOM8028GX-20GF-8GC | |
| Switch properties | ||
| Bandwidth | 128Gbps | |
| Cache size | 3Mbit | |
| MAC table | 16K | |
| Interface | ||
| Gigabit SFP port | 1000Base-LX | |
| SFP slot | ||
| 10G SFP port | 1G/10G | |
| SFP+ interface | ||
| 10/100/1000M TX port | 10/100/1000Base-TXRJ45 ports | |
| Full-duplex/half-duplex adaptive, supports MDI/MDI-X adaptive | ||
| Power supply | |
|
Consumption | MISCOM8028GX-4XGF-16GF-8GC:40W(MAX) MISCOM8028G-4XGF-8GC-16GT:30W(MAX) MISCOM8028G-4GF-8GC-16GT:27W(MAX) MISCOM8028GX-20GF-8GC:40W(MAX) |
| AC power input | Standard AC85~264V (frequency: 47~63Hz) or DC110~370V (Dual power is optional) |
| Mechanical | |
| Size | 482.6mm×44mm×315mm(L×W×H) |
| Installation | 19’1U standard rack mount |
| Heat | Aluminum alloy single-rib chassis surface scattered |
| IP protection | IP40 |
| Weight | About 4.5kg |
| Working environment | |
| Working Temp. | -40℃~+70℃ |
| Storage Temp. | -40℃~+85℃ |
| Humidity | 5%~95%(No condensation) |
| Industry Standard | |
| EMC | IEC61000-4-2(ESD), Level 4 IEC61000-4-5(Surge), Level 4 ※Ethernet ports support 6KV lightning protection IEC61000-4- 4(EFT), Level 4 IEC61000-4-3(RS), Level4 IEC61000-4-6(CS), Level4 |
Order guide
| Item | 10G SFP ports | Gigabit SFP pods | 10/100/1000 Base-TX | Gigabit combo pod | Power |
| MISCOM8028GX -4XGF-16GF-8GC | 4 | 16 | / | 8 | AC85-264V (freq.: 47-63Hz) or DC110-370V (Dual power is ptional) |
| MISCOM8028G -4XGF-8GC-16GT | 4 | / | 16 | 8 | |
| MISCOM8028GX -20GF-8GC | / | 20 | / | 8 | |
| MISCOM8028G -4GF-8GC-16GT | / | 4 | 16 | 8 |
Pledge
Thank you for purchasing Maiwe products. You will enjoy the following services when using Maiwe products.
We solemnly promises: under normal use, one month’s return, one-year free maintenance, five-year warranty, and lifetime maintenance. The specific details are as follows:
- If Maiwe products have quality problems and cannot work normally, they will be refunded for one month, free maintenance for one year, warranty for five years, and maintenance for life.
- If the number of repaired products is less than 10, the repair service will be completed within 7 days (excluding transportation time), and the repair service will be completed within one month for more than 10 sets.
- Optical passive products such as optical fibers, optical cables, jumpers, flanges, and optical cable terminal boxes are guaranteed within two years, but no return service is provided.
- The accessories and power supply that come with the product are guaranteed for one year.
- When sending the product back to Maiwe for repair, it is recommended that the customer use the original packaging or the packaging with the same protective effect, otherwise the customer shall bear the risks that occur during the transportation.
- The repaired product can enjoy another 6 months warranty service.
- The product after-sales service is detailed in the purchase and sale contract, and Maiwe has the final interpretation right of this description.
Statement
Due to the continuous updating and improvement of products and technologies, the contents of this manual will be updated from time to time. All the information in the manual is only used for instructions, if the content in the text does not completely match the actual product, please understand and please contact our customer service in time.
Copyright 2021 Maiwe Communication All rights reserved.
The right to interpret the information published in this material belongs to Wuhan Maiwe Communication Co., Ltd.
Wuhan Maiwe Communication Co., Ltd.
Add: Building E2, No. 2 Building, Area E, No. 52 Liufang Avenue, East lake
High-tech Development Zone, Wuhan, China.
Tel: 027-87170215/16
Fax: 027-87170217
Post Code: 430205
Site: www.maiwe.com


















