Allen-Bradley 1734-OB2 POINT I/O Output Module

Product Information
POINT I/O Output Module
- The POINT I/O Output Module is a component of the POINT I/O system. It is available in various catalog numbers, including 1734-OB2, 1734-OB4, 1734-OB4K, 1734-OB8, 1734-OB8K. The “K” suffix indicates conformal coated versions of the module.
- The module is designed to be installed and used with the corresponding mounting base (1734-MB) and removable terminal block (1734-RTB or 1734-RTBS).
- It is important to follow the installation instructions and ensure compliance with applicable laws, codes, and standards when using this equipment.
Product Usage Instructions
- Before You Begin:
- Read and understand the installation and wiring instructions.
- Familiarize yourself with the external features of the module using Figure 1.
- Install the Mounting Base:
- Follow the instructions provided to install the mounting base (1734-MB).
- Install the Module:
- Attach the POINT I/O Output Module to the installed mounting base.
- Install the Removable Terminal Block:
- If required, install the removable terminal block (1734-RTB or 1734-RTBS) onto the module.
- Remove a Mounting Base:
- If necessary, follow the instructions to remove a previously installed mounting base.
- Communicate with the Module:
- Establish communication with the module according to the provided guidelines.
- Wire the Modules:
- Follow the wiring instructions to connect the modules as required.
- Interpret Status Indicators:
- Refer to the documentation to understand the meaning of the status indicators on the module.
Note: For detailed specifications and additional information, refer to the product manual.
- Refer to the documentation to understand the meaning of the status indicators on the module.
TTENTION: Read this document and the documents listed in the Additional Resources section about installation, configuration and operation of this equipment before you install, configure, operate or maintain this product. Users are required to familiarize themselves with installation and wiring instructions in addition to requirements of all applicable codes, laws, and standards.
Activities including installation, adjustments, putting into service, use, assembly, disassembly, and maintenance are required to be carried out by suitably trained personnel in accordance with applicable code of practice. If this equipment is used in a manner not specified by the manufacturer, the protection provided by the equipment may be impaired.
Environment and Enclosure
- This equipment is not intended for use in residential environments and may not provide adequate protection to radio communication services in such environments.
- This equipment is supplied as open-type equipment for indoor use. It must be mounted within an enclosure that is suitably designed for those specific environmental conditions that will be present and appropriately designed to prevent personal injury resulting from accessibility to live parts. The enclosure must have suitable flame-retardant properties to prevent or minimize the spread of flame, complying with a flame spread rating of 5V A or be approved for the application if nonmetallic. The interior of the enclosure must be accessible only by the use of a tool. Subsequent sections of this publication may contain more information regarding specific enclosure type ratings that are required to comply with certain product safety certifications.
- In addition to this publication, see the following:
- Industrial Automation Wiring and Grounding Guidelines, publication 1770-4.1, for additional installation requirements.
- NEMA Standard 250 and EN/IEC 60529, as applicable, for explanations of the degrees of protection provided by enclosures.
ATTENTION:
- Before installing, configuring, operating, or maintaining this product, users are required to familiarize themselves with installation and wiring instructions in addition to requirements of all applicable codes, laws, and standards.
- Installation, adjustments, putting into service, use, assembly, disassembly, and maintenance are required to be carried out by suitably trained personnel in accordance with applicable code of practice. In case of malfunction or damage, no attempts at repair should be made. The module should be returned to the manufacturer for repair. Do not dismantle the module.
North American Hazardous Location Approval
The Following Information Applies When Operating This Equipment In Hazardous Locations.
Products marked “CL I, DIV 2, GP A, B, C, D” are suitable for use in Class I Division 2 Groups A, B, C, D, Hazardous Locations and nonhazardous locations only. Each product is supplied with markings on the rating nameplate indicating the hazardous location temperature code. When combining products within a system, the most adverse temperature code (lowest “T” number) may be used to help determine the overall temperature code of the system. Combinations of equipment in your system are subject to investigation by the local Authority Having Jurisdiction at the time of installation.
WARNING: Explosion Hazard –
- Do not disconnect equipment unless power has been removed or the area is known to be nonhazardous.
- Do not disconnect connections to this equipment unless power has been removed or the area is known to be nonhazardous. Secure any external connections that mate to this equipment by using screws, sliding latches, threaded connectors, or other means provided with this product.
- Substitution of components may impair suitability for Class I, Division 2.
WARNING: When used in a Class I, Division 2, hazardous location, this equipment must be mounted in a suitable enclosure with proper wiring method that complies with the governing electrical codes.
UK and European Hazardous Location Approval
The following applies to products marked II 3 G:
- Are intended for use in potentially explosive atmospheres as defined by UKEX regulation 2016 No. 1107 and European Union Directive 2014/34/EU and has been found to comply with the Essential Health and Safety Requirements relating to the design and construction of Category 3 equipment intended for use in Zone 2 potentially explosive atmospheres, given in Schedule 1 of UKEX and Annex II of this Directive.
- Compliance with the Essential Health and Safety Requirements has been assured by compliance with EN IEC 60079-7, and EN IEC 60079-0.
- Are Equipment Group II, Equipment Category 3, and comply with the Essential Health and Safety Requirements relating to the design and construction of such equipment given in Schedule 1 of UKEX and Annex II of EU Directive 2014/34/EU. See the UKEx and EU Declaration of Conformity at rok.auto/certifications for details.
- The type of protection is Ex ec IIC T4 Gc according to EN IEC 60079-0:2018, EXPLOSIVE ATMOSPHERES – PART 0: EQUIPMENT – GENERAL REQUIREMENTS, Issue Date 07/2018, and CENELEC EN IEC 60079-7:2015+A1:2018, Explosive atmospheres. Equipment protection by increased safety “e”.
- Comply to Standard EN IEC 60079-0:2018, EXPLOSIVE ATMOSPHERES – PART 0: EQUIPMENT – GENERAL REQUIREMENTS, Issue Date 07/2018, and CENELEC EN IEC
60079-7:2015+A1:2018 Explosive atmospheres. Equipment protection by increased safety “e”, reference certificate number DEMKO 04 ATEX 0330347X and UL22UKEX2478X. - Are intended for use in areas in which explosive atmospheres caused by gases, vapors, mists, or air are unlikely to occur, or are likely to occur only infrequently and for short periods. Such locations correspond to Zone 2 classification according to UKEX regulation 2016 No. 1107 and ATEX directive 2014/34/EU.
- May have catalog numbers followed by a “K” to indicate a conformal coating option.
WARNING:
- This equipment is not resistant to sunlight or other sources of UV radiation.
- This equipment shall be mounted in an UKEX/ATEX/IECEx Zone 2 certified enclosure with a minimum ingress protection rating of at least IP54 (in accordance with EN/IEC 60079-0) and used in an environment of not more than Pollution Degree 2 (as defined in EN/IEC 60664-1) when applied in Zone 2 environments. The enclosure must be accessible only by the use of a tool.
- This equipment shall be used within its specified ratings defined by Rockwell Automation.
- Transient protection shall be provided that is set at a level not exceeding 140% of the peak rated voltage at the supply terminals to the equipment.
- The instructions in the user manual shall be observed.
- This equipment must be used only with UKEX/ATEX/IECEx certified Rockwell Automation backplanes.
- Earthing is accomplished through mounting of modules on rail.
- Devices shall be used in an environment of not more than Pollution Degree 2.
IEC Hazardous Location Approval
The following applies to products with IECEx certification:
- Are intended for use in areas in which explosive atmospheres caused by gases, vapors, mists, or air are unlikely to occur, or are likely to occur only infrequently and for short periods. Such locations correspond to Zone 2 classification to IEC 60079-0.
- The type of protection is Ex eC IIC T4 Gc according to IEC 60079-0 and IEC 60079-7.
- Comply to Standards IEC 60079-0, Explosive atmospheres ‐ Part 0: Equipment ‐ General requirements, Edition 7, Revision Date 2017 and IEC 60079-7, 5.1 Edition revision date 2017, Explosive atmospheres – Part 7: Equipment protection by increased safety “e”, reference IECEx certificate number IECEx UL 20.0072X.
- May have catalog numbers followed by a “K” to indicate a conformal coating option.
Prevent Electrostatic Discharge
ATTENTION: This equipment is sensitive to electrostatic discharge, which can cause internal damage and affect normal operation. Follow these guidelines when you handle this equipment:
- Touch a grounded object to discharge potential static.
- Wear an approved grounding wriststrap.
- Do not touch connectors or pins on component boards.
- Do not touch circuit components inside the equipment.
- Use a static-safe workstation, if available.
- Store the equipment in appropriate static-safe packaging when not in use.
Special Conditions for Safe Use
ATTENTION:
- This product is grounded through the DIN rail to chassis ground. Use zinc plated chromate-passivated steel DIN rail to assure proper grounding. The use of other DIN rail materials (for example, aluminum or plastic) that can corrode, oxidize, or are poor conductors, can result in improper or intermittent grounding. Secure DIN rail to mounting surface approximately every 200 mm (7.8 in.) and use end-anchors appropriately. Be sure to ground the DIN rail properly. See the Industrial Automation Wiring and Grounding Guidelines, publication 1770-4.1, for more information.
- Do not remove or replace an Adapter Module while power is applied. Interruption of the backplane can result in unintentional operation or machine motion.
- Do not discard the end cap. Use this end cap to cover the exposed interconnections on the last mounting base on the DIN rail. Failure to do so could result in equipment damage or injury from electric shock.
- If this equipment is used in a manner not specified by the manufacturer, the protection provided by the equipment may be impaired.
Electrical Safety Considerations
ATTENTION:
- This equipment is certified for use only within the surrounding air temperature range of -20…+55 °C (-4…+131 °F). The equipment must not be used outside of this range.
- Use only a soft dry anti-static cloth to wipe down equipment. Do not use any cleaning agents.
Before You Begin
- You can use these Series C POINT I/O™ Output modules with DeviceNet® and PROFIBUS adapters. If you are using Studio 5000 Logix Designer® application version 20 or higher, you can also use the Series C modules with ControlNet® and EtherNet/IP™ adapters.
- Use Figure 1 to identify the external features of the module.

Description Description 1 Module locking mechanism 6 Mounting base 2 Slide-in writable label 7 Interlocking side pieces 3 Insertable I/O module 8 Mechanical keying (orange) 4 Removable terminal block handle 9 DIN rail locking screw (orange) 5 Removable terminal block 10 Module wiring diagram
Install the Mounting Base
To install the mounting base on the DIN rail, proceed as follows:
- Position the mounting base vertically above the installed units (adapter, power supply, or existing module).
- Slide the mounting base down allowing the interlocking side pieces to engage the adjacent module or adapter.
- Press firmly to seat the mounting base on the DIN rail. The mounting base snaps into place.
- To remove the mounting base from the DIN rail, remove the module and use a small bladed screwdriver to rotate the base locking screw to a vertical position. This releases the locking mechanism. Then lift straight up to remove.
Install the Module
The module can be installed before or after base installation. Make sure that the mounting base is correctly keyed before installing the module into the mounting base. In addition, make sure that the mounting base locking screw is positioned horizontal referenced to the base.
WARNING: When you insert or remove the module while backplane power is on, an electrical arc can occur. This could cause an explosion in hazardous location installations.
Be sure that power is removed or the area is nonhazardous before proceeding. Repeated electrical arcing causes excessive wear to contacts on both the module and its mating connector. Worn contacts may create electrical resistance that can affect module operation.
To install the module, proceed as follows.
- Using a bladed screwdriver, rotate the keyswitch on the mounting base clockwise until the number required for the type of module being installed aligns with the notch in the base.
- Verify that the DIN rail locking screw is in the horizontal position. You cannot insert the module if the locking mechanism is unlocked.
- Insert the module straight down into the mounting base.
- Press to secure. The module locks into place.
Install the Removable Terminal Block
A Removable Terminal Block (RTB) is supplied with your wiring base assembly. To remove, pull up on the RTB handle. This allows the mounting base to be removed and replaced as necessary without removing any of the wirings. To reinsert the Removable Terminal Block, proceed as follows.
WARNING: When you connect or disconnect the Removable Terminal Block (RTB) with field-side power applied, an electrical arc can occur. This can cause an explosion in hazardous location installations.
Be sure that power is removed or the area is nonhazardous before proceeding.
- Insert the end opposite the handle into the base unit.
This end has a curved section that engages with the wiring base. - Rotate the terminal block into the wiring base until it locks itself in place.
- If an I/O module is installed, snap the RTB handle into place on the module.

- WARNING: For 1734-RTBS and 1734-RTB3S, to latch and unlatch the wire, insert a bladed screwdriver (catalog number 1492-N90 – 3 mm diameter blade) into the opening at approximately 73° (blade surface is parallel with top surface of the opening) and push up gently.

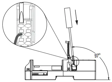
- WARNING: For 1734-TOPS and 1734-TOP3S, to latch and unlatch the wire, insert a bladed screwdriver (catalog number 1492-N90 – 3 mm diameter) into the opening at approximately 97° (blade surface is parallel with top surface of the opening) and press in (do not push up or down).

- WARNING: For 1734-RTBS and 1734-RTB3S, to latch and unlatch the wire, insert a bladed screwdriver (catalog number 1492-N90 – 3 mm diameter blade) into the opening at approximately 73° (blade surface is parallel with top surface of the opening) and push up gently.
Remove a Mounting Base
To remove a mounting base, you must remove any installed module and the module that is installed in the base to the right. Remove the Removable Terminal Block, if wired.
- Unlatch the RTB handle on the I/O module.
- Pull on the RTB handle to remove the Removable Terminal Block.
- Press the module lock on the top of the module.
- Pull on the I/O module to remove from the base.
- Repeat steps 1, 2, 3 and 4 for the module to the right.
- Use a small bladed screwdriver to rotate the orange base locking screw to a vertical position. This releases the locking mechanism.
- Lift straight up to remove.
Communicate with the Module
I/O messages are sent to (consumed) and received from (produced) the POINT I/O modules. These messages are mapped onto the memory of the processor. This POINT I/O output module consumes 1 byte of I/O data (scanner Tx).
Default Data Map for 1734-OB2
Message size: 1 Byte
| 7 | 6 | 5 | 4 | 3 | 2 | 1 | 0 | ||
| Consumes (scanner Tx) | Not used | Ch1 | Ch0 | Channel state | |||||
Default Data Map for 1734-OB4, 1734-OB4K
Message size: 1 Byte
| 7 | 6 | 5 | 4 | 3 | 2 | 1 | 0 | ||
| Consumes (scanner Tx) | Not used | Ch3 | Ch2 | Ch1 | Ch0 | Channel state | |||
Default Data Map for 1734-OB8, 1734-OB8K
Message size: 1 Byte
| 7 | 6 | 5 | 4 | 3 | 2 | 1 | 0 | ||
| Consumes (scanner Tx) | Ch7 | Ch6 | Ch5 | Ch4 | Ch3 | Ch2 | Ch1 | Ch0 | Channel state |
Wire the Modules
To wire the modules, see Figure 2, Figure 3, Figure 4, Figure 5, and Figure 6.

WARNING: If you connect or disconnect wiring while the field-side power is on, an electrical arc can occur. This could cause an explosion in hazardous location installations. Be sure that power is removed or the area is nonhazardous before proceeding.

| Channel Number | Output Terminal | Common Terminal | Power |
| Channel 0 | 0, 2 | 4 | 6 |
| Channel 1 | 1, 3 | 5 | 7 |

| Channel Number | Output Terminal | Common Terminal |
| Channel 0 | 0 | 6 |
| Channel 1 | 1 | 7 |
| Channel 2 | 2 | 4 |
| Channel 3 | 3 | 5 |

| Channel Number | Output Terminal | Common Terminal | Power |
| Channel 0 | 0 |
Common is daisy chained from either a 1734 adapter, 1734-FPD, 1734-EP24DC or from a user-supplied external terminal block. |
The 24V DC power for the module is supplied by the internal power bus and originates from the same adapter, 1734-FPD, or 1734-EP24DC as common. |
| Channel 1 | 1 | ||
| Channel 2 | 2 | ||
| Channel 3 | 3 | ||
| Channel 4 | 4 | ||
| Channel 5 | 5 | ||
| Channel 6 | 6 | ||
| Channel 7 | 7 |
WARNING: Do not wire more than two conductors on any single terminal.

Interpret Status Indicators
See Figure 7 and Table 1 for information on how to interpret the status indicators.

| Status | Description | |
|
Module status | Off | No power applied to device. |
| Green | Device operating normally. | |
| Flashing green | Device needs commissioning due to missing, incomplete, or incorrect configuration. | |
| Flashing red | Recoverable fault. | |
| Red | Unrecoverable fault – may require device replacement. | |
| Flashing red/green | Device is in self-test mode. | |
|
Network status | Off | Device is not online: – Device has not completed dup_MAC-id test. – Device not powered – check Module Status indicator. |
| Flashing green | Device is online but has no connections in the established state. | |
| Green | Device is online and has connections in the established state. | |
| Flashing red | One or more I/O connections are in timed-out state. | |
| Red | Critical link failure – failed communication device. Device detected error that prevents it from communicating on the network. | |
| Flashing red/green | Communication faulted device – the device has detected a network access error and is in communication faulted state. Device has received and accepted an Identity Communication Faulted Request – long protocol message. | |
| I/O status | Off | The corresponding channel output is inactive. |
| Yellow | The corresponding channel output is active and under control. |
Specifications
| Attribute | 1734-OB2 | 1734-OB4, 1734-OB4K | 1734-OB8, 1734-OB8K |
| Outputs per module, non-isolated, sourcing | 2 (1 group of 2) | 4 (1 group of 4) | 8 (1 group of 8) |
| On-state voltage range, min | 10V DC | ||
| On-state voltage range, nom | 24V DC | ||
| On-state voltage range, max | 28.8V DC | ||
| On-state voltage drop, max | 0.2V DC | ||
| On-state current, min per channel | 1.0 mA | ||
| Off-state voltage, max | 28.8V DC | ||
| Off-state leakage, max | 0.5 mA | ||
| Output signal delay, max(1) Off to On On to Off | 0.1 ms 0.1 ms | ||
| Output current rating | 1.0 A per output, 2.0 A max per module | 1.0 A per output, not to exceed 3.0 A max per module | |
| Surge current | 2 A for 10 ms, repeatable every 3 s | ||
|
Field wiring terminations | 0 – Output 0 1– Output 1 2 – Output 0 3 – Output 1 4 – Common 5 – Common 6 – Supply 7 – Supply | 0 – Output 0 1– Output 1 2 – Output 2 3 – Output 3 4 – Common 5 – Common 6 – Common 7 – Common | 0 – Output 0 1– Output 1 2 – Output 2 3 – Output 3 4 – Output 4 5 – Output 5 6 – Output 6 7 – Output 7 |
General Specifications
| Attribute | 1734-OB2 | 1734-OB4, 1734-OB4K | 1734-OB8, 1734-OB8K |
| Terminal base screw torque | 0.8 N•m (7 lb•in) | ||
| Indicators | 2 yellow – output status 2 green/red – module/network status | 4 yellow – output status 2 green/red – module/network status | 8 yellow – output status 2 green/red – module/network status |
| Module location | 1734-TB or 1734-TBS wiring base assembly | ||
| POINTBus™ current, max @ 5V DC | 75 mA | ||
| Power dissipation, max @ 28.8V DC | 0.8 W | 1.2 W | 2.0 W |
| Thermal dissipation, max @ 28.8V DC | 2.7 BTU/hr | 4.1 BTU/hr | 6.8 BTU/hr |
| Isolation voltage | 50V (continuous), reinforced insulation type Type tested @ 2500V DC for 60 s, field-side to system | ||
| External DC power supply voltage, nom | 24V DC | ||
| External DC power voltage range | 10…28.8V DC | ||
| External DC power supply current | 8 mA | 16 mA | 32 mA |
| Dimensions (H x W x D), approx. | 56.0 x 12.0 x 75.5 mm (2.21 x 0.47 x 2.97 in.) | ||
| Wiring category(1) | 2 – on signal ports | ||
| Wire size | Determined by installed terminal block | ||
| Weight, approx. | 32.60 g (1.15 oz) | 33.17 g (1.17 oz) | 35.4 g (1.25 oz) |
| North American temp code | T4A | T4 | |
| UKEX/ATEX temp code | T4 | ||
| IECEx temp code | T4 | ||
Environmental Specifications
| Attribute | Value |
| Temperature, operating | IEC 60068-2-1 (Test Ad, operating cold), IEC 60068-2-2 (Test Bd, operating dry heat), IEC 60068-2-14 (Test Nb, operating thermal shock): -20 °C ≤ Ta ≤ +55 °C (-4 °F ≤ Ta ≤ +131 °F) |
| Temperature, nonoperating | IEC 60068-2-1 (Test Ab, unpackaged nonoperating cold), IEC 60068-2-2 (Test Bb, unpackaged nonoperating dry heat), IEC 60068-2-14 (Test Na, unpackaged nonoperating thermal shock): -40…+85 °C (-40…+185 °F) |
| Temperature, surrounding air, max | 55 °C (131 °F) |
| Attribute | Value |
| Relative humidity | IEC 60068-2-30 (Test Db, unpackaged damp heat): 5…95% noncondensing |
| Vibration | IEC 60068-2-6 (Test Fc, operating): 5 g @ 10…500 Hz |
| Shock, operating | IEC 60068-2-27 (Test Ea, unpackaged shock): 30 g |
| Shock, nonoperating | IEC 60068-2-27 (Test Ea, unpackaged shock): 50 g |
| Emissions | IEC 61000-6-4 |
| ESD immunity | IEC 61000-4-2: 6 kV contact discharges 8 kV air discharges |
| Radiated RF immunity | IEC 61000-4-3: 10V/m with 1 kHz sine-wave 80% AM from 80…6000 MHz |
| EFT/B immunity | IEC 61000-4-4: ±2 kV at 5 kHz on power ports ±2 kV at 5 kHz on signal ports |
| Surge transient immunity | IEC 61000-4-5: ±1 kV line-line (DM) and ±2 kV line-earth (CM) on signal ports |
| Conducted RF immunity | IEC 61000-4-6: 10V rms with 1 kHz sine-wave 80% AM from 150 kHz…80 MHz |
| Enclosure type rating | None (open-style) |
Certifications
| Certification (When Product Is Marked)(1) | Value |
| c-UL-us | UL Listed Industrial Control Equipment, certified for US and Canada. See UL File E65584. UL Listed for Class I, Division 2 Group A,B,C,D Hazardous Locations, certified for U.S. and Canada. See UL File E194810. |
|
UK and CE | UK Statutory Instrument 2016 No. 1091 and European Union 2014/30/EU EMC Directive, compliant with: EN 61326-1; Measurement/Control/Laboratory use, Industrial requirements EN 61000-6-2; Industrial Immunity EN 61000-6-4; Industrial Emissions EN 61131-2; Programmable Controllers (Clause 8, Zone A & B) UK Statutory Instrument 2012 No. 3032 and European Union 2011/65/EU RoHS, compliant with: EN IEC 63000; Technical documentation |
| RCM | Australian Radiocommunications Act, compliant with: AS/NZS CISPR 11; Industrial Emissions |
| Ex
| UK Statutory Instrument 2016 No. 1107 and European Union 2014/34/EU ATEX Directive, compliant with: EN IEC 60079-0; General Requirements EN IEC 60079-7; Explosive Atmospheres, Protection “e” II 3 G Ex ec IIC T4 Gc DEMKO 04 ATEX 0330347X UL22UKEX2478X |
| KC | Korean Registration of Broadcasting and Communications Equipment, compliant with: Article 58-2 of Radio Waves Act, Clause 3 |
| EAC | Russian Customs Union TR CU 020/2011 EMC Technical Regulation |
| Morocco | Arrêté ministériel n° 6404-15 du 29 ramadan 1436 䔂ⵖ䚍❡ㅷ雩霆㹊倶錞ⴭ 旘歏孞 |
| CCC | CNCA-C23-01 CNCA-C23-01 CCC Implementation Rule Explosion-Proof Electrical Products CCC: 2020122309111607 |
| IECEx | IECEx System, compliant with: IEC 60079-0; General Requirements IEC 60079-7; Explosive Atmospheres, Protection “e” II 3 G Ex ec IIC T4 Gc IECEx UL 20.0072X |
Rockwell Automation Support
Use these resources to access support information.
| Technical Support Center | Find help with how-to videos, FAQs, chat, user forums, Knowledgebase, and product notification updates. | rok.auto/support |
| Local Technical Support Phone Numbers | Locate the telephone number for your country. | rok.auto/phonesupport |
| Technical Documentation Center | Quickly access and download technical specifications, installation instructions, and user manuals. | rok.auto/techdocs |
| Literature Library | Find installation instructions, manuals, brochures, and technical data publications. | rok.auto/literature |
| Product Compatibility and Download Center (PCDC) | Download firmware, associated files (such as AOP, EDS, and DTM), and access product release notes. | rok.auto/pcdc |
Documentation Feedback
Your comments help us serve your documentation needs better. If you have any suggestions on how to improve our content, complete the form at rok.auto/docfeedback.
Waste Electrical and Electronic Equipment (WEEE)
At the end of life, this equipment should be collected separately from any unsorted municipal waste.
Rockwell Automation maintains current product environmental compliance information on its website at rok.auto/pec.
CONTACT LIST
- AMERICAS:
- Rockwell Automation, 1201 South Second Street, Milwaukee, WI 53204-2496 USA,
- Tel: (1) 414.382.2000,
- Fax: (1) 414 .382.4444
- EUROPE/MIDDLE EAST/AFRICA:
- Rockwell Automation NV, Pegasus Park, De Kleetlaan 12a, 1831 Diegem, Belgium,
- Tel : (32) 2 663 0600,
- Fax: (32) 2 663 0640
- ASIA PACIFIC:
- Rockwell Automation, Level 14, Core F, Cyberport 3, 100 Cyberport Road, Hong Kong,
- Tel: (852) 2887 4788,
- Fax: (852) 25081846
- UNITED KINGDOM :
- Rockwell Automation Ltd. Pitfield, Kiln Farm Milton Keynes, MK113DR, United Kingdom,
- Tel : (44)(1908) 838-800,
- Fax: (44)(1908) 261-917
References
Product Certifications | Rockwell Automation
Publication Feedback Form | Rockwell Automation
Literature Library | Rockwell Automation
Product Compatibility & Download Center from Rockwell Automation
Product Environmental Compliance | Rockwell Automation
Phone/Onsite Support
Support | Rockwell Automation
Technical Documentation Center | Rockwell Automation
Rockwell Automation (@rokautomation) • Instagram photos and videos
Select a Region | Rockwell Automation























