Allen-Bradley 1734-OW2 POINT I/O 2 and 4 Relay Output Modules

Summary of Changes
This publication contains the following new or updated information. This list includes substantive updates only and is not intended to reflect all changes.
Topic | Page |
| Updated template | throughout |
Updated IEC Hazardous Location Approval | 3 |
| Updated UK and European Hazardous Location Approval | |
Updated Special Conditions for Safe Use | 4 |
| Updated General Specifications | |
Updated Environmental Specifications | 13 |
| Updated Certifications |
ATTENTION: Read this document and the documents listed in the Additional Resources section about installation, configuration and operation of this equipment before you install, configure, operate or maintain this product. Users are required to familiarize themselves with installation and wiring instructions in addition to requirements of all applicable codes, laws, and standards.
Activities including installation, adjustments, putting into service, use, assembly, disassembly, and maintenance are required to be carried out by suitably trained personnel in accordance with applicable code of practice. If this equipment is used in a manner not specified by the manufacturer, the protection provided by the equipment may be impaired.
Environment and Enclosure
ATTENTION: This equipment is intended for use in a Pollution Degree 2 industrial environment, in overvoltage Category II applications (as defined in EN/IEC 60664-1), at altitudes up to 2000 m (6562 ft) without derating.
This equipment is not intended for use in residential environments and may not provide adequate protection to radio communication services in such environments.
This equipment is supplied as open-type equipment for indoor use. It must be mounted within an enclosure that is suitably designed for those specific environmental conditions that will be present and appropriately designed to prevent personal injury resulting from accessibility to live parts. The enclosure must have suitable flame-retardant properties to prevent or minimize the spread of flame, complying with a flame spread rating of 5VA or be approved for the application if nonmetallic. The interior of the enclosure must be accessible only by the use of a tool. Subsequent sections of this publication may contain more information regarding specific enclosure type ratings that are required to comply with certain product safety certifications.
In addition to this publication, see the following:
- Industrial Automation Wiring and Grounding Guidelines, publication 1770-4.1, for more installation requirements.
- NEMA Standard 250 and EN/IEC 60529, as applicable, for explanations of the degrees of protection provided by enclosures.
Preventing Electrostatic Discharge
ATTENTION: This equipment is sensitive to electrostatic discharge, which can cause internal damage and affect normal operation. Follow these guidelines when you handle this equipment:
- Touch a grounded object to discharge potential static.
- Wear an approved grounding wrist strap.
- Do not touch connectors or pins on component boards.
- Do not touch circuit components inside the equipment.
- Use a static-safe workstation, if available.
- Store the equipment in appropriate static-safe packaging when not in use.
North American Hazardous Location Approval
The following information applies when operating this equipment in hazardous locations:
Products marked “CL I, DIV 2, GP A, B, C, D” are suitable for use in Class I Division 2 Groups A, B, C, D, Hazardous Locations and nonhazardous locations only. Each product is supplied with markings on the rating nameplate indicating the hazardous location temperature code. When combining products within a system, the most adverse temperature code (lowest “T” number) may be used to help determine the overall temperature code of the system. Combinations of equipment in your system are subject to investigation by the local Authority Having Jurisdiction at the time of installation.
EXPLOSION HAZARD
- Do not disconnect equipment unless power has been removed or the area is known to be nonhazardous.
- Do not disconnect connections to this equipment unless power has been removed or the area is known to be nonhazardous. Secure any external connections that mate to this equipment by using screws, sliding latches, threaded connectors, or other means provided with this product.
- Substitution of components may impair suitability for Class I, Division 2.
IEC Hazardous Location Approval
The following applies to products with IECEx certification:
- Are intended for use in areas in which explosive atmospheres caused by gases, vapors, mists, or air are unlikely to occur, or are likely to occur only infrequently and for short periods. Such locations correspond to Zone 2 classification to IEC 60079-0.
- The type of protection is Ex ec nC IIC T4 Gc according to IEC 60079-0, IEC 60079-15, and IEC 60079-7.
- Comply to Standards IEC 60079-0, Explosive atmospheres ‐ Part 0: Equipment ‐ General requirements, Edition 7, Revision Date 2017, IEC 60079-15, ELECTRICAL APPARATUS
FOR EXPLOSIVE GAS ATMOSPHERES – PART 15: CONSTRUCTION, TEST AND MARKING OF TYPE OF PROTECTION “N”, Edition 5, Issue Date 12/2017, and IEC 60079-7, 5.1 Edition revision date 2017, Explosive atmospheres – Part 7: Equipment protection by increased safety “e”, reference IECEx certificate number IECEx UL 20.0072X. - May have catalog numbers followed by a “K” to indicate a conformal coating option.
UK and European Hazardous Location Approval
The following applies to products marked
II 3 G:
- Are intended for use in potentially explosive atmospheres as defined by UKEX regulation 2016 No. 1107 and European Union Directive 2014/34/EU and has been found to comply with the Essential Health and Safety Requirements relating to the design and construction of Category 3 equipment intended for use in Zone 2 potentially explosive atmospheres, given in Schedule 1 of UKEX and Annex II of this Directive.
- Compliance with the Essential Health and Safety Requirements has been assured by compliance with EN IEC 60079-7, EN IEC 60079-15, and EN IEC 60079-0.
- Are Equipment Group II, Equipment Category 3, and comply with the Essential Health and Safety Requirements relating to the design and construction of such equipment given in Schedule 1 of UKEX and Annex II of EU Directive 2014/34/EU. See the UK Ex and EU Declaration of Conformity at rok. auto/certifications for details.
- The type of protection is Ex ec nC IIC T4 Gc according to EN IEC 60079-0:2018, EXPLOSIVE ATMOSPHERES – PART 0: EQUIPMENT – GENERAL REQUIREMENTS, Issue Date 07/2018, CENELEC EN IEC 60079-15, Explosive atmospheres ‐ Part 15: Equipment protection by type of protection “n”, Issue Date 04/2019, and CENELEC EN IEC 60079-7:2015+A1:2018, Explosive atmospheres. Equipment protection by increased safety “e”.
- Comply to Standard EN IEC 60079-0:2018, EXPLOSIVE ATMOSPHERES – PART 0: EQUIPMENT – GENERAL REQUIREMENTS, Issue Date 07/2018, CENELEC EN IEC 60079-15, Explosive
atmospheres ‐ Part 15: Equipment protection by type of protection “n”, Issue Date 04/2019, and CENELEC EN IEC 60079 7:2015+A1:2018 Explosive atmospheres. Equipment protection by increased safety “e”, reference certificate number DEMKO 04 ATEX 0330347X and UL22UKEX2478X. - Are intended for use in areas in which explosive atmospheres caused by gases, vapors, mists, or air are unlikely to occur, or are likely to occur only infrequently and for short periods. Such locations correspond to Zone 2 classification according to UKEX regulation 2016 No. 1107 and ATEX directive 2014/34/EU.
- May have catalog numbers followed by a “K” to indicate a conformal coating option.
WARNING: Special Conditions for Safe Use:
- This equipment is not resistant to sunlight or other sources of UV radiation.
- This equipment shall be mounted in an UKEX/ATEX/IECEx Zone 2 certified enclosure with a minimum ingress protection rating of at least IP54 (in accordance with EN/IEC 60079-0) and used in an environment of not more than Pollution Degree 2 (as defined in EN/IEC 60664-1) when applied in Zone 2 environments. The enclosure must be accessible only by the use of a tool.
- This equipment shall be used within its specified ratings defined by Rockwell Automation.
- Transient protection shall be provided that is set at a level not exceeding 140% of the peak rated voltage at the supply terminals to the equipment.
- The instructions in the user manual shall be observed.
- This equipment must be used only with UKEX/ATEX/IECEx certified Rockwell Automation backplanes.
- Earthing is accomplished through mounting of modules on rail.
- Devices shall be used in an environment of not more than Pollution Degree 2.
- For Module 1734-OW2, the conductors must be used with minimum conductor temperature rating of 85 °C.
ATTENTION:
- If this equipment is used in a manner not specified by the manufacturer, the protection provided by the equipment may be impaired.
- Read this document and the documents listed in the Additional Resources section about installation, configuration, and operation of this equipment before you install, configure, operate, or maintain this product. Users are required to familiarize themselves with installation and wiring instructions in addition to requirements of all applicable codes, laws, and standards.
- Installation, adjustments, putting into service, use, assembly, disassembly, and maintenance are required to be carried out by suitably trained personnel in accordance with applicable code of practice.
- In case of malfunction or damage, no attempts at repair should be made. The module should be returned to the manufacturer for repair. Do not dismantle the module.
- This equipment is certified for use only within the surrounding air temperature range of -20…+55 °C (-4…+131 °F). The equipment must not be used outside of this range.
- Use only a soft dry anti-static cloth to wipe down equipment. Do not use any cleaning agents.
WARNING:
- Secure any external connections that mate to this equipment by using screws, sliding latches, threaded connectors, or other means provided with this product.
- Do not disconnect equipment unless power has been removed or the area is known to be nonhazardous.
- The Maximum Continuous Operating Temperature of the relay seal is 135 °C. It is recommended that the User periodically inspect these devices for any degradation of properties and replace the module if degradation is found.
WARNING: Exposure to some chemicals may degrade the sealing properties of materials used in the following devices: Relay K2 and K4, Epoxy for 1734-OW2, and Relay K1 through K4, Epoxy for 1734-OW4 and 1734-OW4K.
We recommend that you periodically inspect these devices for any degradation of properties and replace the module if degradation is found.
WARNING: Exposure to some chemicals may degrade the sealing properties of materials used in the following devices: Relay K2 and K4, Epoxy for 1734-OW2, and Relay K1 through K4, Epoxy for 1734-OW4 and 1734-OW4K.
We recommend that you periodically inspect these devices for any degradation of properties and replace the module if degradation is found.
Before You Begin
Note that the POINT I/O™ series C product can be used with the following:
- Device Net® and PROFIBUS adapters
- ControlNet® and Ether Net/IP™ adapters, using Studio 5000 Logix Designer® software, version 11 or later.
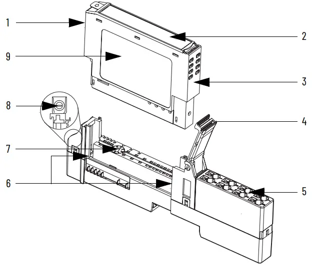
See Figure 1 and Figure 2 to familiarize yourself with major parts of the module, noting that the wiring base assembly is one of the following:
- 1734-TB or 1734-TBS POINT I/O two-piece terminal base, which includes the 1734-RTB or 1734-RTBS removable terminal block, and 1734-MB mounting base.
- 1734-TOP or 1734-TOPS POINT I/O one-piece terminal base.
Figure 1 – POINT I/O Module with 1734-TB or 1734-TBS Base
No | Description |
1 | Module locking mechanism |
| 2 | Slide-in writable label |
3 | Insertable I/O module |
| 4 | Removable terminal block (RTB) handle |
5 | Removable terminal block with screw (1734-RTB) or spring clamp (1734-RTBS) |
| 6 | 1734-TB or 1734-TBS mounting base |
7 | Interlocking side pieces |
| 8 | Mechanical keying (orange) |
9 | DIN rail locking screw (orange) |
| 10 | Module wiring diagram |
Figure 2 – POINT I/O Module with 1734-TOP or 1734-TOPS Base

No | Description |
1 | Module locking mechanism |
| 2 | Slide-in writable label |
3 | Insertable I/O module |
| 4 | Removable terminal block (RTB) handle |
5 | One-piece terminal base with screw (1734-TOP) or spring clamp (1734-TOPS) |
| 6 | Interlocking side pieces |
7 | Mechanical keying (orange |
| 8 | DIN rail locking screw (orange) |
9 | Module wiring diagram |
Install the Mounting Base
To install the mounting base on the DIN rail (Allen-Bradley® part number 199-DR1; 46277-3; EN50022), proceed as follows.
ATTENTION: This product is grounded through the DIN rail to chassis ground. Use zinc plated chromate-passivated steel DIN rail to assure proper grounding.
The use of other DIN rail materials (for example, aluminum or plastic) that can corrode, oxidize, or are poor conductors, can result in improper or intermittent grounding. Secure DIN rail to mounting surface approximately every 200 mm (7.8 in.) and use end-anchors appropriately. Be sure to ground the DIN rail properly. See Industrial Automation Wiring and Grounding Guidelines, Rockwell Automation publication 1770-4.1, for more information.
WARNING: When used in a Class I, Division 2, hazardous location, this equipment must be mounted in a suitable enclosure with proper wiring method that complies with the governing electrical codes.
- Position the mounting base vertically above the installed units (adapter, power supply or existing module).

- Slide the mounting base down allowing the interlocking side pieces to engage the adjacent module or adapter.
- Press firmly to seat the mounting base on the DIN rail. The mounting base snaps into place.
Install the Module
The module can be installed before or after base installation. Make sure that the mounting base is correctly keyed before installing the module into the mounting base. In addition, make sure the mounting base locking screw is positioned horizontal referenced to the base.
WARNING: When you insert or remove the module while backplane power is on, an electrical arc can occur. This could cause an explosion in hazardous location installations.
Be sure that power is removed or the area is nonhazardous before proceeding. Repeated electrical arcing causes excessive wear to contacts on both the module and its mating connector. Worn contacts may create electrical resistance that can affect module operation.
To install the module, proceed as follows.
- Use a bladed screwdriver to rotate the key switch on the mounting base clockwise until the number required for the type of module you are installing aligns with the notch in the base.
- Make certain the DIN rail locking screw is in the horizontal position. You cannot insert the module if the locking mechanism is unlocked.

6 Rockwell Automation Publication 1734-IN055J-EN-E – September 2022 - Insert the module straight down into the mounting base and press to secure. The module locks into place.

Install the Removable Terminal Block
A Removable Terminal Block (RTB) is supplied with your wiring base assembly. To remove, pull up on the RTB handle. This allows the mounting base to be removed and replaced as necessary without removing any of the wiring. To reinsert the Removable Terminal Block, proceed as follows:
WARNING: When you connect or disconnect the Removable Terminal Block with field side power applied, an electrical arc can occur. This could cause an explosion in hazardous location installations.
Be sure that power is removed or the area is nonhazardous before proceeding
- Insert the end opposite the handle into the base unit. This end has a curved section that engages with the wiring base.
- Rotate the terminal block into the wiring base until it locks itself in place.
- If an I/O module is installed, snap the RTB handle into place on the module.

WARNING: For 1734-RTBS and 1734-RTB3S, to latch and un-latch the wire, insert a bladed screwdriver (catalog number 1492-N90 – 3 mm diameter blade) into the opening at approximately 73° (blade surface is parallel with top surface of the opening) and push up gently.
WARNING: For 1734-TOPS and 1734-TOP3S, to latch and un-latch the wire, insert a bladed screwdriver (catalog number 1492-N90 – 3 mm diameter) into the opening at approximately 97° (blade surface is parallel with top surface of the opening) and press in (do not push up or down).
Remove a Mounting Base
To remove a mounting base, you must remove any installed module, and the module installed in the base to the right. Remove the Removable Terminal Block, if wired.
WARNING: When you insert or remove the module while backplane power is on, an electrical arc can occur. This could cause an explosion in hazardous location installations.
Be sure that power is removed or the area is nonhazardous before proceeding. Repeated electrical arcing causes excessive wear to contacts on both the module and its mating connector. Worn contacts may create electrical resistance that can affect module operation.
WARNING: When you connect or disconnect the Removable Terminal Block (RTB) with field-side power applied, an electrical arc can occur. This can cause an explosion in hazardous location installations.
Be sure that power is removed or the area is nonhazardous before proceeding.
- Unlatch the RTB handle on the I/O module.
- Pull on the RTB handle to remove the removable terminal block.
- Press on the module lock on the top of the module.
- Pull on the I/O module to remove from the base.
- Repeat steps 1, 2, 3 and 4 for the module to the right.
- Use a small bladed screwdriver to rotate the orange, base locking screw to a vertical position. This releases the locking mechanism.
- Lift straight up to remove.
Wire the Module
WARNING: If you connect or disconnect wiring while the field-side power is on, an electrical arc can occur. This could cause an explosion in hazardous location installations. Be sure that power is removed or the area is nonhazardous before proceeding.
POINT I/O Module

Relay contacts are not directly powered by the internal power bus. Load power from the internal power bus is available for the 1734-OW2 only. Connect to pins 6 and 7 for V supply, and to pins 4 and 5 for V common.
1734-OW2 – Load Powered by Internal Power Bus

1734-OW4, 1734-OW4K – Load Powered by External Power Bus

Load power must be provided by an external power source for the 1734-OW4 and 1734-OW4K. The 1734-OW4 and 1734-OW4K cannot be powered from the internal power bus.
Channel | Output |
| 0A | 0 |
0B | 2 |
| 1A | 1 |
1B | 3 |
| 2A | 4 |
2B | 6 |
| 3A | 5 |
3B | 7 |
ATTENTION:
- The power supply voltage may be daisy chained from a 1734 adapter, 1734-FPD or 1734-EP24DC communication interface. Each channel is individually isolated and may have a unique supply and/or voltage as necessary.
- Do not attempt to increase load current or wattage capability beyond the maximum rating by connecting two or more outputs in parallel. The slightest variation in relay switching time may cause one relay to momentarily switch the total load current.
- Make sure that all relay wiring is properly connected before applying any power to the module.
- Total current draw through the wiring base unit is limited to 10 A. Separate power connections to the terminal base unit may be necessary.
- Use the end cap from your adapter or interface module to cover the exposed interconnections on the last mounting base on the DIN rail. Failure to do so could result in equipment damage or injury from electric shock.
Wire with AC Modules

Wire Using a 1734-FPD

Wire Using External Power Source for AC Relay Power

Communicate with the Module
POINT I/O modules send (consume) and receive (produce) I/O data (messages). You map this data onto the processor memory.
These output modules do not produce input data (scanner Rx). These modules consume 1 byte of I/O data (scanner Tx).
Default Data Map for 1734-OW2
| 7 | 6 | 5 | 4 | 3 | 2 | 1 | 0 | ||
| Consumes (scanner Tx) | Not used | Ch1 | Ch0 | Channel state | |||||
Default Data Map for 1734-OW4, 1734-OW4K
Message size: 1 Byte
| 7 | 6 | 5 | 4 | 3 | 2 | 1 | 0 | ||
| Consumes (scanner Tx) | Not used | Ch3 | Ch2 | Ch1 | Ch0 | Channel state | |||
Interpret Status Indicators
See Figure 3 and Table 1 for information on how to interpret the status indicators.
Figure 3 – Status Indicators for POINT I/O 2 and 4 Relay Output Modules

Rockwell Automation Publication 1734-IN055J-EN-E – September 2022 11
Status | Description | |
Module status | Off | No power applied to device. |
Flashing green | Device needs commissioning due to missing, incomplete, or incorrect configuration. | |
| Green | Device operating normally. | |
Flashing red | Recoverable fault. | |
Red | Unrecoverable fault occurred. Self-test failure present (checksum failure or ramtest failure at cycle power). Firmware fatal error present. | |
Flashing red/green | Device is in self-test mode. | |
Network status | Off | Device is not online: – Device has not completed dup_ MAC-id test. – Device not powered – check module status indicator. |
| Flashing green | Device is online but has no connections in the established state. | |
Green | Device is online and has connections in the established state. | |
| Flashing red | One or more I/O connections are in timed-out state. | |
Red | Critical link failure – failed communication device. Device detected error that prevents it from communicating on the network. | |
| Flashing red/green | Communication faulted device – the device has detected a network access error and is in communication faulted state. Device has received and accepted an Identity Communication Faulted Request – long protocol message. | |
I/O status | Off | Outputs off. |
| Yellow | Outputs on. |
Specifications
General Specifications
Attribute | Value |
Outputs per module | 2 Form A isolated (normally open) electromechanical relays – 1734-OW2 4 Form A isolated (normally open) electromechanical relays – 1734-OW4, 1734-OW4K |
| Off-state leakage current, max | 1.2 mA @ 240V AC, and bleed resistor through snubber circuit |
Terminal base screw torque | Determined by the installed terminal block. |
| Power consumption | 0.8 W |
Power dissipation, max | 0.5 W |
| Backplane power | 5V DC, 80 mA – 1734-OW2 |
Contact rating(1) | 120/240V AC, 2.0 A @ 50/60 Hz(2) 1800 VA make, 180 VA break(3) 5…30V DC, 2.0 A, R150 |
| Isolation voltage | 250V, tested @ 2550V DC for 60 s, field-side to system, and between contact sets |
Switching frequency, max | 1 operation/3 s (0.3 Hz @ rated load) |
| Expected life of electrical contacts, min | 100,000 operations @ rated load |
Wiring category(4)(5) | 1 – on signal ports |
| Wire size | 0.25…2.5 mm2 (22…14 AWG) solid or stranded copper wire rated at 85 °C (185 °F), or greater, 1.2 mm (3/64 in.) insulation max |
Enclosure type rating | None (open-style) |
| Pilot duty rating | R150 |
North American temp code | T4A |
UKEX/ATEX temp code | T4 |
| IECEx temp code | T4 |
- Surge Suppression – Connecting surge suppressors across your external inductive load will extend the life of the module. For additional details, see the Industrial Automation Wiring and Grounding Guidelines, Allen-Bradley publication 1770-4.1
- The module complies to Ex when used at or below 120V AC.
- For maximum rating at voltages between the maximum design value and 120V, the maximum make and break ratings are to be obtained by dividing the volt-amperes rating by the application voltage. For voltages below 120V, the maximum make current is to be the same as for 120V, and the maximum break current is to be obtained by dividing the break volt-amperes by the application voltage, but these currents are not to exceed 2 A.
- Use this conductor category information for planning conductor routing as described in Industrial Automation Wiring and Grounding Guidelines, publication 1770-4.1.
- Use this Conductor Category information for planning conductor routing as described in the appropriate System Level Installation Manual.
Environmental Specifications
Attribute | Value |
Temperature, operating | IEC 60068-2-1 (Test Ad, Operating Cold), |
Temperature, surrounding air, max. | 55 °C (131 °F) |
Temperature, nonoperating | IEC 60068-2-1 (Test Ab, Unpackaged Nonoperating Cold), |
Relative humidity | IEC 60068-2-30 (Test Db, Unpackaged Damp Heat): 5…95% noncondensing |
| Vibration | IEC 60068-2-6, (Test Fc, Operating): 5 g @ 10…500 Hz |
Shock, operating | IEC 60068-2-27 (Test Ea, Unpackaged Shock): 30 g |
| Shock, nonoperating | IEC 60068-2-27 (Test Ea, Unpackaged Shock): 50 g |
Emissions | IEC 61000-6-4 |
| ESD immunity | IEC 61000-4-2: 6 kV contact discharges 8 kV air discharges |
Radiated RF immunity | IEC 61000-4-3: 10V/m with 1 kHz sine-wave 80% AM from 80…6000 MHz |
| EFT/B immunity | IEC 61000-4-4: ±4 kV @ 2.5 kHz on signal ports |
Surge transient immunity | IEC 61000-4-5: ±1 kV line-line (DM) and ±2 kV line-earth (CM) on signal ports |
| Conducted RF immunity | IEC 61000-4-6: 10V rms with 1 kHz sine-wave 80%AM @ 150 kHz…80 MHz |
North American temp code | T4A |
UKEX/ATEX temp code | T4 |
| IECEx temp code | T4 |
Certifications
Certification (when product is marked)(1) | Value |
c-UL-us | UL Listed Industrial Control Equipment, certified for US and Canada. See UL File E65584. |
UK and CE | UK Statutory Instrument 2016 No. 1091 and European Union 2014/30/EU EMC Directive, compliant with: EN 61326-1; Meas./Control/Lab., Industrial Requirements UK Statutory Instrument 2016 No. 1101 and European Union 2014/35/EU LVD, compliant with: EN 61131-2; Programmable Controllers (Clause 11) UK Statutory Instrument 2012 No. 3032 and European Union 2011/65/EU RoHS, compliant with: EN IEC 63000; Technical documentation |
| RCM | Australian Radiocommunications Act, compliant with: AS/NZS CISPR 11; Industrial Emissions |
Ex | UK Statutory Instrument 2016 No. 1107 and European Union 2014/34/EU ATEX Directive, compliant with: EN IEC 60079-0; General Requirements |
IECEx | IECEx System, compliant with: |
KC | Korean Registration of Broadcasting and Communications Equipment, compliant with: Article 58-2 of Radio Waves Act, Clause 3 |
| EAC | Russian Customs Union TR CU 020/2011 EMC Technical Regulation Russian Customs Union TR CU 004/2011 LV Technical Regulation |
Morocco | Arrêté ministériel n° 6404-15 du 1 er muharram 1437 Arrêté ministériel n° 6404-15 du 29 ramadan 1436 |
| CCC | CNCA-C23-01 䔂ⵖ䚍❡ㅷ雩霆㹊倶錞ⴭ 旘歏孞 |
- See the Product Certification link at rok.auto/certifications for Declaration of Conformity, Certificates, and other certification details.
Rockwell Automation Support
Use these resources to access support information.
Technical Support Center | Find help with how-to videos, FAQs, chat, user forums, Knowledgebase, and product notification updates. | |
Local Technical Support Phone Numbers | Locate the telephone number for your country. | rok.auto/phonesupport |
| Technical Documentation Center | Quickly access and download technical specifications, installation instructions, and user manuals. | |
Literature Library | Find installation instructions, manuals, brochures, and technical data publications. | rok.auto/literature |
| Product Compatibility and Download Center (PCDC) | Download firmware, associated files (such as AOP, EDS, and DTM), and access product release notes. |
Documentation Feedback
Your comments help us serve your documentation needs better. If you have any suggestions on how to improve our content, complete the form at rok.auto/docfeedback.
Waste Electrical and Electronic Equipment (WEEE)
At the end of life, this equipment should be collected separately from any unsorted municipal waste.
Rockwell Automation maintains current product environmental compliance information on its website at rok.auto/pec.
Rockwell Otomasyon Ticaret A.Ş. Kar Plaza İş Merkezi E Blok Kat:6 34752 İçerenköy, İstanbul, Tel: +90 (216) 5698400 EEE Yönetmeliğine Uygundur.
Connect with us. 
rockwellautomation.com expanding human possibility
AMERICAS: Rockwell Automation, 1201 South Second Street, Milwaukee, WI 53204-2496 USA, Tel: (1) 414.382.2000, Fax: (1) 414.382.4444
EUROPE/MIDDLE EAST /AFRICA: Rockwell Automation NV, Pegasus Park, De Kleetlaan 12a, 1831 Oiegem, Belgium, Tel: (32) 2 663 0600, Fax: (32) 2 663 0640
ASIA PACIFIC: Rockwell Automation, Level 14, Core F, Cyberport 3, 100 Cyberport Road, Hong Kong, Tel: (852)2887 4788, Fax: (852)25081846
UNITED KINGDOM: Rockwell Automation Ltd. Pitfield, Kiln Farm Milton Keynes, MK113DR, United Kingdom, Tel: (44)(1908) 838-800, Fax: (44)(1908) 261-917.
Allen Bradley, expanding human possibility, Factory Talk, POINT 1/0, Rockwell Automation, Studio 5000 Logix Designer, and TechConnect are trademarks of Rockwell Automation, Inc.
Cootro!Net 0eviceNet and EtherNeUIP are trademarks of 00VA, Inc.
Trademarks not belonging to Rockwell Automation are property of their respective companies.
Publication 1734-IN055J-EN-E – September 20221 Supersedes Publication 1734-IN0551-EN-E – December 2018

References
Product Certifications | Rockwell Automation
Publication Feedback Form | Rockwell Automation
Literature Library | Rockwell Automation
Product Compatibility & Download Center from Rockwell Automation
Product Environmental Compliance | Rockwell Automation
Phone/Onsite Support
Support | Rockwell Automation
Rockwell Automation (@rokautomation) • Instagram photos and videos
Select a Region | Rockwell Automation
Product Certifications | Rockwell Automation





















