STANLEY ID07 Impact Drill/Wrench
PRODUCT OVERVIEW

ASSEMBLE


| ID07 Parts Illustration – Detail F | ||
| ITEM | P/N | DESCRIPTION |
| 1 | 05117 | 7/16 Inch Hex Adapter |
| 2 | 62229 | Cap Screw |
| 3 | 09623 | Lock Washer |
| 4 | 74678 | Tool Name Tag |
| 5 | 11207 | Circuit Type “D” Decal |
| 6 | 11354 | Open Center / Closed Center Decal |
| 7 | 01205 | O-ring* |
| 8 | 30704 | Spacer |
| 9 | 20761 | Bearing Race |
| 10 | 06635 | Retaining Ring |
| 11 | 20767 | Seal Back-up Washer |
| 12 | 13995 | Back-up Ring* |
| 13 | 00354 | O-ring* |
| 14 | 32029 | Pilot Ring |
| 15 | 28323 | CE Decal (CE Models) |
| 58862 | Pressure Warning Decal (Non-CE Models) | |
| 16 | 88348 | Read the Manual Decal (CE Models) |
| 17 | 66653 | Sound Power Decal – Model ID0781501 |
| 29530 | Sound Power Decal – Models ID0782001, ID0792001 | |
| 58864 | Electrical Warning Decal – (Non-CE Models) | |
| 18 | 29149 | Rotation Direction Decal |
| 19 | 58718 | Coupler Set – Models ID0781501, ID782001 |
| 03971 | Coupler Set – Models ID07810S, ID0781506, ID07815AS, ID07830K, ID0792001 | |
| 81160 | Coupler Set – Models ID07815AB, ID07810B | |
| 03971 | Coupler Set – Model ID0781010 | |
| 20 | 00936 | Adapter – Models ID07810, ID07810M, ID07815, ID0781506, ID077820, ID07830 |
| 21 | 20762 | Bearing |
| 22 | 07724 | Nylock Nut – Models ID07810B, ID07810S, ID07815, ID0781501, ID0781506, ID07815AB, ID07815AS, ID0782001, ID0792001 |
| 23 | 09687 | Cap Screw – Models ID07810B, ID07810S, ID07815, ID0781501, ID0781506, ID07815AB, ID07815AS, ID0782001, ID0792001 |
| 24 | 60710 | Trigger Guard – Models ID07810B, ID07810S, ID07815, ID0781501, ID0781506, ID07815AB, ID07815AS, ID0782001, ID0792001 |
| 25 | 56725 | Hose Assembly (not shown) – Models ID07810S, ID07815AS |
| 66727 | Hose Assembly (not shown) – Models ID07810B, ID07815AB | |
| 65617 | Hose Assembly (not shown) – Model ID0781010 | |
| 26 | 60791 | ID07 Seal Kit (not shown) (* In seal kit) |

| ID07 Trigger & Motor Parts Illustration – Detail G | ||
| ITEM | P/N | DESCRIPTION |
| 1 | 62229 | Cap Screw |
| 2 | 09623 | Lock Washer |
| 3 | 07970 | Roll Pin |
| 4 | 60678 | Trigger Mount |
| ID07 Trigger & Motor Parts Illustration – Detail G | ||
| ITEM | P/N | DESCRIPTION |
| 5 | 60677 | Trigger |
| 6 | 49139 | Seal Wiper* |
| 7 | 01262 | O-ring* |
| 8 | 20788 | Main Shaft |
| 9 | 20758 | Bushing |
| 10 | 05207 | Bushing |
| 11 | 20770 | Motor Cap Assembly (Includes 1x 05207, 2x 00713) |
| 12 | 18206 | Cap Screw |
| 13 | 00231 | Lock Washer |
| 14 | 00713 | Dowel Pin |
| 15 | 20769 | Idler Gear Assembly |
| 16 | 31246 | Idler Shaft |
| 17 | 31665 | Spring |
| 18 | 31299 | Plunger |
| 19 | 60791 | ID07 Seal Kit (not shown) (* in seal kit) |

| ID07 Trigger Valve Parts Illustration – Detail H | ||
| ITEM | P/N | DESCRIPTION |
| 1 | 56721 | Relief Cartridge |
| 2 | 07627 | O-ring* |
| 3 | 48986 | Valve Spool Assembly |
| 4 | 65480 | Spring |
| 5 | 56758 | Spring Cap |
| 6 | 350041 | Hex Plug |
| 7 | 60791 | ID07 Seal Kit (not shown) (* in seal kit) |

| ID07 Rotation Direction Valve Parts Illustration – Detail I | ||
| ITEM | P/N | DESCRIPTION |
| 1 | 56764 | Retaining Ring |
| 2 | 56757 | End Cap |
| 3 | 56747 | Seal Wiper |
| 4 | 56749 | Seal Cap |
| 5 | 01604 | O-ring* |
| 6 | 07224 | Back-up Ring* |
| 7 | 00175 | O-ring* |
| 8 | 56749 | Seal Cap |
| 9 | 01604 | O-ring* |
| 10 | 56747 | Seal Wiper |
| 11 | 56757 | End Cap |
| 12 | 56764 | Retaining Ring |
| 13 | 56765 | Reversing Spool |
| 14 | 59049 | Main Tool Housing Assembly |
| 15 | 60791 | ID07 Seal Kit (not shown) (* in seal kit) |

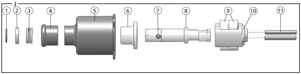
| ID07 Impact Mechanism 31894 Parts Illustration – Detail J | ||
| Models ID07810, ID07810B, ID07810S, ID07815, ID0781501, ID0781506, ID07815AB, ID07815AS | ||
| ITEM | P/N | DESCRIPTION |
| 1 | 31901 | Thrust Ring Lock |
| 2 | 31900 | Thrust Ring |
| 3 | 31899 | Spring |
| 4 | 31902 | Retaining Ring |
| 5 | 31904 | Hammer Case |
| 6 | 31903 | Hammer Case Bushing |
| 7 | 15966 | Steel Ball |
| 8 | 31898 | Anvil |
| 9 | 31897 | Hammer |
| 10 | 31896 | Hammer Frame |
| 11 | 06757 | Hammer Pin |

| ID07 Impact Mechanism 32149 Parts Illustration – Detail K | ||
| Models ID07820, ID0782001 | ||
| ITEM | P/N | DESCRIPTION |
| 1 | 31904 | Hammer Case |
| 2 | 31903 | Hammer Case Bushing |
| 3 | 08416 | Spring |
| 4 | 32151 | Retainer |
| 5 | 72900 | Anvil |
| 6 | 31896 | Hammer Frame |
| 7 | 31897 | Hammer |
| 8 | 06757 | Hammer Pin |

| ID07 Impact Mechanism 32284 Parts Illustration – Detail L | ||
| Models ID07920, ID0792001 | ||
| ITEM | P/N | DESCRIPTION |
| 1 | 31904 | Hammer Case |
| 2 | 32153 | Hammer Case Bushing |
| 3 | 08416 | Spring |
| 4 | 32151 | Retainer |
| 5 | 00012 | O-ring* |
| 6 | 72900 | Anvil |
| 7 | 31896 | Hammer Frame |
| 8 | 31897 | Hammer |
| 9 | 06757 | Hammer Pin |
| 10 | 60791 | ID07 Seal Kit (not shown) (* in seal kit) |

| ID07 Impact Mechanism 67297 Parts Illustration – Detail M | ||
| Models ID07810M | ||
| ITEM | P/N | DESCRIPTION |
| 1 | 31901 | Thrust Ring Lock |
| 2 | 31900 | Thrust Ring |
| 3 | 31899 | Spring |
| 4 | 31902 | Retaining Sleeve |
| 5 | 31904 | Hammer Case |
| 6 | 31903 | Hammer Case Bushing |
| ID07 Impact Mechanism 67297 Parts Illustration – Detail M | ||
| Models ID07810M | ||
| ITEM | P/N | DESCRIPTION |
| 7 | 15933 | Steel Ball |
| 8 | 31898 | Anvil |
| 9 | 31896 | Hammer Frame |
| 10 | 06757 | Hammer Pin |

| ID07 Impact Mechanism 67637 Parts Illustration – Detail N | ||
| Models ID07830, ID07830K | ||
| ITEM | P/N | DESCRIPTION |
| 1 | 31904 | Hammer Case |
| 2 | 31903 | Hammer Case Bushing |
| 3 | 72902 | Anvil Friction Ring |
| 4 | 72903 | O-ring |
| 5 | 72901 | Anvil |
| 6 | 31896 | Hammer Frame |
| 7 | 31897 | Hammer |
| 8 | 06757 | Hammer Pin |


PRODUCT OVERVIEW





















